Foram encontradas 40 questões.
Um determinado gás monoatômico é confinado em um recipiente de paredes adiabáticas, que possui um êmbolo com um peso fixo sobre sua superfície, mas que pode se mover sem atrito com as paredes, mantendo a pressão do gás constante em 1,5 x 105 Pa, conforme representado na figura abaixo. O volume inicial do recipiente é de 1,0 x 10-3 m3. São fornecidos a este gás 375J de energia, sem modificar o peso sobre o êmbolo, verificando um aumento no volume do recipiente para 2,0 x 10-3 m3.

Qual é a variação da energia interna do gás?
Provas
Em 1929, Edwin Hubble, baseado em observações de galáxias, propõe a teoria da expansão do universo. Ele e diversos outros astrônomos observaram que a maioria das galáxias está se afastando da terra. Para determinar a velocidade de afastamento das galáxias em relação à Terra, utilizou-se de um efeito conhecido como efeito Doppler, no qual a luz observada na Terra, proveniente de uma galáxia que está se afastando, possui um “desvio para o vermelho”.
Qual o significado do chamado “desvio para o vermelho”?
Provas
Um cristal com rede cristalina cúbica simples e parâmetro de rede 1,5 x 10-10 m é analisado pela técnica de difração de raios-X utilizando um feixe de radiação com comprimento de onda de 2,0 x 10-10 m.
Qual é o valor do seno do ângulo formado entre a direção do feixe de raios-X e a superfície do cristal, para o máximo de difração obtido devido ao plano que possui índices de Miller (1,0,0) como referência?
Provas
Em 1927, Clinton Davisson e Lester Germer realizaram um experimento cujo o resultado mostrou elétrons sendo difratados em uma rede cristalina de níquel. A figura 1 mostra simplificadamente o equipamento utilizado onde os elétrons são emitidos por um filamento aquecido, em seguida acelerados por um campo elétrico produzido por uma diferença da potencial V, indo colidir com um alvo metálico cristalino. Um detector, que pode ser posicionado em diferentes ângulos (θ), detecta a intensidade dos feixes que emergem do cristal. O gráfico da figura 2 mostra as intensidades detectadas, mantendo um dado ângulo θ fixo e fazendo variar a diferença de potencial V.

Que teoria foi confirmada pelo experimento descrito?
Provas
Deseja-se produzir a mesma variação de temperatura, sem mudança de estado físico, em quatro amostras de diferentes gases com mesma temperatura inicial: Neônio (Ne); Hidrogênio (H2); Nitrogênio (N2); e Metano (CH4). Sabe-se que as quatro amostras possuem o mesmo número de mols e ocupam volumes fixos iguais.
Para qual amostra a quantidade de energia trocada durante a variação de temperatura é menor?
Provas
Um calorímetro de capacidade térmica 40 cal/ºC possui em seu interior e em equilíbrio térmico, 400g de água a 10ºC. Em um dado instante, um corpo metálico de 300g e temperatura de 60ºC é colocado no interior do calorímetro e o sistema agitado até a obter a situação de equilíbrio térmico. A temperatura final de equilíbrio é de 16ºC. O calor específico da água é 1 cal/gºC.
Considerando-se o calorímetro ideal, qual o calor específico do metal que constitui o corpo que foi colocado no calorímetro, em cal/gºC?
Provas
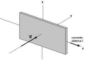
Uma placa metálica fixa é percorrida por corrente elétrica i ao mesmo tempo em que é atravessada por um campo magnético uniforme de módulo B, conforme mostrado na figura abaixo. Em situações como essa, observa-se um efeito conhecido como efeito Hall (descoberto por Edwin Hall em 1879).

O que se observa na placa, como consequência do efeito Hall?
Provas
Uma importante aplicação para o circuito Resistor-Indutor-Capacitor (RLC) é a sintonia de receptores de rádio. Para a sintonia de um sinal de rádio com uma dada frequência, é necessário que a corrente elétrica produzida por este sinal, no circuito receptor RLC, seja máxima. A frequência da corrente elétrica produzida pelo sinal no circuito tem frequência igual à do sinal e, para que ela seja máxima, o circuito deve possuir características que produzam um efeito conhecido como ressonância. Um circuito receptor RLC, com um resistor R, um indutor L e um capacitor C, é montado para realizar a sintonia de um sinal de rádio com frequência f.
Qual é o valor de f, para que o efeito de ressonância seja verificado e o sinal de rádio seja sintonizado?
Provas
Um gerador, de força eletromotriz ε e resistência interna r, é ligado aos polos de um resistor de resistência variável R e passa a fornecer uma determinada potência. O valor de R é variado ao longo do tempo, medindo a potência fornecida para cada caso.

Qual é a relação entre o valor da resistência R e o da resistência interna da bateria r, quando a potência fornecida pela bateria é máxima?
Provas
Um sistema é constituído de duas placas paralelas, carregadas com cargas de módulos iguais e sinais opostos, tendo vácuo em seu interior (constante de permissividade \( \in_0 \)) (figura 1). Nesta situação, o módulo do campo elétrico entre as placas é E e a energia armazenada é U. Em um determinado instante, um dielétrico, de permissividade \( \in = K\in_0 \), é inserido entre as placas de modo a preencher totalmente a região entre elas (figura 2). Nesta nova situação, com a carga das placas mantida constante, o campo elétrico entre as placas é E’ e a energia armazenada U’.

Quais os valores de E’ e a energia armazenada U’?
Provas
Caderno Container