Magna Concursos

Foram encontradas 40 questões.

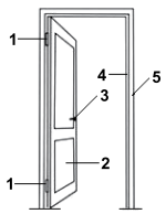
3911072 Ano: 2025
Disciplina: Edificações
Banca: VUNESP
Orgão: UNESP
Observe a figura a seguir, que mostra os principais componentes de uma porta de madeira comum:
Enunciado 4768312-1 (Arquivo pessoal; imagem usada com autorização)

A sequência de instalação recomendada é
 

Provas

Questão presente nas seguintes provas
Na embalagem da argamassa colante disponibilizada na obra aparece a denominação ACIII. Isso significa que essa argamassa é própria para colocação de revestimentos em
 

Provas

Questão presente nas seguintes provas
Para garantir um espaçamento uniforme entre as placas cerâmicas de forma prática, recomenda-se, no seu assentamento
 

Provas

Questão presente nas seguintes provas
Quando a velocidade da água em movimento dentro de uma tubulação é interrompida repentinamente, geralmente pelo fechamento rápido de uma válvula, registro ou torneira, ocorre um fenômeno denominado golpe de aríete, que pode causar danos na instalação. Uma das formas de prevenir esse problema é
 

Provas

Questão presente nas seguintes provas
Durante a manutenção preventiva das instalações elétricas de uma escola foi verificado o aquecimento excessivo de uma tomada de uso geral. Assinale a alternativa que apresenta uma das causas prováveis desse aquecimento.
 

Provas

Questão presente nas seguintes provas
A figura a seguir mostra um componente importante de um aparelho de ar-condicionado tipo split:
Enunciado 4768307-1 (Arquivo pessoal; imagem usada com autorização)

Recomenda-se que a limpeza desse componente seja feita com a utilização de
 

Provas

Questão presente nas seguintes provas
3911066 Ano: 2025
Disciplina: Edificações
Banca: VUNESP
Orgão: UNESP
Para realizar com eficiência os serviços de marcenaria é necessário utilizar a ferramenta, manual ou elétrica, adequada para cada finalidade. A serra tico-tico é especialmente indicada para
 

Provas

Questão presente nas seguintes provas
3911065 Ano: 2025
Disciplina: Edificações
Banca: VUNESP
Orgão: UNESP
Entre as diversas formas de fixação de vidros, a que reforça a segurança e proporciona boa vedação em janelas de alumínio, portas e vitrôs basculantes é a que utiliza
 

Provas

Questão presente nas seguintes provas
3911064 Ano: 2025
Disciplina: Edificações
Banca: VUNESP
Orgão: UNESP
O elemento de alvenaria que apresenta superfície regular, permitindo revestimentos mais finos, bom isolamento acústico e resistência, menor absorção de água, sendo considerado ideal para dividir ambientes ou fechar fachadas, adaptando-se a reformas e alterações é o
 

Provas

Questão presente nas seguintes provas
3911063 Ano: 2025
Disciplina: Edificações
Banca: VUNESP
Orgão: UNESP
A alvenaria de vedação de uma edificação será construída com tijolos de barro maciço de dimensões 5,5 x 11 x 22 cm. Se essa parede ficou com espessura de 33 cm antes do revestimento significa que ela foi construída na forma de
 

Provas

Questão presente nas seguintes provas