Foram encontradas 1.543 questões.
Embora os sinais sejam originalmente analógicos, como a própria natureza dos eventos, um equipamento eletrônico digital de medição, análise ou controle apresenta os valores lidos e/ou medidos em display numéricos ou alfanuméricos, sendo necessário, para realizar com eficiência a função máquina estabelecida, que o equipamento eletrônico digital possua, entre os circuitos, um conversor analógico/ digital – CAD – com etapas que realizem a amostragem do sinal, a quantização e, por fim, a codificação, sendo que a etapa da amostragem deve obedecer a alguns conceitos aplicados às técnicas de tratamento de sinais, como o Teorema de Nyquist.
Provas
Questão presente nas seguintes provas
De acordo com a NR7 – Programa de Controle Médico de Saúde Ocupacional – PCMSO, constitui-se obrigatoriedade do empregador, quanto ao seu cumprimento, homologar ou registrá-lo na Delegacia Regional do Trabalho.
Provas
Questão presente nas seguintes provas

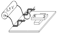
A análise da figura, que representa um arranjo experimental constituído por uma pilha, uma espira, ímãs e dois suportes metálicos, permite afirmar:
O arranjo experimental evidencia o princípio de funcionamento de um motor elétrico.
O arranjo experimental evidencia o princípio de funcionamento de um motor elétrico.
Provas
Questão presente nas seguintes provas
As embalagens de herbicidas e de inseticidas devem ser guardadas na propriedade, por cinco anos.
Provas
Questão presente nas seguintes provas
Pacientes com histórico de endocardite bacteriana, prolapso de válvula mitral com regurgitação, prótese valvular e shunts são alguns dos indivíduos que devem receber profilaxia antibiótica, quando em um tratamento periodontal invasivo.
Provas
Questão presente nas seguintes provas
A tenossinovite de Quervain, também chamada de dedo em gatilho, se refere a um processo inflamatório do tendão abdutor longo e extensor curto do polegar e é investigada pelo teste de Finkelstein.
Provas
Questão presente nas seguintes provas
A arquivística quebequense foi profundamente marcada pelas abordagens francesa e holandesa.
Provas
Questão presente nas seguintes provas
A inteligência emocional está relacionada com a capacidade de perceber, avaliar e reconhecer a emoção em si mesmo e nos outros.
Provas
Questão presente nas seguintes provas
As fundações diretas, a exemplo da sapata isolada, da sapata corrida, da viga de fundação, são aquelas em que a carga é transmitida ao solo predominantemente pela base, chamada de resistência de ponta, ou por sua superfície lateral, chamada de resistência de atrito do fuste, e são normalmente utilizadas quando os solos superficiais não apresentam capacidade de suportar elevadas cargas, como os solos rochosos e os solos expansivos.
Provas
Questão presente nas seguintes provas
Todo desenho, no papel, deve indicar a escala utilizada na legenda. Caso existam, numa mesma folha, desenhos em escalas diferentes, então se deve escrever na legenda, no campo escala, a palavra indicada e, na base direita de cada desenho, indicar a escala.
Provas
Questão presente nas seguintes provas
Cadernos
Caderno Container