Foram encontradas 90 questões.
O fitoplâncton consiste em um conjunto de organismos microscópicos encontrados em certos ambientes aquáticos. O desenvolvimento desses organismos requer luz e CO2, para o processo de fotossíntese, e requer também nutrientes contendo os elementos nitrogênio e fósforo.
Considere a tabela que mostra dados de pH e de concentrações de nitrato e de oxigênio dissolvidos na água, para amostras coletadas durante o dia, em dois diferentes pontos (A e B) e em duas épocas do ano (maio e novembro), na represa Billings, em São Paulo.
| pH |
Concentração
de nitrato
(mg/L)
|
Concentração
de oxigênio
(mg/L)
|
|
|
Ponto A
(novembro)
|
9,8 | 0,14 | 6,5 |
|
Ponto B
(novembro)
|
9,1 | 0,15 | 5,8 |
|
Ponto A
(maio)
|
7,3 | 7,71 | 5,6 |
|
Ponto B
(maio)
|
7,4 | 3,95 | 5,7 |
Com base nas informações da tabela e em seus próprios conhecimentos sobre o processo de fotossíntese, um pesquisador registrou três conclusões:
I. Nessas amostras, existe uma forte correlação entre as concentrações de nitrato e de oxigênio dissolvidos na água.
II. As amostras de água coletadas em novembro devem ter menos CO2 dissolvido do que aquelas coletadas em maio.
III. Se as coletas tivessem sido feitas à noite, o pH das quatro amostras de água seria mais baixo do que o observado.
É correto o que o pesquisador concluiu em
Provas
Questão presente nas seguintes provas
Um caminhão sobe uma ladeira com inclinação de 15º. A diferença entre a altura final e a altura inicial de um ponto determinado do caminhão, depois de percorridos 100m da ladeira, será de, aproximadamente,
Dados:
!$ \sqrt 3 \cong 1,73 !$
!$ sen^2 \left ( { \large θ \over 2}\right) = { \large 1 - cos θ \over 2} !$
Provas
Questão presente nas seguintes provas
Compare as colisões de uma bola de vôlei e de uma bola de golfe com o tórax de uma pessoa, parada e em pé. A bola de vôlei, com massa de 270 g, tem velocidade de 30 m/s quando atinge a pessoa, e a de golfe, com 45 g, tem velocidade de 60 m/s ao atingir a mesma pessoa, nas mesmas condições. Considere ambas as colisões totalmente inelásticas. É correto apenas o que se afirma em:
Provas
Questão presente nas seguintes provas
Observe a imagem e leia o texto.

Por muitos anos, as várzeas paulistanas foram uma espécie de quintal geral dos bairros encarapitados nas colinas. Serviram de pastos para os animais das antigas carroças que povoaram as ruas da cidade. Serviram de terreno baldio para o esporte dos humildes, tendo assistido a uma proliferação incrível de campos de futebol. Durante as cheias, tais campos improvisados ficam com o nível das águas até o meio das traves de gol.
Aziz Ab’Saber, 1956.
Considere a imagem e a citação do geógrafo Aziz Ab’Saber na análise das afirmações abaixo:
I. O processo de verticalização e a impermeabilização dos solos nas proximidades das vias marginais ao rio Tietê aumentam a sua susceptibilidade a enchentes.
II. A retificação de um trecho urbano do rio Tietê e a construção de marginais sobre a várzea do rio potencializaram o problema das enchentes na região.
III. A extinção da Mata Atlântica na região da nascente do rio Tietê, no passado, contribui, até hoje, para agravar o problema com enchentes nas vias marginais.
IV. A várzea do rio Tietê é um ambiente susceptível à inundação, pois constitui espaço de ocupação natural do rio durante períodos de cheias.
Está correto o que se afirma em
Provas
Questão presente nas seguintes provas
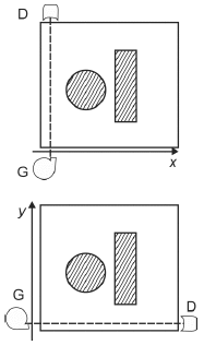
No experimento descrito a seguir, dois corpos, feitos de um mesmo material, de densidade uniforme, um cilíndrico e o outro com forma de paralelepípedo, são colocados dentro de uma caixa, como ilustra a figura ao lado (vista de cima). Um feixe fino de raios X, com intensidade constante, produzido pelo gerador G, atravessa a caixa e atinge o detector D, colocado do outro lado. Gerador e detector estão acoplados e podem mover-se sobre um trilho. O conjunto Gerador-Detector é então lentamente deslocado ao longo da direção x, registrando-se a intensidade da radiação no detector, em função de x. A seguir, o conjunto Gerador-Detector é reposicionado, e as medidas são repetidas ao longo da direção y. As intensidades I detectadas ao longo das direções x e y são mais bem representadas por

Provas
Questão presente nas seguintes provas
Os vértices de um tetraedro regular são também vértices de um cubo de aresta 2. A área de uma face desse tetraedro é
Provas
Questão presente nas seguintes provas
V – O samba
À direita do terreiro, adumbra-se* na escuridão um maciço de construções, ao qual às vezes recortam no azul do céu os trêmulos vislumbres das labaredas fustigadas pelo vento.
(...)
É aí o quartel ou quadrado da fazenda, nome que tem um grande pátio cercado de senzalas, às vezes com alpendrada corrida em volta, e um ou dois portões que o fecham como praça d’armas.
Em torno da fogueira, já esbarrondada pelo chão, que ela cobriu de brasido e cinzas, dançam os pretos o samba com um frenesi que toca o delírio. Não se descreve, nem se imagina esse desesperado saracoteio, no qual todo o corpo estremece, pula, sacode, gira, bamboleia, como se quisesse desgrudarse.
Tudo salta, até os crioulinhos que esperneiam no cangote das mães, ou se enrolam nas saias das raparigas. Os mais taludos viram cambalhotas e pincham à guisa de sapos em roda do terreiro. Um desses corta jaca no espinhaço do pai, negro fornido, que não sabendo mais como desconjuntar-se, atirou consigo ao chão e começou de rabanar como um peixe em seco. (...)
José de Alencar, Til.
(*) “adumbra-se” = delineia-se, esboça-se.
Ao comentar o romance Til e, inclusive, a cena do capítulo “O samba”, aqui reproduzida, Araripe Jr., parente do autor e estudioso de sua obra, observou que esses são provavelmente os textos em que Alencar “mais se quis aproximar dos padrões” de uma “nova escola”, deixando, neles, reconhecível que, “no momento” em que os escreveu, “algum livro novo o impressionara, levando-o pelo estímulo até superfetar* a sua verdadeira índole de poeta”. Alguns dos procedimentos estilísticos empregados na cena aqui reproduzida indicam que a “nova escola” e o “livro novo” a que se refere o crítico pertencem ao que historiadores da literatura chamaram de
(*) “superfetar” = exceder, sobrecarregar, acrescentar-se (uma coisa a outra).
Provas
Questão presente nas seguintes provas
Um aluno estava analisando a Tabela Periódica e encontrou vários conjuntos de três elementos químicos que apresentavam propriedades semelhantes.

Assinale a alternativa na qual os conjuntos de três elementos ou substâncias elementares estão corretamente associados às propriedades indicadas no quadro abaixo.
|
Números
atômicos
consecutivos
|
Reatividades
semelhantes
|
Mesmo estado
físico à
temperatura
ambiente
|
Provas
Questão presente nas seguintes provas
Quando se divide o Produto Interno Bruto (PIB) de um país pela sua população, obtém-se a renda per capita desse país. Suponha que a população de um país cresça à taxa constante de 2% ao ano. Para que sua renda per capita dobre em 20 anos, o PIB deve crescer anualmente à taxa constante de, aproximadamente, (Dado: !$ \sqrt[20]{2} \cong 1,035 !$)
Provas
Questão presente nas seguintes provas
A tabela informa a extensão territorial e a população de cada uma das regiões do Brasil, segundo o IBGE.
| Região |
Extensão territorial
(km2)
|
População
(habitantes)
|
| Centro-Oeste | 1.606.371 | 14.058.094 |
| Nordeste | 1.554.257 | 53.081.950 |
| Norte | 3.853.327 | 15.864.454 |
| Sudeste | 924.511 | 80.364.410 |
| Sul | 576.409 | 27.386.891 |
IBGE: Sinopse do Censo Demográfico 2010 e
Brasil em números, 2011.
Sabendo que a extensão territorial do Brasil é de, aproximadamente, 8,5 milhões de km2, é correto afirmar que a
Provas
Questão presente nas seguintes provas
Cadernos
Caderno Container