Foram encontradas 873 questões.

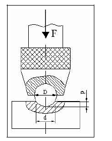
A figura acima mostra um sistema consistindo de uma esfera montada em um suporte que é utilizado para medir dureza em um ensaio Brinell. O ensaio está sendo feito em um aço-liga do tipo SAE 4140. Considerando essa figura, julgue os itens seguintes, a respeito do referido ensaio.
Um ensaio representado pela seqüência 100 HB 5/ 250 / 30 tem 100 HB de dureza Brinell e foi realizado com uma carga de 30 kgf durante um tempo de 5 s.
Provas

A figura acima mostra um sistema consistindo de uma esfera montada em um suporte que é utilizado para medir dureza em um ensaio Brinell. O ensaio está sendo feito em um aço-liga do tipo SAE 4140. Considerando essa figura, julgue os itens seguintes, a respeito do referido ensaio.
O ensaio-padrão Brinell usa uma carga de 3.000 kgf e uma esfera de 10 mm de diâmetro.
Provas

A figura acima mostra um sistema consistindo de uma esfera montada em um suporte que é utilizado para medir dureza em um ensaio Brinell. O ensaio está sendo feito em um aço-liga do tipo SAE 4140. Considerando essa figura, julgue os itens seguintes, a respeito do referido ensaio.
A dureza Brinell é a relação entre a carga F aplicada e a área da calota esférica impressa no material ensaiado.
Provas

A figura acima mostra um sistema consistindo de uma esfera montada em um suporte que é utilizado para medir dureza em um ensaio Brinell. O ensaio está sendo feito em um aço-liga do tipo SAE 4140. Considerando essa figura, julgue os itens seguintes, a respeito do referido ensaio.
A esfera usada no ensaio é de diamante para ter a dureza necessária para esse tipo de ensaio.
Provas
Um conjunto de tubos de grande diâmetro, para plataformas de petróleo, foi fabricado por calandragem e soldagem. Devido à responsabilidade da fabricação, três ensaios não-destrutivos — por líquido penetrante, partículas magnéticas e ultra-som — serão utilizados para avaliar a sanidade das soldas longitudinais dos tubos. Considerando essas informações, julgue os itens subseqüentes.
Os ensaios por líquido penetrante e partícula magnética são redundantes, pois o ensaio por ultra-som seria suficiente para avaliar toda a sanidade das soldas e dos costados dos tubos.
Provas
Um conjunto de tubos de grande diâmetro, para plataformas de petróleo, foi fabricado por calandragem e soldagem. Devido à responsabilidade da fabricação, três ensaios não-destrutivos — por líquido penetrante, partículas magnéticas e ultra-som — serão utilizados para avaliar a sanidade das soldas longitudinais dos tubos. Considerando essas informações, julgue os itens subseqüentes.
A seqüência correta para aplicação do ensaio por partícula magnética é: preparação e limpeza da superfície, magnetização da peça, aplicação das partículas magnéticas, inspeção da peça e limpeza e desmagnetização da peça.
Provas
Um conjunto de tubos de grande diâmetro, para plataformas de petróleo, foi fabricado por calandragem e soldagem. Devido à responsabilidade da fabricação, três ensaios não-destrutivos — por líquido penetrante, partículas magnéticas e ultra-som — serão utilizados para avaliar a sanidade das soldas longitudinais dos tubos. Considerando essas informações, julgue os itens subseqüentes.
Devido a sua complexidade, o ensaio por partícula magnética é bastante demorado em comparação aos outros ensaios.
Provas
Um conjunto de tubos de grande diâmetro, para plataformas de petróleo, foi fabricado por calandragem e soldagem. Devido à responsabilidade da fabricação, três ensaios não-destrutivos — por líquido penetrante, partículas magnéticas e ultra-som — serão utilizados para avaliar a sanidade das soldas longitudinais dos tubos. Considerando essas informações, julgue os itens subseqüentes.
O ensaio por ultra-som não requer medidas especiais de segurança.
Provas
Um conjunto de tubos de grande diâmetro, para plataformas de petróleo, foi fabricado por calandragem e soldagem. Devido à responsabilidade da fabricação, três ensaios não-destrutivos — por líquido penetrante, partículas magnéticas e ultra-som — serão utilizados para avaliar a sanidade das soldas longitudinais dos tubos. Considerando essas informações, julgue os itens subseqüentes.
Para verificar se o processo de calandragem dos tubos gerou trincas subsuperficiais, é correto usar os ensaios de partícula magnética e ultra-som.
Provas
Um conjunto de tubos de grande diâmetro, para plataformas de petróleo, foi fabricado por calandragem e soldagem. Devido à responsabilidade da fabricação, três ensaios não-destrutivos — por líquido penetrante, partículas magnéticas e ultra-som — serão utilizados para avaliar a sanidade das soldas longitudinais dos tubos. Considerando essas informações, julgue os itens subseqüentes.
O ensaio por líquido penetrante serve para detectar descontinuidades superficiais e subsuperficiais das soldas longitudinais.
Provas
Caderno Container