Foram encontradas 3.470 questões.
A Figura abaixo mostra um diagrama tensão x deformação típico de um aço de baixo teor de carbono.

Considerando-se a forma da curva exibida na Figura, constata-se que esse material é:
Provas
Questão presente nas seguintes provas
A estrutura de apoio de um equipamento é constituída de elementos prismáticos sob flexão (vigas).
Para esses elementos, a linha neutra é aquela em que:.
Para esses elementos, a linha neutra é aquela em que:.
Provas
Questão presente nas seguintes provas
Para se adequar aos requisitos impostos pelos regulamentos, um carro de Fórmula 1 precisa ser baixo, o que faz com que o seu motor fique localizado muito próximo ao solo, não deixando espaço para o cárter. Nesse caso, o óleo lubrificante fica armazenado em um reservatório e é bombeado para o motor. Depois de lubrificar o motor, o óleo é novamente bombeado para o reservatório.
Esse método é conhecido como lubrificação por:
Esse método é conhecido como lubrificação por:
Provas
Questão presente nas seguintes provas
No AutoCAD, o comando XLINE - ou LINHAINF -, nas versões em português, serve para criar uma linha
Provas
Questão presente nas seguintes provas
Em uma indústria mecânica, deseja-se monitorar três grandezas por meio de instrumentos apropriados: a velocidade de rotação de um eixo, a pressão em uma linha de vapor e o movimento de uma superfície plana.
As medições dessas grandezas são realizadas, respectivamente, pelos seguintes instrumentos:
As medições dessas grandezas são realizadas, respectivamente, pelos seguintes instrumentos:
Provas
Questão presente nas seguintes provas
O tipo de traçagem realizada em peças forjadas e fundidas e que se caracteriza por delimitar volumes e marcar centros é denominada traçagem
Provas
Questão presente nas seguintes provas
O descascamento na superfície de um rolamento pode ser evitado
Provas
Questão presente nas seguintes provas

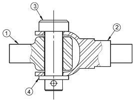
Na Figura acima, o tipo de corte dado nas peças é o
Provas
Questão presente nas seguintes provas

A vista frontal e a vista lateral esquerda, no primeiro diedro, são representadas em:
Provas
Questão presente nas seguintes provas
Uma planta industrial possui uma rede de distribuição de água quente que atende a diversos pontos de uma linha de produção.
A rede contém um trecho de um tubo de seção transversal constante, para o qual deseja-se estimar a perda de carga entre as seções (1) e (2), conforme mostrado na Figura abaixo

Para isso foram utilizados três instrumentos de medição, I 1 , I 2 e I 3 , os quais devem medir, respectivamente, as grandezasA rede contém um trecho de um tubo de seção transversal constante, para o qual deseja-se estimar a perda de carga entre as seções (1) e (2), conforme mostrado na Figura abaixo

Provas
Questão presente nas seguintes provas
Cadernos
Caderno Container