Foram encontradas 3.467 questões.

Provas
Questão presente nas seguintes provas

Provas
Questão presente nas seguintes provas

Provas
Questão presente nas seguintes provas

Provas
Questão presente nas seguintes provas

Provas
Questão presente nas seguintes provas

Provas
Questão presente nas seguintes provas
Um ensaio foi planejado para avaliar a resistência ao impacto de um aço carbono 1020 usado em um equipamento de laboratório. Foi retirada uma amostra do material e construído um corpo de prova para realizar um ensaio Charpy em temperatura ambiente. De posse do resultado, o técnico observou que o aço deveria ser usado em baixas temperaturas, abaixo de zero grau Celsius, além de submetido a cargas de impacto.
Conclui-se das informações apresentadas acima que a utilização desse aço em baixa temperatura
Provas
Questão presente nas seguintes provas
Em comparação ao aço, o alumínio, material muito empregado na
fabricação de embalagens e peças de equipamentos, apresenta
propriedades como
Provas
Questão presente nas seguintes provas

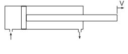
Com referência à viga engastada mostrada na figura acima, que está
submetida a uma carga vertical P = 10 kN na seção média, na qual
L = 10 m, h = b = 10 cm, e considerando que o material constituinte
dessa viga possua comportamento linear elástico e módulo de
elasticidade E = 200 MPa, julgue os próximos itens.
Provas
Questão presente nas seguintes provas

Com referência à viga engastada mostrada na figura acima, que está
submetida a uma carga vertical P = 10 kN na seção média, na qual
L = 10 m, h = b = 10 cm, e considerando que o material constituinte
dessa viga possua comportamento linear elástico e módulo de
elasticidade E = 200 MPa, julgue os próximos itens.
Provas
Questão presente nas seguintes provas
Cadernos
Caderno Container