Foram encontradas 70 questões.
Considerando que, no circuito elétrico precedente, o transformador é ideal, assinale a opção correta.
Provas
Questão presente nas seguintes provas
No diagrama unifilar precedente, que corresponde à instalação de uma subestação de 13,8 kV, o número
Provas
Questão presente nas seguintes provas
Um condutor primário de um circuito trifásico de tensão
nominal de 13,8 kV alimenta uma carga de 2,76 MVA. Para essa
instalação, o fator de agrupamento é igual a 0,97 e não há fator
de correção para a temperatura no ambiente. A seguir, são dadas
as capacidades de isolamento do XPLE (polietileno reticulado) e
do EPR (borracha de etileno propileno), com relação às áreas de
seção transversal do isolante.
Com base nessas informações e assumindo que 1/√3 = 0,6, assinale a opção correta.
Com base nessas informações e assumindo que 1/√3 = 0,6, assinale a opção correta.
Provas
Questão presente nas seguintes provas
Assinale a opção correta a respeito das instalações elétricas em
tensões de 1,0 kV a 69 kV.
Provas
Questão presente nas seguintes provas
A potência ativa consumida por uma indústria é igual a
50 kW, com fator de potência igual a 0,95. Ao se prospectar
geradores a dísel que supram a carga elétrica necessária ao
funcionamento dessa indústria, deparou-se com as opções
a seguir.

A partir dessas informações, e considerando que 1 HP seja equivalente a 750 W, para suprir a necessidade da indústria, é correto optar pelo(s) grupo(s) gerador(es) do(s) fornecedor(es)

A partir dessas informações, e considerando que 1 HP seja equivalente a 750 W, para suprir a necessidade da indústria, é correto optar pelo(s) grupo(s) gerador(es) do(s) fornecedor(es)
Provas
Questão presente nas seguintes provas

Acerca da carga elétrica resistiva com as características apresentadas na tabela precedente, assinale a opção correta.
Provas
Questão presente nas seguintes provas
Na elaboração de um projeto de uma instalação elétrica, é
necessário
I determinar o método e a tensão de instalação.
II conhecer as potências dos pontos de utilização e calcular a corrente do projeto.
III escolher a bitola do condutor por capacidade de condução de corrente.
IV verificar se o condutor escolhido satisfaz quanto à queda de tensão admissível.
Assinale a opção correta.
I determinar o método e a tensão de instalação.
II conhecer as potências dos pontos de utilização e calcular a corrente do projeto.
III escolher a bitola do condutor por capacidade de condução de corrente.
IV verificar se o condutor escolhido satisfaz quanto à queda de tensão admissível.
Assinale a opção correta.
Provas
Questão presente nas seguintes provas
No circuito elétrico a seguir, a carga trifásica conectada
em triângulo é alimentada por uma fonte de tensão trifásica
senoidal equilibrada com sequência de fases ABC e o fasor
tensão VAB tem módulo igual a 220 V e fase igual a 0°.
Nessa situação, o valor da potência complexa trifásica da carga tem módulo e fase iguais, respectivamente, a
Nessa situação, o valor da potência complexa trifásica da carga tem módulo e fase iguais, respectivamente, a
Provas
Questão presente nas seguintes provas
Considerando circuitos elétricos operando em regime permanente
senoidal, assinale a opção correta acerca das relações dos
diferentes tipos de potência em seus componentes.
Provas
Questão presente nas seguintes provas
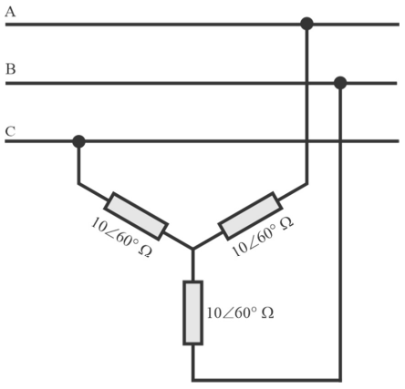
No circuito elétrico trifásico a seguir, a carga trifásica
conectada em estrela é alimentada por uma fonte de tensão
trifásica senoidal equilibrada com sequência de fases ABC e o
fasor tensão VA tem módulo igual a 220 V e fase 0°.
Nessa situação hipotética, o valor do fasor corrente na fase B do sistema terá módulo e fase respectivamente iguais a
Nessa situação hipotética, o valor do fasor corrente na fase B do sistema terá módulo e fase respectivamente iguais a
Provas
Questão presente nas seguintes provas
Cadernos
Caderno Container