Foram encontradas 950 questões.
O correto dimensionamento dos espaços e do mobiliário em edifícios públicos é tarefa importante para assegurar o conforto ergonômico e permitir a mobilidade de todas as pessoas. Acerca desse aspecto, relacionado à profissão do arquiteto, julgue o item a seguir.
Em função das medidas antropométricas do trabalhador brasileiro, a altura máxima de um plano de trabalho destinado a atividades de precisão que exijam a permanência em pé é de 1,30 m.
Provas
Disciplina: Espanhol (Língua Espanhola)
Banca: CESPE / CEBRASPE
Orgão: Câm. Deputados
Comunicaciones
La red de comunicación de masa en Brasil está considerada como una de las más eficientes del mundo. A pesar de las diversidades regionales, sociales y económicas, los 175 millones de brasileños tienen una pasión en común: la televisión, considerada el vehículo que une el país de norte a sur y de este a oeste. Las telenovelas son la manía nacional y han sido responsables del crecimiento de la Rede Globo, la mayor red del país, reconocida internacionalmente por su alto nivel de calidad. Siguiendo su ejemplo, otros canales de TV persiguen alcanzar una posición sólida en el mercado. Juntas, informan, entretienen y, sobre todo, pacifican allí donde hay tensiones y unen allí donde hay desigualdades. La "tele" está en todos los hogares y divide la audiencia con la radio, el segundo mayor vehículo de información, principalmente en la frecuencia AM (onda media). A través de ella llegan las noticias a lugares tan distantes como la Floresta Amazónica y los pampas gauchos.
La radio constituye igualmente una manía nacional, pero, a diferencia de la TV, no es ocio nocturno sino el medio de comunicación que "despierta" al país. Presente en casi 90% de los hogares brasileños, es el vehículo que orienta al ciudadano en su jornada diaria. Oyendo sus programaciones, el brasileño escoge el trayecto hacia su trabajo y recibe las noticias del día a día. Las emisiones cubren los 8.547.403,5 km² del territorio, por donde se extienden más de 1.500 emisoras comerciales AM y más de 1.240 que operan en FM. Se trata de un universo diversificado que atiende a millares de oyentes en su demanda de información, noticias, deporte, servicios, ocio, música, entretenimiento e incluso fe, con varios campeones de audiencia.
Pese a que su circulación es más restringida en relación a los medios electrónicos, la prensa brasileña es considerada agresiva, audaz y con una enorme influencia sobre la vida política e institucional del país. Los primeros periódicos surgieron hace poco más de 200 años y actualmente suman cerca de 2.500 títulos. Como en casi todo el mundo, los periódicos brasileños guardan fuertes vínculos con el Estado y, en particular, con la ciudad donde se editan. Estos vehículos son los principales instrumentos de denuncia, investigación y seguimiento de la vida económica, política y social de Brasil.
Junto con los medios de comunicación electrónicos y escritos, está la publicidad. Al ser el sexto mercado mundial en publicidad, Brasil ha conquistado premios internacionales y su grado de sofisticación se compara con el de los países más creativos dentro de dicho mercado. Para citar un ejemplo, en el último Festival Internacional de Cannes, celebrado en junio de 1999, una agencia brasileña conquistó, por segundo año consecutivo, el premio de Agency of the Year que es el más disputado y prestigioso festival de propaganda del mundo. Brasil conquistó nada menos que 27 premios en dicho festival: veinte en prensa escrita, cuatro en TV y Cine, dos en la categoría Medios de Comunicación y uno en la categoría Internet, quedando en tercer lugar en el ranking de los países más premiados después de Estados Unidos y de Inglaterra.
En el sector de la comunicación, otra fuente de creatividad la constituyen los tebeos y cómics, que también están incorporados ya a la vida cotidiana de los brasileños. Este lenguaje gráfico, que une el humor a la crítica política y de costumbres, tiene tradición en el país. Ya en el siglo pasado, el italiano Angelo Agostini fue el pionero en contar historias viñeta a viñeta.
Internet: <http://www.mre.gov.br/br/cdbrasil/itamaraty/web/ espanhol/comunica/creativ/apresent/index.htm>. Acesso em 17/11/2003. (con adaptaciones).
Según el texto "Comunicaciones", juzgue lo item seguiente.
Hace medio siglo que aparecieron los primeros periódicos en Brasil y hoy hay unos 2.500 títulos.
Provas
Disciplina: TI - Organização e Arquitetura dos Computadores
Banca: CESPE / CEBRASPE
Orgão: Câm. Deputados
| instrução | funcionamento da instrução |
| xor A,B | realiza a operação ou-exclusivo bit a bit entre A e B, colocando o resultado em A |
| nor A,B | realiza a operação não-ou bit a bit entre A e B, colocando o resultado em A |
| ld A,número | armazena o número, de 8 bits, em A |
| ld B,número | armazena o número, de 8 bits, em B |
Provas

A figura acima mostra um circuito trifásico suprido por uma fonte de alimentação senoidal, ideal, equilibrada e simétrica, em regime permanente. A partir desse circuito, julgue o item a seguir.
A intensidade da corrente de linha em cada fase é superior a 95 A.
Provas
As argamassas constituem um elemento importante para revestimentos de alvenaria, pisos etc. Com respeito às argamassas, julgue o item abaixo.
O bolor é um tipo de patologia de argamassas de revestimento, caracterizado por manchas esverdeadas ou escuras que provocam a desagregação do revestimento.
Provas
Acerca de vibrações mecânicas, julgue o item seguinte.
Suponha que, para se medir o momento de inércia !$ J !$ de um sólido, realiza-se o experimento esquematizado na figura abaixo. O sólido é preso sobre a estrutura de massa desprezível, de forma que gire em torno da rótula situada no ponto !$ O !$. Em seguida, o conjunto é posto para vibrar, e o período de vibração !$ T !$ é medido. Nesse contexto, é correto afirmar que o momento de inércia do sólido em relação ao seu centro de massa é dado por !$ J = K l^2 \, {\Bigl (} { T \over 2 \pi} {\Bigr )^2} !$, em que !$ K !$ é a rigidez da mola e !$ l !$ é a distância do ponto !$ O !$ ao ponto !$ A !$.

Provas

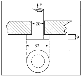
A figura acima mostra o esquema de uma montagem na qual um parafuso de 20 mm de diâmetro passa através de uma chapa e é submetido a uma carga de tração F. Acerca desse esquema, das falhas e dos possíveis escoamentos, julgue o item subseqüente.
Aplicando a teoria da máxima tensão cisalhante (teoria de Tresca), a falha ocorrerá por cisalhamento da cabeça do parafuso.
Provas
As estruturas de madeira são freqüentemente utilizadas na confecção de coberturas de construções. Julgue o item subseqüente, relacionado a esse assunto.
Denomina-se espigão a aresta inclinada resultante do encontro de duas águas que formam um ângulo saliente, sendo caracterizado como um divisor de águas.
Provas
Em uma instalação hipotética foi realizado um aterramento por meio de eletrodos que foram conectados a um terminal de aterramento principal mediante um condutor. Ao terminal de aterramento principal, estão conectados um condutor de equipotencialidade principal (EQP), um condutor de equipotencialidade suplementar (EQS) e um condutor de proteção (PE). Julgue o item que se segue, em relação a esse e a outros sistemas de aterramento.
Os eletrodos de aterramento devem permitir um percurso rápido e fácil para uma eventual corrente de falta para a terra.
Provas
Quanto à coordenação de equipes de rádio, julgue o item que se segue.
O rigor com o horário de fechamento e a derrubada de uma matéria são tarefas que cabem aos coordenadores da equipe, porque, em última análise, é responsabilidade deles a manutenção rigorosa dos horários e da qualidade do produto final.
Provas
Caderno Container