Foram encontradas 460 questões.
Considere a ilustração da viga biapoidada a partir da qual é possível traçar diagramas de esforços internos:

Sabendo-se que sen a =0,8 e cos a =0,6, o diagrama de momento fletor correspondente a essa estrutura é
Provas
Questão presente nas seguintes provas
A impermeabilização protege as edificações da ação da água ou de outros agentes agressivos, conferindo
a estanqueidade a uma edificação. Sobre a impermeabilização, é correto afirmar que
Provas
Questão presente nas seguintes provas
Analise as seguintes descrições:
I – moldada in loco, executada pela cravação, por meio de sucessivos golpes de um pilão, de um tubo de ponta fechada por uma bucha seca constituída de pedra e areia, previamente firmada na extremidade inferior do tubo por atrito.
II – preenchida com argamassa de cimento e areia, moldada in loco, executada por perfuração rotativa ou rotopercussiva, revestida, integralmente, no trecho em solo, por um conjunto de tubos metálicos recuperáveis.
A respeito dos tipos de fundações e suas características, é correto inferir que essas descrições correspondem, respectivamente, às estacas
I – moldada in loco, executada pela cravação, por meio de sucessivos golpes de um pilão, de um tubo de ponta fechada por uma bucha seca constituída de pedra e areia, previamente firmada na extremidade inferior do tubo por atrito.
II – preenchida com argamassa de cimento e areia, moldada in loco, executada por perfuração rotativa ou rotopercussiva, revestida, integralmente, no trecho em solo, por um conjunto de tubos metálicos recuperáveis.
A respeito dos tipos de fundações e suas características, é correto inferir que essas descrições correspondem, respectivamente, às estacas
Provas
Questão presente nas seguintes provas
Rastrear e detectar precocemente os agravos à saúde relacionados ao trabalho, detectar possíveis
exposições excessivas a agentes nocivos ocupacionais e definir a aptidão de cada empregado para
exercer suas funções ou tarefas determinadas são diretrizes do(a)
Provas
Questão presente nas seguintes provas
Os custos com equipamentos e máquinas em um determinado canteiro de obras dependem, dentre outros
fatores, do seu tempo de disponibilidade, da depreciação e dos juros relativos ao capital investido na
aquisição do equipamento. Diante disso, para um equipamento, cujo valor de compra seja de R$
150.000,00 e cuja vida útil seja de 10 anos, considerando-se que seu tempo de disponibilidade na obra
será de 50 meses e que a taxa de juros vigente seja de 5% ao ano, o valor mensal obtido para juros e
depreciação será de
Provas
Questão presente nas seguintes provas
Bombas são dispositivos mecânicos que introduzem “energia” em uma porção de massa de água, seja
elevando sua posição, seja aumentando sua velocidade, mas sempre produzindo ou transformando
“trabalho mecânico”. A respeito desses dispositivos hidráulicos é correto afirmar que
Provas
Questão presente nas seguintes provas
A resistência das argilas depende do arranjo entre os grãos e do índice de vazios. Foi observado que,
quando se submetem certas argilas ao manuseio, a sua resistência diminui, ainda que o índice de vazios
se mantenha constante. Tal fenômeno é denominado
Provas
Questão presente nas seguintes provas
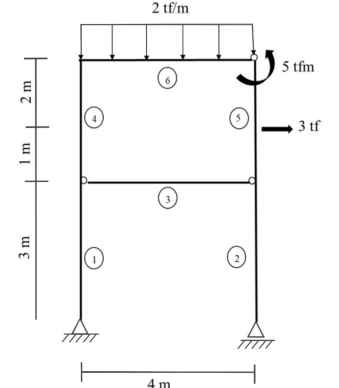
Considere o pórtico a seguir:

É correto afirmar que a barra biarticulada nº 3 é um (a)
Provas
Questão presente nas seguintes provas
Apesar das várias ações tomadas pela concessionária para manter um padrão de qualidade satisfatório
no fornecimento de energia elétrica, a rede pode sofrer perturbações em razão de fatores que fogem do
controle das operadoras e dos usuários. Para isso, recomenda-se que os usuários adotem mais uma
camada de proteção. Por exemplo, para se precaver contra ruídos, oscilações e interferências
eletromagnéticas no circuito elétrico, recomenda-se que equipamentos eletrônicos mais sensíveis sejam
ligados à energia por meio do
Provas
Questão presente nas seguintes provas
De acordo com a Norma Brasileira (NBR) 5410, o dimensionamento de seção transversal de condutores
de uma instalação elétrica de baixa tensão é determinado a partir de
Provas
Questão presente nas seguintes provas
Cadernos
Caderno Container