Foram encontradas 730 questões.
Para seleção do material da ferramenta de corte no processo de usinagem convencional, uma série de fatores devem ser ponderados.
Dentre os fatores necessário para seleção do material da ferramenta, assinale a alternativa incorreta.
Provas
As questões 31 e 32 devem ser respondidas com base nas informações contidas na figura a seguir.

Disponível em: https://blog.kimotor.com.br/leitura-da-placa-do
motor/. Acesso em: 15 jun. 2023.
Em relação à especificação técnica do motor, assinale a alternativa incorreta.
Provas
As questões 31 e 32 devem ser respondidas com base nas informações contidas na figura a seguir.

Disponível em: https://blog.kimotor.com.br/leitura-da-placa-do
motor/. Acesso em: 15 jun. 2023.
No instante de partida do motor, a corrente aumenta em relação à corrente nominal.
A esse respeito, assinale a alternativa correta.
Provas
- Mecânica dos SólidosModelagem Estática e Dinâmica
- Mecânica dos SólidosElasticidade Linear, Plasticidade, Fratura, Fadiga e Flambagem
As questões 28 e 29 devem ser respondidas com base nas informações contidas na figura a seguir.
Tolerância dimensional: H7 0+0,025 g6 −0,025 −0,009
Analise as afirmativas a seguir, relacionadas ao esforço de tração em uma barra de contraventamento fabricada em aço, utilizada na construção de uma torre de transmissão da Cemig.
I. Ao sofrer esforço de tensão, nos primeiros instantes e dentro de um certo limite, a deformação é proporcional à tensão aplicada, obedecendo à Lei de Hooke.
II. O alongamento da barra é proporcional ao seu comprimento, e inversamente proporcional à área da sua seção transversal.
III. O limite de elasticidade da barra corresponde à máxima tensão que ele suporta sem sofrer deformação permanente.
Estão corretas as afirmativas
Provas
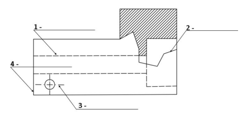
As questões 28 e 29 devem ser respondidas com base nas informações contidas na figura a seguir.
Tolerância dimensional: H7 0+0,025 g6 −0,025 −0,009
Em relação a esse sistema de ajuste, assinale a alternativa incorreta.
Provas
As questões 28 e 29 devem ser respondidas com base nas informações contidas na figura a seguir.
Tolerância dimensional: H7 0+0,025 g6 −0,025 −0,009
Na tolerância dimensional apresentada, o sistema de ajuste é
Provas
Analise o desenho técnico a seguir.

Em relação ao desenho técnico, assinale a alternativa correta.
Provas
Analise as afirmativas a seguir, sobre escala no desenho técnico, e assinale com V as verdadeiras e com F as falsas.
( ) Escala de 2:1 é considerada para redução.
( ) A escala geral deve ser indicada na legenda.
( ) Nas cotas, no desenho, deve sempre constar o valor dimensional real.
( ) Constando na mesma folha desenhos com escalas diferentes, estas devem ser indicadas junto aos desenhos a que correspondem.
Assinale a sequência correta.
Provas
A participação de fontes alternativas de energia no total de geração elétrica no país aumentou significativamente na última década. Tal crescimento foi, em grande parte, possibilitado pelo estabelecimento de uma regulamentação que permitiu o tratamento dos riscos específicos associados a fontes intermitentes, tais como a eólica ou a solar.
Com relação à regulamentação da contratação de fontes intermitentes, assinale a alternativa incorreta.
Provas
Disciplina: Legislação Específica das Agências Reguladoras
Banca: FUNDEP
Orgão: CEMIG
Parte dos contratos de fornecimento de energia no Ambiente de Contratação Regulada (ACR) são para energia de reserva. A dinâmica da energia de reserva prevê que todos os vendedores recebam uma receita fixa anual, dividida em 12 parcelas mensais (fixada em leilão). Toda a energia gerada não pertence ao empreendedor e é liquidada no mercado de curto prazo ao preço de liquidação de diferenças. O valor gerado é retido em uma conta específica para atenuar o valor que é recolhido dos consumidores para remunerar os agentes geradores.
Com relação aos contratos para energia de reserva, assinale a alternativa incorreta.
Provas
Caderno Container