Foram encontradas 100 questões.
A partir dos princípios da geometria descritiva, as normas de desenho técnico fixaram a utilização das projeções ortogonais para representar formas espaciais, utilizando os rebatimentos de qualquer um dos quatro diedros. A ABNT fixa a forma de representação aplicada em desenho técnico apenas nos diedros
Provas
Os rolamentos constituem tradicionalmente a melhor maneira de diminuir o atrito entre duas superfícies. A figura a seguir representa qual tipo de rolamento?

Provas
As marcas de resistência, que indicam o tipo de material, são visíveis na cabeça de alguns parafusos sextavados. Os parafusos classificam-se em parafusos normais e de alta tensão, de acordo com os tipos de materiais utilizados. O número 5.8 marcado na cabeça de um parafuso fabricado em aço-carbono indica
Provas
Na especificação da rosca Whitworth, o ângulo dos filetes é de
Provas
Na especificação da rosca métrica ISO para uso geral, o ângulo dos filetes é de
Provas
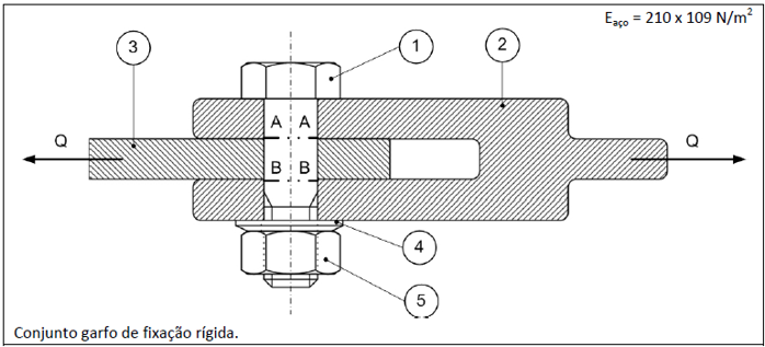
Observe a haste de um braço pneumático, conforme figura a seguir, e considere que, quando acionado, provoque uma carga Q com intensidade de 6 KN, e, ainda, que não haja rosca no parafuso na região de cisalhamento indicada nas secções AA e BB.

Considere:
1. Parafuso sextavado M12.
2. Garfo com haste de espessura de 6 mm.
3. Arruela de pressão.
4. Chapa de aço ABNT 1020 espessura de 8 mm. 5. Porca M12.
Conforme as informações anteriores, a tensão de cisalhamento atuante é de
Provas
De acordo com as especificações técnicas de rolamentos, relacione adequadamente as figuras às respectivas descrições.

( ) Rolamento axial de esferas de escora simples com arruela da caixa de mancal plana.
( ) Rolamento axial de esferas de contato angular de escora simples e projeto básico simples.
( ) Rolamento axial de esferas de contato angular de escora dupla e projeto básico.
( ) Rolamento autocompensadores de esferas com um furo cilíndrico projeto básico aberto.
A sequência está correta em
Provas
Sobre as principais razões para determinação do procedimento de aplicação de pré-carga ao rolamento, marque V para as afirmativas verdadeiras e F para as falsas.
( ) Aumentar a rigidez (em kN/μm) que é definida como a relação da força atuante.
( ) Reduzir o ruído do giro, aumentando a folga operacional em um rolamento.
( ) A pré-carga restringe a capacidade do eixo de se inclinar com a carga.
( ) Compensar os processos de desgaste e acomodação em funcionamento.
A sequência está correta em
Provas
Duas barras de aço serão unidas por meio de rebite(s) para sofrerem esforços axiais de tração. O mercado dispõe de vários tipos de rebites, no entanto, para esta aplicação foram disponibilizados quatro tipos, conforme quadro a seguir:
| Rebites | Diâmetro da seção em mm | Área da seção em mm2 |
|---|---|---|
| Tipo R1 | 3,175 | 7,90 |
| Tipo R2 | 6,350 | 31,67 |
| Tipo R3 | 12,70 | 126,68 |
| Tipo R4 | 25,40 | 506,71 |
Assinale a melhor formatação no que se refere a suportar o maior esforço de tração axial.
Provas
A norma NBR 6158 fixa o conjunto de princípios, regras e tabelas que se aplicam à tecnologia mecânica, a fim de permitir uma escolha racional de tolerâncias e ajustes, visando a fabricação de peças intercambiáveis. O ajuste é a relação resultante da diferença, antes da montagem, entre as dimensões dos dois elementos a serem montados. Assinale a alternativa que apresenta um ajuste de eixo com folga.
Provas
Caderno Container