Foram encontradas 485 questões.
São critérios utilizados na seleção do Dispositivo de Proteção contra Surtos (DPS), EXCETO
Provas
A respeito da NR-10 – Segurança em instalações e serviços em eletricidade, analise as assertivas e assinale a alternativa que aponta a(s) correta(s).
I. Zona de risco é o entorno de parte condutora energizada, não segregada, acessível inclusive acidentalmente, de dimensões estabelecidas de acordo com o nível de tensão, cuja aproximação só é permitida a profissionais autorizados e com a adoção de técnicas e instrumentos apropriados de trabalho.
II. Zona controlada é o entorno de parte condutora energizada, não segregada, acessível, de dimensões estabelecidas de acordo com o nível de tensão, cuja aproximação só é permitida a profissionais autorizados.
III. Trabalho em Proximidade: trabalho durante o qual o trabalhador pode entrar na zona controlada, ainda que seja com uma parte do seu corpo ou com extensões condutoras, representadas por materiais, ferramentas ou equipamentos que manipule.
Provas
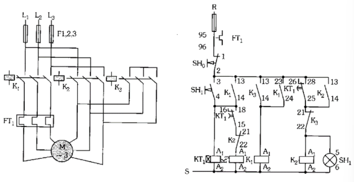
Um engenheiro eletricista recebeu o seguinte diagrama de sistema de comando de uma máquina da fábrica onde trabalha:

Em relação ao diagrama, o engenheiro pode afirmar que
Provas
A respeito das características de lâmpadas, assinale a alternativa correta.
Provas
Um engenheiro, ao inspecionar uma instalação elétrica, depara-se com um sistema de aterramento em que as massas das máquinas estão conectadas ao condutor neutro do circuito de alimentação em toda a instalação. O esquema de aterramento utilizado na instalação é o
Provas
A análise de transformadores normalmente é realizada por meio de ensaios. Os ensaios são utilizados para determinar as constantes e os parâmetros do transformador. Em relação aos ensaios de transformadores, é correto afirmar que
Provas
Considere a seguinte imagem da tela de um osciloscópio cuja entrada é uma onda senoidal:

Com base nas informações disponibilizadas na tela do dispositivo, a frequência da senoide é, aproximadamente,
Provas
Tendo em vista que a camada de enlace é uma das camadas envolvidas na comunicação sem fio (wireless), sobre a camada de enlace é INCORRETO afirmar que
Provas
A figura a seguir apresenta um tiristor:

Com base no tiristor, é possível afirmar que
Provas
A figura a seguir ilustra o processo de retificação de um sinal senoidal:

Sobre as etapas de retificação, é correto afirmar que
Provas
Caderno Container