Foram encontradas 90 questões.
Em relação aos diversos conflitos, ocorridos ao século XIX, envolvendo Brasil, Uruguai, Argentina e Paraguai, é correto afirmar, entre outros fatores, que
Provas
Questão presente nas seguintes provas
Observe o rótulo de uma determinada garrafa de água mineral.
| Composição Química (mg/1) | |
| Bicarbonato | 90,72 |
| Cálcio | 13,23 |
| Sódio | 10,23 |
| Magnésio | 4,96 |
| Sulfato | 0,82 |
| Potássio | 1,90 |
| Fosfato | 0,06 |
Levando em consideração o rótulo apresentado acima, é INCORRETO afirmar que ele menciona.
Provas
Questão presente nas seguintes provas
Observe os conjuntos A = {3,{3),5,{5)) e B = {3,{3(5),5).
Sabendo-se que n(X) representa o número total de elementos de um conjunto X, e que P(X) é o conjunto formado por todos os subconjuntos do conjunto X, pode-se afirmar que
Provas
Questão presente nas seguintes provas
É correto afirmar que o ano de 1929 foi de grande dificuldade para os cafeicultores no Brasil, pois, embora a produção naquele ano tenha sido de 21 milhões de sacas, as exportações foram apenas de 14 milhões de sacas. As causas desta queda tão brusca estavam relacionadas à
Provas
Questão presente nas seguintes provas
No ano de 1824, foi outorgada a primeira Constituição Brasileira que apresentou, entre outras determinações, a
Provas
Questão presente nas seguintes provas
Sendo !$ y= {\large x+a \over x+b} !$, qual é o valor numérico de y para !$ x= \sqrt 2 !$, sabendo-se que, para todo número real !$ x ≠ - b, y. (x^2-2) = x^2 + \sqrt 2 x - 4 !$?
Provas
Questão presente nas seguintes provas
No mês de março de 2006, o Brasil sediou a 8º Conferência das Partes da Convenção sobre Diversidade Biológica, na qual os países signatários discutiram a necessidade de atingir a cota de 10% de áreas naturais protegidas e preservadas até 2010. Em relação ao quadro da situação dos principais biomas brasileiros, é correto afirmar que
Provas
Questão presente nas seguintes provas
Em lugar do quadrado de lado igual a 1 (um) centímetro, tomou-se como unidade de área o triângulo equilátero de lado igual a 1 (um) centímetro. Qual será, nessa nova unidade, o número que expressará a área de um retângulo de base igual a 6 (seis) centímetros e altura igual 4 (quatro) centímetros?
Provas
Questão presente nas seguintes provas
De um ponto P exterior a um círculo de raio 6, traçam-se secantes PXY (PX<PY), X e Y pontos variáveis pertencentes à circunferência desse círculo. Os pontos médios das cordas XY descrevem um arco de circunferência de raio R. Assim sendo, qual será o valor de Ri sabendo se que a tangente PT ao círculo mede 8?
Provas
Questão presente nas seguintes provas
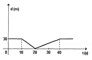
Observe o gráfico:

Analisando-se o deslocamento de um carro, numa trajetória, apresentado no gráfico acima, é correto afirmar que
Provas
Questão presente nas seguintes provas
Cadernos
Caderno Container