Foram encontradas 234 questões.
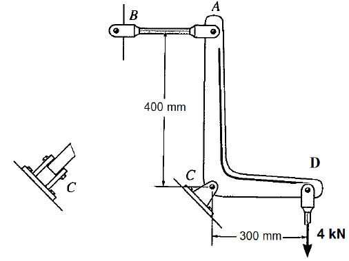
Observe a figura que mostra a montagem do braço ACD, suspenso por um mancal em C
e acoplado a uma haste horizontal em A. O braço suporta uma carga de 4 kN aplicada na
extremidade D.

Considerando a tensão de cisalhamento admissível do material do pino no mancal C 0,5 MPa, a área da seção transversal do pino C, que sustenta a carga de 4 kN, é:

Considerando a tensão de cisalhamento admissível do material do pino no mancal C 0,5 MPa, a área da seção transversal do pino C, que sustenta a carga de 4 kN, é:
Provas
Questão presente nas seguintes provas
Observe a figura que ilustra a montagem de uma viga de madeira de seção transversal
retangular 12x100 mm. A viga está apoiada nas extremidades nos pontos B e C e sujeita
ao carregamento distribuído indicado no desenho. A distância entre os apoios é de 8
metros.

A tensão máxima de flexão atuante na viga devido ao carregamento é:

A tensão máxima de flexão atuante na viga devido ao carregamento é:
Provas
Questão presente nas seguintes provas
A figura a seguir mostra o uso do relógio comparador na verificação do alinhamento das
pontas de um torno universal.

O resultado do desalinhamento, em polegada milesimal, verificado pelo deslocamento dos ponteiros do relógio comparador é ilustrado na figura abaixo.

Assinale a alternativa que apresenta CORRETAMENTE a leitura, obtida no relógio comparador.

O resultado do desalinhamento, em polegada milesimal, verificado pelo deslocamento dos ponteiros do relógio comparador é ilustrado na figura abaixo.

Assinale a alternativa que apresenta CORRETAMENTE a leitura, obtida no relógio comparador.
Provas
Questão presente nas seguintes provas
A figura abaixo ilustra o projeto de um moto-redutor composto por 5 engrenagens
cilíndricas de dentes retos, sendo que Z1=18 dentes, Z2=72 dentes, Z3=20 dentes, Z4=60
dentes e Z5=120 dentes.

• O motor elétrico tem potência de 10 CV e 1800 rpm. • O rendimento de cada par é de 80%. • O rendimento de cada acoplamento é de 80%.

• O motor elétrico tem potência de 10 CV e 1800 rpm. • O rendimento de cada par é de 80%. • O rendimento de cada acoplamento é de 80%.
De acordo com essas informações, assinale a alternativa que apresenta CORRETAMENTE a potência e a rotação do tambor de carga.
Provas
Questão presente nas seguintes provas
A execução dos 12 furos mostrados na figura abaixo será feita em uma fresadora
universal.

O aparelho divisor é constituído pôr um parafuso sem-fim de uma entrada e por uma coroa de 40 dentes.
Com essas informações e utilizando a tabela abaixo, assinale a alternativa que apresenta CORRETAMENTE o procedimento a ser adotado no aparelho divisor para a usinagem de cada um dos 12 furos.


O aparelho divisor é constituído pôr um parafuso sem-fim de uma entrada e por uma coroa de 40 dentes.
Com essas informações e utilizando a tabela abaixo, assinale a alternativa que apresenta CORRETAMENTE o procedimento a ser adotado no aparelho divisor para a usinagem de cada um dos 12 furos.

Provas
Questão presente nas seguintes provas
A figura abaixo é de um rebolo circular reto usado em processos de retificação. Notam-se
ao centro o rótulo do rebolo com a especificação técnica AA 60 J 6 V, os dados:

Assinale a alternativa que apresenta CORRETAMENTE a especificação técnica.

Assinale a alternativa que apresenta CORRETAMENTE a especificação técnica.
Provas
Questão presente nas seguintes provas
A figura abaixo representa uma ferramenta de corte utilizada em plaina limadora para
usinagem dos metais. A numeração indica o posicionamento dos ângulos fundamentais
de corte.

Assinale a alternativa que apresenta CORRETAMENTE os ângulos fundamentais de corte dessa ferramenta.

Assinale a alternativa que apresenta CORRETAMENTE os ângulos fundamentais de corte dessa ferramenta.
Provas
Questão presente nas seguintes provas
A figura abaixo ilustra um sistema de transmissão redutor que utiliza polias e correia plana
para montagem de trem simples.

Assinale a alternativa que apresenta CORRETAMENTE o diâmetro da polia acionada para que a rotação de saída seja 300rpm.
Sabe-se que o diâmetro da polia motriz é de 150mm e seu eixo gira com 1800rpm.

Assinale a alternativa que apresenta CORRETAMENTE o diâmetro da polia acionada para que a rotação de saída seja 300rpm.
Sabe-se que o diâmetro da polia motriz é de 150mm e seu eixo gira com 1800rpm.
Provas
Questão presente nas seguintes provas
As figuras A e B representam goniômetros com medidas angulares.

Provas
Questão presente nas seguintes provas
Analise as afirmativas abaixo e assinale com V as verdadeiras e com F as falsas.
( ) O ensaio de impacto Charpy possibilita traçar a curva de temperabilidade para um dado aço. ( ) No ensaio de tração do aço SAE 1045 normalizado, a deformação relativa inicial é essencialmente proporcional à tensão, além disso, é reversível. Depois de removida a tensão, a deformação desaparece. A esse fenômeno de deformação reversível linear chamamos deformação elástica. ( ) O termo “aço de baixa liga” é usado para os casos em que se adicionam até 5% em elementos de liga tais como o níquel, o cromo, o molibdênio, o manganês ou o silício. ( ) O teor de carbono do aço SAE 1045 é de aproximadamente 0,45%.
Assinale a alternativa que apresenta a sequência CORRETA.
( ) O ensaio de impacto Charpy possibilita traçar a curva de temperabilidade para um dado aço. ( ) No ensaio de tração do aço SAE 1045 normalizado, a deformação relativa inicial é essencialmente proporcional à tensão, além disso, é reversível. Depois de removida a tensão, a deformação desaparece. A esse fenômeno de deformação reversível linear chamamos deformação elástica. ( ) O termo “aço de baixa liga” é usado para os casos em que se adicionam até 5% em elementos de liga tais como o níquel, o cromo, o molibdênio, o manganês ou o silício. ( ) O teor de carbono do aço SAE 1045 é de aproximadamente 0,45%.
Assinale a alternativa que apresenta a sequência CORRETA.
Provas
Questão presente nas seguintes provas
Cadernos
Caderno Container