Foram encontradas 234 questões.
Sobre a área de Recursos Humanos das organizações, é CORRETO afirmar que
Provas
Questão presente nas seguintes provas
Em uma prática de destilação simples um técnico em química montou o seguinte sistema.

Sobre o sistema montado é CORRETO afirmar que os equipamentos 1, 2, 3, 4, 5 e 6 são, respectivamente,
Provas
Questão presente nas seguintes provas
Na maioria das análises, uma balança analítica precisa ser utilizada para se obter massas altamente exatas. As balanças de laboratório menos exatas também são empregadas para as medidas de massa quando a demanda por confiabilidade não for crítica.
Com relação às balanças analíticas numere a COLUNA II de acordo com a COLUNA I fazendo a relação entre o tipo modelo de balança e a sua característica.
COLUNA I
1. Tem carga máxima de 1 a 3 gramas
2. Tem precisão de 0,01mg.
3. Tem precisão de 0,1mg.
COLUNA II
( ) Macrobalanças.
( ) Balança semimicroanalítica.
( ) Balança microanalítica.
Assinale a alternativa que apresenta a sequência CORRETA.
Com relação às balanças analíticas numere a COLUNA II de acordo com a COLUNA I fazendo a relação entre o tipo modelo de balança e a sua característica.
COLUNA I
1. Tem carga máxima de 1 a 3 gramas
2. Tem precisão de 0,01mg.
3. Tem precisão de 0,1mg.
COLUNA II
( ) Macrobalanças.
( ) Balança semimicroanalítica.
( ) Balança microanalítica.
Assinale a alternativa que apresenta a sequência CORRETA.
Provas
Questão presente nas seguintes provas
Um técnico laboratorista de química estava preparando uma solução de hidróxido de sódio.
Com relação a algumas das vidrarias utilizadas nesse procedimento, é CORRETO que as vidrarias mais adequadas são
Com relação a algumas das vidrarias utilizadas nesse procedimento, é CORRETO que as vidrarias mais adequadas são
Provas
Questão presente nas seguintes provas
Os instrumentos analíticos de medição são extremamente importantes nas atividades de análises químicas.
Com relação aos instrumentos de análises químicas, numere a COLUNA II de acordo com a COLUNA I fazendo a relação entre o instrumento analítico e sua funcionalidade.
COLUNA I
1. pH-metro.
2. RMN.
3. Colorímetro.
COLUNA II
( ) Determina a absorbância de uma solução na região do visível.
( ) Determina a concentração de íons H+ e OH- .
( ) Determina as propriedades de moléculas orgânicas.
Assinale a alternativa que apresenta a sequência CORRETA.
Com relação aos instrumentos de análises químicas, numere a COLUNA II de acordo com a COLUNA I fazendo a relação entre o instrumento analítico e sua funcionalidade.
COLUNA I
1. pH-metro.
2. RMN.
3. Colorímetro.
COLUNA II
( ) Determina a absorbância de uma solução na região do visível.
( ) Determina a concentração de íons H+ e OH- .
( ) Determina as propriedades de moléculas orgânicas.
Assinale a alternativa que apresenta a sequência CORRETA.
Provas
Questão presente nas seguintes provas
Numa medida espectroscópica, uma solução de sulfato de cobre (CuSO4), de concentração igual a 0,1mol/L, a transmitância da solução é 45%.
Considerando um caminho óptico de 2cm num comprimento de onda de 550nm é CORRETO afirmar que a absortividade molar do CuSO4 é
Dado: log 3 = 0,5 e log 5 = 0,7
Considerando um caminho óptico de 2cm num comprimento de onda de 550nm é CORRETO afirmar que a absortividade molar do CuSO4 é
Dado: log 3 = 0,5 e log 5 = 0,7
Provas
Questão presente nas seguintes provas
Pelo método de depreciação linear, os ativos móveis/utensílios e imóveis apresentaram os valores residuais de R$3.000,00 e R$45.000,00, respectivamente.
Sendo o tempo de depreciação de 5 anos e 20 anos, também respectivamente, e os valores de depreciação em 1/3 dos valores residuais.
Assinale a alternativa que apresenta CORRETAMENTE os valores iniciais dos dois ativos.
Provas
Questão presente nas seguintes provas
A figura abaixo é o desenho de uma engrenagem cilíndrica de dentes retos, perfil
evolvente não corrigido com ângulo de pressão de 20º, módulo = 3,50mm.

Assinale a alternativa que apresenta CORRETAMENTE as medidas do diâmetro externo e diâmetro primitivo, respectivamente, dessa engrenagem.

Assinale a alternativa que apresenta CORRETAMENTE as medidas do diâmetro externo e diâmetro primitivo, respectivamente, dessa engrenagem.
Provas
Questão presente nas seguintes provas
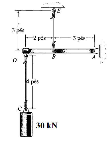
Observe a figura que ilustra a montagem de uma barra horizontal ABD que sustenta um
peso de 30 kN na extremidade D por meio de um cabo CD. A barra se encontra suspensa
por um mancal em A e um cabo BE.

Considerando a área do cabo BE 0,002 m2 , a tensão de tração atuante nele é:

Considerando a área do cabo BE 0,002 m2 , a tensão de tração atuante nele é:
Provas
Questão presente nas seguintes provas
Observe a figura que ilustra um eixo maciço AB de aço com seção transversal de
diâmetro 30 mm, ao qual está acoplado um volante em A. Um operador aplica um
momento torçor produzido pelas forças de 25 N com as mãos.

O momento torçor aplicado no eixo AB pelo operador é:

O momento torçor aplicado no eixo AB pelo operador é:
Provas
Questão presente nas seguintes provas
Cadernos
Caderno Container