Foram encontradas 311 questões.
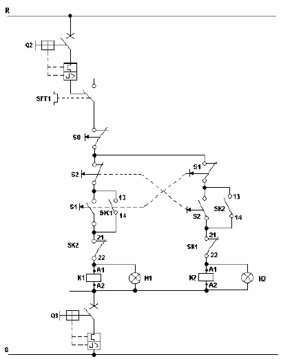
O diagrama da figura corresponde ao circuito de comando para efetuar a reversão de rotação em motores trifásicos utilizando os contatores K1 e K2.
Com base no diagrama, considere as afirmativas:

I- S0 é uma botoeira do tipo NF. Quando pressionada fará o desligamento do motor.
II- Pressionando-se S1 e S2 ao mesmo tempo, os contatores K1 e K2 serão acionados concomitantemente.
III- O contato do relé térmico SFT1 é do tipo NA.
IV- A retirada de H1 e H2 não afeta o funcionamento do circuito.
Está CORRETA ou estão CORRETAS:
Provas
Questão presente nas seguintes provas
Sabendo-se que Cn,p indica o número de combinações simples de n elementos distintos, tomados p a p, considere as seguintes afirmativas:
I- O número de grupos diferentes de dois trabalhadores que podem ser formados entre 10 trabalhadores é igual a 40.
II- Podemos formar uma comissão de, no mínimo, 3 estudantes entre 8 estudantes, de 219 maneiras diferentes.
III- C10,3=120
IV- C10,2 + C10,3= 260
II- Podemos formar uma comissão de, no mínimo, 3 estudantes entre 8 estudantes, de 219 maneiras diferentes.
III- C10,3=120
IV- C10,2 + C10,3= 260
Está CORRETA ou estão CORRETAS:
Provas
Questão presente nas seguintes provas
O filamento de uma lâmpada incandescente comercial, quando desligada e fria, tem uma resistência menor que quando está acesa. Assim, para facilitar os cálculos, considere que a resistência de uma lâmpada incandescente quando desligada é 5 vezes menor quando comparada à resistência em funcionamento. Mesmo que por um curto instante de tempo, um pico de corrente irá acontecer no momento em que a uma lâmpada incandescente for ligada.
Considerando uma ligação residencial monofásica fictícia de 100 V, qual é a corrente de pico quando uma lâmpada de 100 W for ligada?
Provas
Questão presente nas seguintes provas
O aço da corda de piano é amplamente empregado para a fabricação de molas helicoidais.
Sua especificação é:
Provas
Questão presente nas seguintes provas
Assinale a alternativa INCORRETA. A decisão da utilização do parecer social como recurso de intervenção profissional pode ser:
Provas
Questão presente nas seguintes provas
Sobre os conceitos básicos de planilha eletrônica, é CORRETO afirmar:
I- Uma planilha é um conjunto de linhas e colunas, as quais podem armazenar textos e números.
II- As colunas são identificadas por números.
III- As linhas são identificadas por letras.
IV- A unidade básica de armazenamento de dados em uma planilha é a célula, que consiste na junção de uma linha com uma coluna.
V- Cada célula possui endereço próprio, que é formado pela letra da coluna seguido do número da linha em que se localiza; assim, a célula C5 se localiza na junção da coluna C com a linha 5.
Estão CORRETAS:
Provas
Questão presente nas seguintes provas
Um aquecedor doméstico tem dois ajustes de potência: 750 W e 1500 W. Durante o inverno, para o aquecimento de um ambiente, este aquecedor fica ligado durante 20 minutos em potência máxima e 60 minutos na potência menor.
Qual é a alternativa que corresponde à energia total dissipada?
Provas
Questão presente nas seguintes provas
Avalie as afirmações.
I- Os eletrodos consumíveis na soldagem a arco podem ser nus ou revestidos.
II- A passagem de corrente elétrica por duas peças metálicas a serem unidas e pressionadas uma contra a outra por dois eletrodos é denominada soldagem por resistência.
III- O processo MIG (Metal Inert Gas) utiliza uma cobertura gasosa para proteger a zona do arco elétrico durante o processo de soldagem. Esta cobertura pode ser realizada pelo uso da mistura C25 (75% de argônio e 25% de CO2).
Está CORRETA ou estão CORRETAS:
Provas
Questão presente nas seguintes provas
Um professor comprou um Notebook com a intenção de trocá-lo após cinco anos. Supondo que, a cada ano que passa, o valor de um Notebook diminui 30% em relação ao valor do ano anterior e sendo P o valor do Notebook no primeiro ano, o seu valor no quinto ano será de:
Provas
Questão presente nas seguintes provas
Assinale a alternativa INCORRETA:
O trabalho profissional dos assistentes sociais, tanto com indivíduos, quanto com famílias ou grupos, pode usar como estratégia metodológica voltada aos seus fins:
Provas
Questão presente nas seguintes provas
Cadernos
Caderno Container