Foram encontradas 699 questões.
Um recipiente cilíndrico isolado, de 20 cm de raio, contém 2 kg de ar a 27ºC e pressão de 100 kPa. Uma resistência elétrica de volume desprezível, capaz de fornecer 15 W de potência, é colocada no interior do recipiente. Calcular o tempo de acionamento da resistência para que a pressão do ar atinja 200 kPa. Dados: Mar = 29kg/kmol, Patm = 100 kPa, Cvar = 0,7 kJ/kg.K, Pcrítica = 3800 kPa. Considere a hipótese de gás ideal.

Resposta:
Provas
Nos postos de combustíveis, o consumidor está exposto ao vapor de combustíveis onde um dos componentes da mistura é o álcool etílico (etanol). O limite de tolerância máximo permitido pela legislação brasileira (Anexo 11, NR15) é de 780 ppm. Obtenha a concentração equivalente em mg/m3 na temperatura de 25ºC.
Dados: ρetanol = 1,88 g/L; Massa molecular etanol = 46 g/mol; R = 0,082 atm L/ (mol K).
Resposta:
Provas
No tratamento de efluente por processos físico-químicos, são utilizados floculantes à base de Al2(SO4)3 ou FeCl3. A reação que produz a floculação ocorre em meio alcalino, de acordo com as reações descritas abaixo.
a Al2(SO4)3 + b NaOH
c Al(OH)3 + d Na2SO4
e FeCl3 + f NaOH
g Fe(OH)3 + h NaCl
Com relação às reações acima, pode-se afirmar que:
Provas
Após um vazamento de gás CO2, verificou-se que, de um volume de 20 m3 de ar, 5 m3 foram deslocados pelo gás que vazou. Considere as seguintes frações molares dos componentes do ar: 79% de Nitrogênio e 21% de Oxigênio. Qual a nova fração molar de O2 resultante na atmosfera do local do vazamento?
Provas
A água escoa em regime permanente no interior de um tubo de comprimento L e raio R. Calcule a velocidade uniforme de entrada, u1, se a distribuição de velocidade na seção de saída é dada por:

Resposta:
Provas
Um sistema de coleta de água de chuva para reúso foi construído em uma região onde o índice pluviométrico é de 1.000 mm/ano. A coleta é feita na área de 3.650 m2 de telhado da empresa, sendo armazenada em um tanque aberto. Qual a menor potência da bomba requerida para bombear a água para um reservatório aberto a 28,8 m de altura do nível da cisterna de coleta, supondo a perda de carga desprezível no circuito hidráulico e a eficiência da bomba de 80%? A bomba deverá operar durante um período diário de apenas uma hora, tendo a capacidade de enviar para o reservatório a quantidade de água acumulada durante um dia. Massa específica da água = 103 kg/m3; g=10m/s2.
A equação do balanço global de energia mecânica é dada abaixo:

Resposta:
Provas
O escoamento de ar sobre a placa plana forma uma camada limite, como ilustrado na figura abaixo. O escoamento à montante da placa é uniforme com velocidade ub * igual a 30m/s. A distribuição de velocidade dentro da camada limite (0≤y≤ δ) ao longo da secção cd pode ser aproximada por u/ub *=2(y/ δ) – (y/ δ)2. A espessura da camada limite na posição d é δ = 5mm. Considerando-se que a largura da placa perpendicular ao escoamento seja w=1m e que o comprimento L=2m, calcule a vazão em massa através da superfície bc do volume de controle abcd. Considere a massa específica do ar = 1,0 kg /m3.

Resposta:
Provas
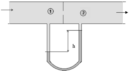
Um manômetro de tubo em U está conectado em uma placa de orifício, onde escoa ar, conforme ilustrado na figura abaixo. Se o fluido do manômetro for o mercúrio e se P1= 2 atm, determine a pressão P2 (em N/m2). Nesta questão, considere g=10 m/s2, ρHg=13,6 103 kg/m3, ρAr=1 kg/m3, h=1 m. Dados: 1 atm = 1,013 105 N/m2.

Resposta:
Provas
Determine a pressão absoluta no reservatório onde está instalado o manômetro C ilustrado na figura abaixo. Dados: PA = 20 psi; PB = 10 psi; PC = 12 psi; Patm = 15 psi.

Resposta:
Provas
As ferramentas da qualidade permitem análises de fatos e auxiliam no processo de tomada de decisão com base em dados. Correlacione as ferramentas da gestão de qualidade total conforme os conceitos abaixo:
I. Fornece uma lista de itens a serem conferidos por meio da qual se consegue a coleta rápida de dados para análise quantitativa.
II. É utilizada para monitorar o desempenho de um processo de saídas frequentes, ou seja, fornece um retrato sobre determinado processo em andamento.
III. Consiste na representação dos passos de um processo.
IV. Representa visualmente a dispersão de dados variáveis.
Provas
Caderno Container