Foram encontradas 25 questões.
Observe a imagem a seguir.

As medidas do paquímetro, em milímetros e em polegadas, são de
Provas
Observe a imagem a seguir.

A medida no micrometro, em milésimo de polegadas, é de
Provas
Observe a imagem a seguir.

A medida mostrada no micrometro é de
Provas
Observe a imagem a seguir.

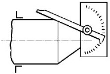
Após tornear o cone externo utilizamos uma ferramenta para conferência do ângulo denominado de
Provas
A imagem a seguir representa um tipo de torneamento.

Esse torneamento é denominado de
Provas
Observe a imagem a seguir.

Para realizar o primeiro faceamento de uma peça circular, devemos manter as medidas
Provas
A operação que consiste em fazer no material uma superfície plana perpendicular ao eixo geométrico da peça, mediante a ação de uma ferramenta de corte que se desloca por meio do carro transversal.
O enunciado descreve o
Provas
É correto afirmar que NÃO há a necessidade de aplicação de fluido de corte na calibração com alargador para os materiais de ferro
Provas
No processo de calibragem do furo com alargador manual, são obtidos furos padronizados com classe de tolerância
Provas
Operação que consiste em fazer um furo cilíndrico por deslocamento de uma broca montada no cabeçote móvel, com o material em rotação. Serve, em geral, de preparação do material para operações posteriores de alargamento, torneamento e roscagem internos. Esse processo descrito é uma furação
Provas
Caderno Container