Foram encontradas 80 questões.
Um canal retangular de 3 m de largura transporta uma vazão de 14 m3 /s. Na seção I, a altura da lâmina d’água uniforme é de 0,60 m e a altura crítica é de 1,30 m. Na seção II, o canal sofre uma redução pontual que produz um ressalto a montante de II e, a jusante de I. Nessa seção II, a altura da lâmina d’água crítica é de 1,75 m. O canal é suficientemente longo para que na seção III o escoamento volte a ser uniforme. A vazão, a rugosidade e a declividade de fundo são constantes ao longo do canal.

No que diz respeito ao número de Froude, o escoamento nas seções I e III é, respectivamente:
Provas
A execução de impermeabilização de edificações e construções em geral deve atender às determinações e orientações previstas em norma.
Antes da aplicação de argamassa modificada com polímero, um substrato de concreto (quando na horizontal) deve ser umedecido e receber uma camada de:
Provas
- Gerenciamento, Planejamento e Controle de Obras
- Orçamento no Planejamento e Controle de Obras na Engenharia Civil
Para executar um serviço de 1 m2 de impermeabilização e proteção de superfície com papel KRAFT betumado duplo são consumidos:

A tabela mostra o custo desses insumos, incluindo leis sociais.

Considerando um BDI nulo, o custo desse serviço, incluindo mão de obra e materiais, é:
Provas
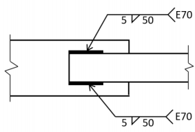
A figura a seguir ilustra uma ligação soldada de duas barras chatas, a respectiva simbologia e descrições.

Essa ligação consiste em solda:
Provas

Provas
Para realizar a construção de um aeroporto com pista de 4 km de comprimento, uma empresa desenvolveu um projeto em CAD no qual a pista apresentava comprimento de 2 cm.
A escala desse projeto é:
Provas
João é o engenheiro civil responsável pela elaboração do projeto e pela execução da obra de construção de um prédio de três pavimentos. O projeto estava eivado de falhas técnicas e a execução das obras não contou com as cautelas previstas nas normas de regência. Assim, em razão da conduta imperita do engenheiro, no curso da obra, a construção entrou em colapso e desabou, ocasionando a morte do pedreiro José.
No caso em tela, João:
Provas
A ABNT fornece diretrizes para a execução de pinturas em edificações não industriais, estabelecendo uma preparação para cada tipo de superfície, que deve ser realizada antes da aplicação do acabamento.
Lavar com solução de água e detergente neutro, enxaguar e aguardar a secagem é a preparação necessária a uma superfície (em bom estado) para alvenaria do tipo:
Provas
A execução de alvenaria de tijolos e blocos cerâmicos, sem função estrutural, é muito empregada nas edificações. Com relação às condições de execução estabelecidas pela ABNT, analise as afirmativas a seguir.
I. As alvenarias apoiadas em alicerces devem ser executadas no mínimo 48 horas após a impermeabilização dos alicerces.
II. Recomenda-se chapiscar a face da estrutura que fica em contato com a alvenaria.
III. No caso de alvenaria de blocos de vedação, estes devem ser usados com furos na vertical, exceto em disposições construtivas particulares.
Está correto o que se afirma em:
Provas
Uma tubulação vertical de 200 mm de diâmetro apresenta, em um pequeno trecho, uma seção contraída de 100 mm no diâmetro. Nesse ponto II, a pressão é de 10,3 mca (1 atm). Em uma seção I, situada 2 m acima da seção contraída II, a pressão é de 11,3 mca.

Desprezando as perdas internas por atrito, a velocidade na seção I é de:
Use Bernoulli e g = 10 m/s2 .
Provas
Caderno Container