Foram encontradas 765 questões.
- Desenho Técnico
- Expressão e Representação
- Instalações PrediaisInstalações Elétricas
- Instalações PrediaisTelefonia
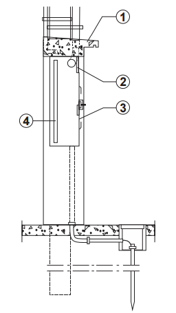
A figura abaixo representa o corte de um poste de entrada de energia e telefone.

Os materiais apontados em sequência numérica de 1 a 4 são, correta e respectivamente,
Provas
Questão presente nas seguintes provas
A figura abaixo representa o sistema de esgoto, em corte, de uma pia de cozinha.

Os números 1 e 2 correspondem, correta e respectivamente, a:
Provas
Questão presente nas seguintes provas
Com relação à Política Nacional de Conservação e uso racional de energia, compete ao Grupo Técnico para Eficientização de
Energia em Edificações
Provas
Questão presente nas seguintes provas
O arquiteto, professor e teórico argentino Ramón Gutierrez, ao criticar a produção arquitetônica nos países latino-americanos
que busca, através de representações “historicistas”, identidade com o passado, com um momento histórico ou com uma
expressão formal, prescindindo do lugar e do contexto onde se deu originalmente, refere-se ao estilo:
Provas
Questão presente nas seguintes provas
A alienação de bens móveis da Administração pública subordinada à existência de interesse público devidamente justificado,
será precedida de avaliação, dependerá de avaliação prévia e de licitação, dispensada esta em caso de
Provas
Questão presente nas seguintes provas
- Planejamento e Controle de ObrasCanteiros de Obras
- Planejamento e Controle de ObrasFiscalização
- Planejamento e Controle de ObrasSegurança do TrabalhoConstrução Civil
Em vistoria a uma obra denunciada por supostas irregularidades no que se refere às condições e meio ambiente de trabalho, foi
constatada uma escavação onde os materiais retirados eram depositados a uma distância de quatro metros a partir da borda do
talude. Pode-se considerar que a obra se encontra em condição regular, desde que a profundidade da escavação seja
Provas
Questão presente nas seguintes provas
- Planejamento e Controle de ObrasCanteiros de Obras
- Tecnologia das ConstruçõesSistemas e Elementos Construtivos
Sobre a coordenação modular na construção civil no Brasil, é correto afirmar que
Provas
Questão presente nas seguintes provas
De acordo com a Norma Brasileira para Avaliação de Custos Unitários de Construção para Incorporação Imobiliária e outras
disposições para condomínios edilícios − Procedimento, a coleta de preços deve
Provas
Questão presente nas seguintes provas
Analise as seguintes afirmativas a respeito do comando EXPLODE no AutoCAD 2012: I. Os objetos, ao serem explodidos, podem mudar de localização, porém a cor ou o tipo de linha não se modificam. II. Hachuras explodidas são convertidas em várias linhas e pontos, o que faz aumentar o tamanho do arquivo. III. Explodir cotas é um procedimento recomendável, pois agiliza o processo de revisão. Está correto o que consta APENAS em
Provas
Questão presente nas seguintes provas
Empreitada por preço global é
Provas
Questão presente nas seguintes provas
Cadernos
Caderno Container