Foram encontradas 70 questões.
A figura mostra o esquema básico de funcionamento de um elevador com contrapeso.

Dados: Massa do elevador: 800 kg
Massa do contrapeso: 400 kg
Aceleração da gravidade: 10 m/s2
Desprezar as força de atrito.
A potência necessária do motor elétrico na subida do elevador, com uma velocidade constante de 1,5 m/s, é:
Provas
Os sistemas de ar-condicionado necessitam passar por limpeza e manutenção periódicas para se evitar a contaminação do ar que entra nas edificações. Algumas instalações, segundo a Portaria nº 3.523, de 28 de agosto de 1998, necessitam de um plano de manutenção, operação e controle (PMOC). Por essa resolução, as instalações que necessitam desse plano são aquelas com capacidade de refrigeração de, no mínimo,
Provas
Muitos materiais que são utilizados nos projetos mecânicos devem passar pelo ensaio de impacto. Um dos objetivos do ensaio de impacto é
Provas
A utilização de variadores de frequência em motores elétricos de corrente alternada para controle da rotação tem se tornado cada vez mais frequente. Um variador foi instalado em um motor de 4 polos, e deseja-se alterar a rotação para 1 200 rpm. Para essa condição, qual deve ser a frequência a ser ajustada no inversor?
Provas
As instalações de condicionamento de ar devem ser dimensionadas atendendo a necessidades de temperatura e umidade de cada ambiente. Para esse dimensionamento, deve ser calculada a vazão eficaz de ar exterior, conforme a norma NBR 16401. A vazão eficaz corresponde à vazão de ar relacionada
Provas
No projeto de instalações hidráulicas, é necessário o correto levantamento da curva característica da instalação (CCI). A CCI sobreposta à curva característica da bomba (CCB) determina
Provas
O Autocad é um dos softwares de CAD mais utilizados no desenvolvimento de projetos. Ele apresenta uma série de comandos que servem para facilitar a realização do desenho.

Quando se deseja criar múltiplas cópias de um elemento do desenho tanto em disposição linear quanto em circular, o comando utilizado no Autocad 2016 é:
Provas
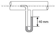
Um tubo de Pitot é um instrumento de medição muito utilizado para medir a velocidade de escoamento de gases. Um tubo de Pitot foi colocado juntamente com um manômetro diferencial em uma tubulação de escoamento de ar, conforme mostra a figura.

Sabendo-se que o fluido utilizado no manômetro diferencial é água com peso específico igual a 10 000 N/m3 e que o peso específico do ar é igual a 10 N/m3, qual a velocidade de escoamento do ar no ponto de medição do interior do tubo em m/s?
Adotar g = 10 m/s2
Provas
A Lei nº 8.666/93 estabelece as normas gerais sobre as licitações e contratos pertinentes a obras, serviços, compras, alienações e locações no âmbito dos poderes da União, dos Estados e dos Munícipios. No caso de compras, a licitação é dispensável para obras e serviços caso o valor não supere qual porcentagem dos valores limites colocados na lei?
Provas
Utilize a figura para responder a questão.

Se as engrenagens desse sistema são de dentes retos e possuem módulo igual a 2, qual a distância entre centros das engrenagens solar e planetária?
Provas
Caderno Container