Foram encontradas 90 questões.
o reinado do celular
De alto a baixo da pirâmide social, quase todas as pessoas que eu conheço possuem celular. É realmente um grande quebra-galho. Quando estamos na rua e precisamos dar um recado, é só sacar o aparelhinho da bolsa e resolver a questão, caso não dê pra esperar chegar em casa. Pra isso - e só pra isso - serve o telefone móvel, na minha inocente opinião.
Ao contrário da maioria das mulheres, nunca fui fanática por telefone, incluindo o fixo. Uso com muito comedimento para resolver assuntos de trabalho, combinar encontros, cumprimentar alguém, essas coisas relativamente rápidas. Fazer visita por telefone é algo para o qual não tenho a menor paciência. Por celular, muito menos. Considero-o um excelente resolvedor de pendências e nada mais.
Logo, você pode imaginar meu espanto ao constatar como essa engenhoca se transformou no símbolo da neurose urbana. Outro dia fui assistir a um show. Minutos antes de começar, o lobby do teatro estava repleto de pessoas falando ao celular. "Vou ter que desligar, o espetáculo vai começar agora". Era como se todos estivessem se despedindo antes de embarcar para a lua. Ao término do show, as luzes do teatro mal tinham acendido quando todos voltaram a ligar seus celulares e instantaneamente se puseram a discar.- Para quem? Para quê? Para contar sobre o show para os amigos, para saber o saldo no banco, para o tele-horóscopo?? Nunca vi tamanha urgência em se comunicar à distância. Conversar entre si, com o sujeito ao lado, quase ninguém conversava.
O celular deixou de ser uma necessidade para virar uma ansiedade. E toda ânsia nos mantém reféns. Quando vejo alguém checando suas mensagens a todo minuto e fazendo ligações triviais em público, não imagino estar diante de uma pessoa ocupada e poderosa, e sim de uma pessoa rendida: alguém que não possui mais controle sobre seu tempo, alguém que não consegue mais ficar em silêncio e em privacidade. E deixar celular em cima de mesa de restaurante, só perdoo se o cara estiver com a mãe no leito de morte e for ligeiramente surdo.
Isso tudo me ocorreu enquanto lia o livro infantil O menino que queria ser celular, de Marcelo Pires, com ilustrações de Roberto Lautert. Conta a história de um garotinho que não suporta mais a falta de comunicação com o pai e a mãe, já que ambos não conseguem desligar o celular nem por um instante, nem no fim de semana - levam o celular até para o banheiro. O menino não tem vez. Ai a ideia: se ele fosse um celular, receberia muito mais atenção.
Não é história da carochinha, isso rola pra valer. Adultos e adolescentes estão virando dependentes de um aparelho telefônico e desenvolvendo uma nova fobia: medo de ser esquecido. E dá-lhe falar a toda hora, por qualquer motivo, numa esquizofrenia considerada, ora, ora, moderna.
Os celulares estão cada dia menores e mais fininhos. Mas são eles que estão botando muita gente na palma da mão.
(MEDEIROS, Martha. Russa; Coisas da 2013. p. 369-370.)
Em que opção a reescritura do texto está INCORRETA, de acordo com a norma padrão?
Provas
Questão presente nas seguintes provas
O ângulo que a reta normal à curva C, definida por !$ f(x) = x^{x-1} !$ no ponto !$ p(2,2) !$, faz com a reta !$ r:3x+2y-5=0 !$ é
Provas
Questão presente nas seguintes provas
o reinado do celular
De alto a baixo da pirâmide social, quase todas as pessoas que eu conheço possuem celular. É realmente um grande quebra-galho. Quando estamos na rua e precisamos dar um recado, é só sacar o aparelhinho da bolsa e resolver a questão, caso não dê pra esperar chegar em casa. Pra isso - e só pra isso - serve o telefone móvel, na minha inocente opinião.
Ao contrário da maioria das mulheres, nunca fui fanática por telefone, incluindo o fixo. Uso com muito comedimento para resolver assuntos de trabalho, combinar encontros, cumprimentar alguém, essas coisas relativamente rápidas. Fazer visita por telefone é algo para o qual não tenho a menor paciência. Por celular, muito menos. Considero-o um excelente resolvedor de pendências e nada mais.
Logo, você pode imaginar meu espanto ao constatar como essa engenhoca se transformou no símbolo da neurose urbana. Outro dia fui assistir a um show. Minutos antes de começar, o lobby do teatro estava repleto de pessoas falando ao celular. "Vou ter que desligar, o espetáculo vai começar agora". Era como se todos estivessem se despedindo antes de embarcar para a lua. Ao término do show, as luzes do teatro mal tinham acendido quando todos voltaram a ligar seus celulares e instantaneamente se puseram a discar.- Para quem? Para quê? Para contar sobre o show para os amigos, para saber o saldo no banco, para o tele-horóscopo?? Nunca vi tamanha urgência em se comunicar à distância. Conversar entre si, com o sujeito ao lado, quase ninguém conversava.
O celular deixou de ser uma necessidade para virar uma ansiedade. E toda ânsia nos mantém reféns. Quando vejo alguém checando suas mensagens a todo minuto e fazendo ligações triviais em público, não imagino estar diante de uma pessoa ocupada e poderosa, e sim de uma pessoa rendida: alguém que não possui mais controle sobre seu tempo, alguém que não consegue mais ficar em silêncio e em privacidade. E deixar celular em cima de mesa de restaurante, só perdoo se o cara estiver com a mãe no leito de morte e for ligeiramente surdo.
Isso tudo me ocorreu enquanto lia o livro infantil O menino que queria ser celular, de Marcelo Pires, com ilustrações de Roberto Lautert. Conta a história de um garotinho que não suporta mais a falta de comunicação com o pai e a mãe, já que ambos não conseguem desligar o celular nem por um instante, nem no fim de semana - levam o celular até para o banheiro. O menino não tem vez. Ai a ideia: se ele fosse um celular, receberia muito mais atenção.
Não é história da carochinha, isso rola pra valer. Adultos e adolescentes estão virando dependentes de um aparelho telefônico e desenvolvendo uma nova fobia: medo de ser esquecido. E dá-lhe falar a toda hora, por qualquer motivo, numa esquizofrenia considerada, ora, ora, moderna.
Os celulares estão cada dia menores e mais fininhos. Mas são eles que estão botando muita gente na palma da mão.
(MEDEIROS, Martha. Russa; Coisas da 2013. p. 369-370.)
Qual a estratégia argumentativa utilizada pela autora, no 3º parágrafo, para defender sua tese?
Provas
Questão presente nas seguintes provas
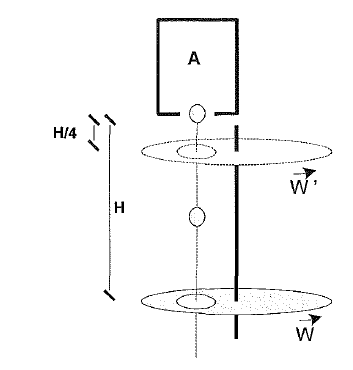
Analise a figura abaixo.

Na figura acima temos um dispositivo A que libera partículas a partir do repouso com um período T=3s. Logo abaixo do dispositivo, a uma distância H, um disco contém um orifício que permite a passagem de todas as partículas liberadas pelo dispositivo. Sabe-se que entre a passagem de duas partículas, o disco executa 3 voltas completas "em torno de seu eixo. Se elevarmos o disco a uma altura H/4 do dispositivo, qual das opções abaixo exibe o conjunto de três velocidades angulares w', em rad/s, possíveis para o disco, de forma tal, que todas as partículas continuem passando pelo seu orifício?
Dado: considere !$ \pi=3 !$
Provas
Questão presente nas seguintes provas
Which is the correct alternative to complete the dialogue?
Susan: What did George ask you yesterday?
Sandy: He asked me .
Provas
Questão presente nas seguintes provas
Os celulares
Resolvi optar pela forma de plural, pois vejo tanta gente agora com, pelo menos, dois. O que me pergunto é como se comportaria a maioria das pessoas sem celular, como viver hoje sem ele? Uma epidemia neurótica grave atacaria a população? Certamente! Quem não tem seu celular hoje em dia? Crianças, cada vez mais crianças, lidam, e bem, com ele. Apenas uns poucos retrógrados, avessos ao progresso tecnológico. A força consumista do aparelho foi crescendo com a possibilidade de suas crescentes utilizações. Me poupem de enumerá-las, pois só sei de algumas. De fato, ele faz hoje em dia de um tudo. Diria mesmo que o celular veio a modificar as relações do ser humano com a vida e com as outras pessoas.
Até que não custei tanto assim a aderir a este telefoninho! Nem posso deixar de reconhecer que ele tem me quebrado uns galhos importantes no corre-corre da vida. Mas me utilizo dele pouco e apenas para receber e efetuar ligações. Nem lembro que ele marca as horas, possui calendário. É verdade, recebi uns torpedos e, com dificuldade, enviei outros, bem raros. Imagine tirar fotos, conectá-lo à internet, ao Facebook! Não quero passar por um desajustado à vida moderna. Isto não! No computador, por exemplo, além dos e-mails, participo de rede social, digito (mal), é verdade, meus textos, faço lá algumas compras e pesquisas... Fora dele, tenho meus cartões de crédito, efetuo pagamentos nas máquinas bancárias e, muito importante, sei de cabeça todas as minhas senhas, que vão se multiplicando. Haja memória!
Mas, no caso dos celulares, o que me chama mesmo a atenção é que as pessoas parecem não se desgrudar dele, em qualquer situação, ou ligando para alguém, ou entrando em contato com a internet, acompanhando o movimento das postagens do face, ou mesmo brincando com seus joguinhos, como procedem alguns taxistas, naqueles instantes em que param nos sinais ou em que o trânsito está emperrado.
Não há como negar, contudo, que esta utilização constante do aparelhinho tem causado desconfortos sociais. Comenta a Danuza Leão: "Outro dia fui a um jantar com mais seis pessoas e todas elas seguravam um celular. Pior, duas delas, descobri depois, trocavam torpedos entre elas." Me sinto muito constrangido quando, num grupo, em torno de uma mesa, tem alguém, do meu lado, falando, sem parar, pelo celular. Pior, bem pior, quando estou só com alguém, e esta pessoa fica atendendo ligações contínuas, algumas delas com aquela voz abafada, sussurrante ... Pode? É frequente um casal se sentar a uma mesa colada à minha, em um restaurante e, depois, feitos os pedidos aos garçons, a mulher e o homem tomam, de imediato, os seus respectivos celulares. E ficam neles conversando quase o tempo todo, mesmo após o início da refeição. Se é um casal de certa idade, podem me argumentar, não devia ter mais nada para conversar. Afinal, casados há tanto tempo! Porém, vejo também casais bem mais jovens, com a mesma atitude, consultando, logo ao se sentarem, os celulares para ver o movimento nas redes sociais, ou enviando torpedos, a maior parte do tempo. Clima de namoro, de sedução, é que não brotava dali. Talvez, alguém parece ter murmurado em meu ouvido, assim os casais encontraram uma maneira eficiente de não discutirem. Falando com pessoas não presentes ali. A tecnologia a serviço do bom entendimento, de uma refeição em paz.
Mas vivencio sempre outras situações em que o uso do celular me prende a atenção. Entrei em um consultório médico, uma senhora aguardava sua vez na sala de espera. Deu para perceber que ela acabava de desligar seu aparelho. Mas, de imediato, fez outra chamada. Estava sentado próximo a ela, que falava bem alto. A ligação era para uma amiga bem íntima, estava claro pela conversa desenrolada, desenrolada mesmo. Em breves minutos, não é por nada não, fiquei sabendo de alguns "probleminhas" da vida desta senhora. Não, não vou aqui devassar a vida dela, nem a própria me deu autorização para tal ... Afinal, sou uma pessoa discreta. Não pude foi evitar escutar o que minha companheira de sala de espera ... berrava. Para não dizer, no entanto, que não contei nada, também é discrição demais, só um pequeno detalhe, sem maior surpresa: ela estava a ponto de estrangular o marido. O homem, não posso afiançar, aprontava as suas. Do outro lado, a amigona parecia estimular bem a infortunada senhora. De repente, me impedindo de saber mais fatos, a atendente chama a senhora, chegara a sua hora de adentrar ao consultório do médico. Não sei como ela, bastante exasperada, iria enfrentar um exame, na verdade, delicado. Não deu para vê-la sair pela outra porta. É, os celulares criaram estas situações, propiciando já a formação do que poderá vir a ser chamado de auditeurismo, que ficará, assim, ao lado do antigo voyeurismo.
(UCHÔA, Carlos Eduardo Falcão. Os celulares. In: . A vida e o tempo em tom de conversa. la ed. Rio de Janeiro: Odisseia, 2013. p. 150-153.)
Em que opção o referente do termo sublinhado está corretamente indicado?
Provas
Questão presente nas seguintes provas
How to Become a USNA Midshipman
Posted by: Jacqui Murray | December 8, 2010
There are lots of how-to books on getting in the Naval Academy, but they're quite dry and impersonal. MineBuilding a Midshipman - is from the perspective of a woman who did it (my daughter!) and how she accomplished such a lofty goal. It's down-to-earth and should give confidence to any teen, male or female, considering a military academy as their college of choice.
I wrote this because there was a need for a book like this. When my daughter wanted a step-by-step on how to get into the Naval Academy, alI she could find were books that told her how hard it was, how selective they were, how very few could achieve it. My daughter brushed the negativity off, but I wondered how many kids were discouraged by that approach.
I decided to write a book (a) explaining how to achieve the goal, not why kids couldn't; (b) showing how teens can solve the problems that stand in their way rather than why they can't, and (c) sharing the many but predictable steps that will take a motivated, committed applicant where they want to go rather than why they can't get there. That approach worked for my daughter and I had no doubt it would work for others. From what I hear from readers, it's true. I hope you find it useful.
(MURRAY, Jacqui. Building a USNA Midshiprnan. How to crack the United States Naval Academy Application. 2nd edition, 2008. Adapted from https:// usnaorbust.wordpress.com)
Considering the text, the words "lofty" in "[...] how she accomplished such a lofty goalo" and "brushed off" in " [...] she brushed the negativity off [...] o" mean respectively
Provas
Questão presente nas seguintes provas
Analise o gráfico abaixo.

o trajeto entre duas cidades é de 510km. Considere um veículo executando esse trajeto. No gráfico acima, temos a velocidade média do veículo em três etapas. Com base nos dados apresentados no gráfico, qual a velocidade média, em km/h, estabelecida pelo veículo no trajeto todo?
Provas
Questão presente nas seguintes provas
Which is the correct option to complete this paragraph?
We would like to invite you to participate a conference on the Contemplative Heart of Higher Education that will be held Amherst College April 24-26, 2009.
This year's conference will be the first to be sponsored the new Association for Contemplative Mind in Higher Education, which is affiliated with the Center for Contemplative Mind in Society. The conference will explore the special role that contemplative practices can play in cultivating those capacities of attention, equanimity, wisdom and compassion that are central to the lives our students and ourselves.
(Adapted from http://www.internationalpeaceandconflict.org)
Provas
Questão presente nas seguintes provas
o reinado do celular
De alto a baixo da pirâmide social, quase todas as pessoas que eu conheço possuem celular. É realmente um grande quebra-galho. Quando estamos na rua e precisamos dar um recado, é só sacar o aparelhinho da bolsa e resolver a questão, caso não dê pra esperar chegar em casa. Pra isso - e só pra isso - serve o telefone móvel, na minha inocente opinião.
Ao contrário da maioria das mulheres, nunca fui fanática por telefone, incluindo o fixo. Uso com muito comedimento para resolver assuntos de trabalho, combinar encontros, cumprimentar alguém, essas coisas relativamente rápidas. Fazer visita por telefone é algo para o qual não tenho a menor paciência. Por celular, muito menos. Considero-o um excelente resolvedor de pendências e nada mais.
Logo, você pode imaginar meu espanto ao constatar como essa engenhoca se transformou no símbolo da neurose urbana. Outro dia fui assistir a um show. Minutos antes de começar, o lobby do teatro estava repleto de pessoas falando ao celular. "Vou ter que desligar, o espetáculo vai começar agora". Era como se todos estivessem se despedindo antes de embarcar para a lua. Ao término do show, as luzes do teatro mal tinham acendido quando todos voltaram a ligar seus celulares e instantaneamente se puseram a discar.- Para quem? Para quê? Para contar sobre o show para os amigos, para saber o saldo no banco, para o tele-horóscopo?? Nunca vi tamanha urgência em se comunicar à distância. Conversar entre si, com o sujeito ao lado, quase ninguém conversava.
O celular deixou de ser uma necessidade para virar uma ansiedade. E toda ânsia nos mantém reféns. Quando vejo alguém checando suas mensagens a todo minuto e fazendo ligações triviais em público, não imagino estar diante de uma pessoa ocupada e poderosa, e sim de uma pessoa rendida: alguém que não possui mais controle sobre seu tempo, alguém que não consegue mais ficar em silêncio e em privacidade. E deixar celular em cima de mesa de restaurante, só perdoo se o cara estiver com a mãe no leito de morte e for ligeiramente surdo.
Isso tudo me ocorreu enquanto lia o livro infantil O menino que queria ser celular, de Marcelo Pires, com ilustrações de Roberto Lautert. Conta a história de um garotinho que não suporta mais a falta de comunicação com o pai e a mãe, já que ambos não conseguem desligar o celular nem por um instante, nem no fim de semana - levam o celular até para o banheiro. O menino não tem vez. Ai a ideia: se ele fosse um celular, receberia muito mais atenção.
Não é história da carochinha, isso rola pra valer. Adultos e adolescentes estão virando dependentes de um aparelho telefônico e desenvolvendo uma nova fobia: medo de ser esquecido. E dá-lhe falar a toda hora, por qualquer motivo, numa esquizofrenia considerada, ora, ora, moderna.
Os celulares estão cada dia menores e mais fininhos. Mas são eles que estão botando muita gente na palma da mão.
(MEDEIROS, Martha. Russa; Coisas da 2013. p. 369-370.)
Em que opção o termo sublinhado exerce a mesma função que o pronome destacado em "De alto a baixo da pirâmide social, quase todas as pessoas que eu conheço possuem celular." (1° §)?
Provas
Questão presente nas seguintes provas
Cadernos
Caderno Container