Foram encontradas 752 questões.
Na Inglaterra, anualmente, ocorre a Corrida do Queijo. Nesse evento, são lançados sucessivos queijos em formato redondo, do alto de uma colina, íngreme e irregular. Os queijos descem rolando, e os concorrentes descem correndo para alcançá-los.
Supondo que a altura máxima da colina seja igual a 60 metros e que o queijo seja lançado a partir do ponto A com velocidade igual a 18 km/h, assinale a alternativa correta em relação à velocidade com que ele chegará ao ponto B.
Desconsidere a resistência do ar e o atrito com o solo. Adote g = 10 m/s2.

Provas
Em um recipiente perfeitamente isolado e com capacidade térmica desprezível, 200 g de água a 30 ºC foram misturados a certa quantidade de gelo, inicialmente a –10 ºC. Após o equilíbrio térmico, obteve-se uma mistura de água e gelo. Assinale a alternativa que apresenta corretamente a massa de gelo, em gramas, para que a massa inicial de água não se altere.
Dados: calor específico do gelo = 0,5 cal/g ºC; calor latente de fusão da água = 80 cal/g; calor específico da água = 1 cal/g ºC.
Provas
Uma fonte de frequência constante produz ondas circulares na superfície da água. A onda produzida se propaga com velocidade igual a 1,6 cm/s, e a distância entre duas cristas consecutivas vale 3,2 cm.
A partir das informações apresentadas, é correto afirmar que a frequência, em Hertz, e o período da onda, em segundos, correspondem a:
Provas
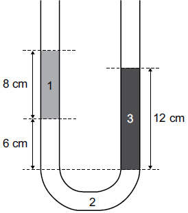
Com o objetivo de observar a influência da profundidade na pressão de um líquido e determinar a densidade de líquidos não miscíveis, a professora de laboratório propôs o seguinte experimento.
Três líquidos de densidade diferentes foram dispostos em um tubo em U conforme mostra a figura a seguir.

O líquido 1 é o Hexano, de densidade desconhecida pelos alunos. O líquido 2 é a água, com densidade igual a 1 g/cm3, e o líquido 3 é o óleo, com densidade igual a 0,9 g/cm3.
A densidade do Hexano, em g/cm3, calculada pelos alunos, é igual a:
Provas
Considere o circuito ideal de associação mista representado a seguir, formado por três lâmpadas de resistência R1, R2 e R3, uma fonte de tensão V ideal e uma chave S inicialmente aberta.

Assinale a alternativa correta em relação ao brilho das lâmpadas de resistência R1 e R2 ao fechar a chave S.
Provas
Um objeto, preso numa extremidade de uma mola elástica, cuja outra extremidade é presa a uma parede, oscila livremente, sem atrito, por um plano horizontal, descrevendo um Movimento Harmônico Simples (MHS), como mostra a figura a seguir.

Se, devido à ação de um agente externo, a amplitude de sua oscilação reduzir à metade, a energia mecânica total do objeto será
Provas
A diferença de potencial entre os terminais de um resistor é de 12 volts; a corrente elétrica que o atravessa é de 2 ampères; a quantidade de carga elétrica que fica nele acumulada, durante a travessia da corrente, é de 4 coulombs.
A energia potencial acumulada e o tempo para que a carga atravesse o resistor são, respectivamente, iguais a:
Provas
Uma substância desconhecida, inicialmente no estado sólido, foi aquecida por uma fonte de potência constante até o estado de vapor. O gráfico a seguir representa a curva de aquecimento dessa substância e permite observar a variação da sua temperatura em função do tempo.

Assinale a alternativa que compara corretamente o calor específico cS, cL e cV no estado sólido, líquido e gasoso, assim como o calor latente LF e LV de fusão e vaporização.
Provas
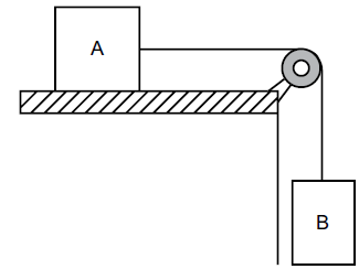
Os blocos representados na figura a seguir estão em repouso. O bloco A, sobre a mesa, tem massa igual a 20 kg e está conectado ao bloco B, suspenso, de massa igual a 7 kg. O fio que conecta os blocos é inextensível. A massa do bloco B corresponde à massa máxima para manter esses blocos em equilíbrio. Adote g = 10 m/s2.

Com base nessas informações, assinale a alternativa correta.
Provas
Quatro bolas de mesma massa foram simultaneamente lançadas do topo de um edifício, de uma altura h, em relação ao solo. Cada uma delas numa direção, todas com a mesma velocidade inicial. Despreze a resistência do ar.

Ao atingirem o solo, as bolas que terão a menor e a maior componente vertical da velocidade, respectivamente, são:
Provas
Caderno Container