Foram encontradas 919 questões.
Para construir uma parede de “meia vez” com 4,00m de comprimento e 2,80m de altura um pedreiro utilizou tijolos cerâmicos vazados de dimensões 9x19x29cm. Admitindo-se uma taxa de consumo de 17,5 tijolos de 9x19x29 por metro quadrado de parede, já inclusos os arremates, sem considerar eventuais perdas no corte dos tijolos, quantos tijolos serão gastos para a referida parede?
Assinale a melhor resposta.
Provas
Observe a figura a seguir.

Com o objetivo de prevenir fissuras de canto nas aberturas (janelas e portas) em paredes de alvenaria o encarregado orientou o pedreiro a utilizar
Provas
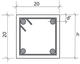
A figura a seguir mostra a seção reta de um pilar (20x20cm) de concreto armado.

Um parâmetro importante para o dimensionamento dos pilares é a posição relativa da armadura de canto, ξ = d’/h.
Determine, em números redondos, a posição relativa da armadura de canto do pilar acima sabendo que o cobrimento adotado foi de 25mm, o diâmetro da armadura longitudinal igual a 16mm e o diâmetro dos estribos 6,3mm.
Provas
De acordo com o item 6.4.2 da ABNT:NBR6118/2014, “[Nos projetos das estruturas correntes, a agressividade ambiental deve ser classificada de acordo com o apresentado na Tabela 6.1 e pode ser avaliada, simplificadamente, segundo as condições de exposição da estrutura ou de suas partes...]”

Fonte: ABNT:NBR6118/2014
Qual deve ser o cobrimento nominal para vigas de concreto armado aplicável às edificações construídas em ambiente urbano cuja classe de agressividade ambiental é moderada com risco pequeno de deterioração estrutural?
Provas
- Gerenciamento, Planejamento e Controle de ObrasOrçamento
- Resistência dos Materiais e Análise EstruturalEstruturas de ConcretoConcreto Armado
Seja a viga hipotética de concreto armado cuja armação encontra-se detalhada abaixo.
Viga V4 (20/70)

⌀ (mm) | Massa linear (kg/m) | Preço (R$/kg) |
5 | 0.16 | 6,00 |
6.3 | 0.25 | 6,00 |
10 | 0.63 | 6,80 |
12.5 | 1.00 | 7,59 |
16 | 1.60 | 9,50 |
Utilizando-se dos dados acima, sem considerar perda no corte dos ferros, qual o custo total de ferro, em números redondos, para executar a vida hipotética dada?
Provas
Qual é o volume de concreto necessário, sem considerar as perdas na concretagem, para executar o pilar vazado de 3m de vão livre cuja seção transversal está representada abaixo?

Provas
Segundo o item 18.7.2.3 da NR-18 toda escavação com profundidade superior a 1,25 m (um metro e vinte e cinco centímetros) só poderá ser iniciada
Provas
Observe a figura a seguir.

Fonte: https://neoipsum.com.br/locacao-de-obra
A figura acima apresenta uma locação de obra utilizando-se de:
Assinale apenas uma opção.
Provas
A instalação de água quente pode ser feita com três materiais, ou uma combinação deles. A escolha do material dependerá de alguns fatores, como: custo, vida útil, coeficiente de dilatação, limite de temperatura, condutividade térmica e mão-de-obra. Assinale a opção que apresenta somente materiais adequados para uma instalação predial de água quente.
Provas
Um ramal hipotético de água fria possui 2 bacias sanitárias, 1 chuveiro e 1 lavatório. Os pesos unitários estão fornecidos no quadro abaixo.
|
Peças |
Quantidade |
Peso unitário |
|
Bacia sanitária |
2 |
40,0 |
|
Chuveiro |
1 |
0,50 |
|
Lavatório |
1 |
0,50 |
A vazão total pode ser estimada pela expressão
Q = C\( \sqrt{\Sigma P} \) onde:
Q - Vazão, em l/s
C - Coeficiente de descarga = 0,30 l/s
Σp - Soma dos pesos de todas as peças alimentadas pelo trecho.
A vazão total estimada é de
Provas
Caderno Container