Foram encontradas 50 questões.
No dia a dia usamos uma representação numérica decimal, ou base 10, que constitui em representar os números usando alfabeto de 10 elementos (0, 1, 2, 3, 4, 5, 6, 7, 8 e 9). Entretanto, existem outras formas de representação, das quais podemos citar as binárias (0 e 1), octal (0, 1, 2, 3, 4, 5, 6 e 7) e hexadecimal (0, 1, 2, 3, 4, 5, 6, 7, 8, 9, A, B, C, D, E e F). Qual é o equivalente na base decimal do número 638 na base octal?
Provas
Correlacione corretamente as unidades de medida com componente ou grandeza:
A – Henry (H);
B – Resistência (\( \Omega \));
C – Capacitância (F);
I – Resistor;
II – Indutor;
III – Capacitor;
A sequência CORRETA é:
Provas
Um técnico de laboratório necessita substituir um resistor de filme de carbono com valor de \( 47k \Omega \) em uma placa de circuito impresso. Sabendo que a possível forma de identificar um resistor é pelo código de cores, qual é a sequência de cores que o técnico deve procurar?
Provas
Ao verificar um componente eletrônico, um técnico observou que o mesmo componente trazia o valor de 0,2 mH. Podemos dizer que se trata de qual componente eletrônico?
Provas
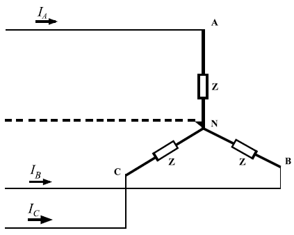
Na figura abaixo temos a representação de uma carga equilibrada ligada em estrela ou Y sendo alimentada por uma fonte trifásica.

Sobre as correntes IA, IB, IC e tensões VAN, VBN e VCN, podemos afirmar:
Provas
Um aluno solicitou a ajuda de um técnico para auxiliá-lo na utilização de dois multímetros para medir tensão e corrente em um circuito puramente resistivo. O aluno estava utilizando os multímetros M1 e M2 conforme a Figura 5 abaixo. O que se pode concluir acerca da utilização dos multímetros?

Provas
Dois capacitores quando em série produzem uma capacitância equivalente de 4,8μF e quando em paralelo uma capacitância de 20μF. Quais são os valores dos capacitores em questão?
Provas
A Figura 3 abaixo ilustra a placa de identificação de um motor de indução. Que tipo de informação podemos extrair da placa?

Provas
As portas lógicas NAND e NOR são consideradas portas universais. Isso se deve ao fato de que em combinações apropriadas podem ser usadas para implementar cada uma das outras operações booleanas conhecidas. Assim, quando solicitado, um técnico foi verificar se tais portas estavam disponíveis no estoque e acabou encontrando alguns Circuitos Integrados (CIs) da família TTL. De acordo com informações das tabelas verdades (Function Table), presentes nos datasheets dos componentes, assinale qual alternativa contém, SOMENTE, as portas solicitadas.
(OBS: “H” -> HIGH (sinal alto) / “L” -> LOW (sinal baixo) / “X” -> Don’t care (não importa)).
Provas
Um determinado circuito digital possui a equação booleana de saída dada por:
Y = (AB + BC' + C)'
As aspas simples representam a operação inversora (NOT). Utilizando as regras de simplificação da álgebra booleana, verifica-se que Y corresponde a seguinte expressão:
Provas
Caderno Container