Magna Concursos

Foram encontradas 50 questões.

3391435 Ano: 2024
Disciplina: Agronomia (Engenharia Agronômica)
Banca: IF-ES
Orgão: IF-ES

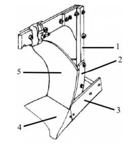
Na figura abaixo é apresentada a constituição de uma aiveca. As partes representadas pelos números 1, 2, 3, 4 e 5 são, RESPECTIVAMENTE:

Enunciado 3880316-1

 

Provas

Questão presente nas seguintes provas
3391434 Ano: 2024
Disciplina: Agronomia (Engenharia Agronômica)
Banca: IF-ES
Orgão: IF-ES

Assinale a afirmativa INCORRETA:

 

Provas

Questão presente nas seguintes provas
3391433 Ano: 2024
Disciplina: Agronomia (Engenharia Agronômica)
Banca: IF-ES
Orgão: IF-ES

Uma unidade armazenadora compra 1.000 toneladas de soja cujo teor de umidade é 15% base úmida (b.u.), quando o ideal seria comercializar o produto com 10% b.u. Sabendo que a porcentagem de umidade contida nos grãos em base úmida é dada pela razão entre o peso da água (Pa) e o peso total (Pt) da amostra e que a porcentagem de umidade em base seca (b.s.) é dada pela razão entre o peso da água (Pa) e o peso da matéria seca (Pms), a quantidade de água que a unidade armazenadora compraria em excesso é?

 

Provas

Questão presente nas seguintes provas
3391432 Ano: 2024
Disciplina: Agronomia (Engenharia Agronômica)
Banca: IF-ES
Orgão: IF-ES

A massa de grãos armazenada é um ecossistema em que a deterioração é o resultado da interação entre variáveis físicas, químicas, biológicas de fontes internas e biológicas de fontes externas. Assinale a alternativa que NÃO representa um exemplo dessas variáveis (ou que menos influencia no processo de deterioração).

 

Provas

Questão presente nas seguintes provas
3391431 Ano: 2024
Disciplina: Agronomia (Engenharia Agronômica)
Banca: IF-ES
Orgão: IF-ES

O processo de secagem de grãos em camada fixa pode ser representado em um gráfico psicrométrico. Assim que o ar move através do aquecedor (ponto de estado A para o ponto de estado B), sua temperatura e sua entalpia aumentam e, ao atravessar a camada de grãos (ponto de estado B para o ponto de estado C), a umidade relativa e a razão de mistura aumentam, a temperatura de bulbo seco diminui e a entalpia permanece constante. Nesse caso, a camada de grãos deve ser revolvida periodicamente.

O gráfico psicométrico que melhor representa o processo descrito acima é:

 

Provas

Questão presente nas seguintes provas
3391430 Ano: 2024
Disciplina: Agronomia (Engenharia Agronômica)
Banca: IF-ES
Orgão: IF-ES

Uma noção sobre estrutura, composição e propriedades físicas dos produtos agrícolas como grãos e derivados, deve ser pré-requisito para o estudo sobre secagem e armazenamento destes produtos, bem como para a adaptação de equipamentos já existentes. Sobre a estrutura, composição e propriedades físicas dos grãos está CORRETO afirmar que:

 

Provas

Questão presente nas seguintes provas
3391429 Ano: 2024
Disciplina: Agronomia (Engenharia Agronômica)
Banca: IF-ES
Orgão: IF-ES

Desconsiderando elevadores e correias transportadoras, a alternativa que melhor representa a sequência de processamento de grãos dentro de uma Unidade Armazenadora de Grãos (UAG) é:

 

Provas

Questão presente nas seguintes provas
3391428 Ano: 2024
Disciplina: Agronomia (Engenharia Agronômica)
Banca: IF-ES
Orgão: IF-ES

Sobre as estruturas construídas para armazenagem de grãos NÃO É CORRETO afirmar que:

 

Provas

Questão presente nas seguintes provas
3391427 Ano: 2024
Disciplina: Agronomia (Engenharia Agronômica)
Banca: IF-ES
Orgão: IF-ES

A ventilação insuficiente em um galpão destinado à produção de animais pode aumentar a concentração de poluentes no ar. As afirmações a seguir estão corretas, EXCETO:

 

Provas

Questão presente nas seguintes provas
3391426 Ano: 2024
Disciplina: Agronomia (Engenharia Agronômica)
Banca: IF-ES
Orgão: IF-ES

Os telhados são constituídos da cobertura e da estrutura de sustentação. As estruturas de sustentação do telhado normalmente são de madeira ou metálicas. Abaixo é apresentado o esquema de uma estrutura de madeira.

Enunciado 3880175-1

Nesta estrutura, os números correspondentes ao pendural, perna (empena) e linha são, RESPECTIVAMENTE:

 

Provas

Questão presente nas seguintes provas