Foram encontradas 50 questões.
O uso de lubrificantes gasosos, líquidos ou sólidos na interface deslizante dos elementos de máquinas e equipamentos traz muitos benefícios ao funcionamento dos dispositivos mecânicos ou eletromecânicos em geral, sobretudo no coeficiente de atrito. Para os lubrificantes líquidos ou sólidos, existem duas propriedades essenciais que devem ser partilhadas. São elas:
Provas
A figura abaixo mostra os esforços aplicados no decorrer da extensão de uma viga, bem como as distâncias entre os pontos de aplicação das forças em relação aos apoios A e B. Sabendo-se que P = 5 kN, a = 2 m e L = 6 m, assinale a alternativa que indica os valores corretos das reações nos apoios A e B.

Provas
A lei de Pascal afirma que a pressão aplicada num determinado ponto de um fluido em repouso é transmitida de forma integral a todos os demais pontos do fluido. Assim, ao aplicarmos uma força de 300 N no êmbolo (1) de uma prensa hidráulica, qual será a força transmitida no êmbolo (2), sabendo-se que A1 = 20 cm2 e A2 = 200 cm2?

Provas
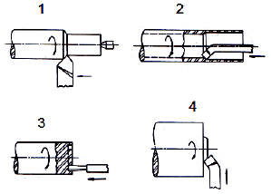
A válvula direcional, representada na figura abaixo, é:

Provas
O processo de torneamento é um método de usinagem utilizado para confeccionar superfícies de revolução por meio de ferramentas de corte apropriadas, de forma que a peça gira em torno do eixo principal de rotação da máquina e a ferramenta de corte avança simultaneamente em uma trajetória coplanar com o referido eixo.
Dessa maneira, assinale a alternativa que relaciona corretamente o método de torneamento utilizado de acordo com a forma da trajetória indicada nas figuras abaixo.

Provas
Nos termos do artigo 97 da Lei nº 8.112/1990, constitui-se em direito do servidor, sem qualquer prejuízo, ausentar-se do serviço
Provas
No tocante ao tratamento das informações pessoais, a Lei nº 12.527/2011 estabelece que
Provas
Conforme disciplina o regime jurídico dos servidores públicos civis da União, em seu artigo 35, a dispensa de função de confiança se dá
Provas
Ao tratar das disposições preliminares, o regime jurídico dos servidores públicos civis da União estabelece que o conjunto de atribuições e responsabilidades previstas na estrutura organizacional de um ente da Administração Pública, as quais devem ser cometidas a um servidor, denomina-se
Provas
De acordo com a Lei nº 8.112/1990, o retorno do servidor estável ao cargo anteriormente ocupado, quando decorrente de inabilitação em estágio probatório relativo a outro cargo, é
Provas
Caderno Container