Foram encontradas 1.896 questões.
O operador de um trator NÃO deve usar o cinto de segurança quando o trator estiver desprovido de:
Provas
O manual de um trator recomenda que um operador realize uma verificação e limpeza de determinada peça de forma periódica, sempre que a máquina alcançar um número de horas de operação igual a 60. Se este equipamento é utilizado 6 horas por dia, em todos os dias da semana, a quantidade de vezes por mês que este serviço de manutenção deverá ser realizado pelo operador é aproximadamente igual a:
Provas
A manutenção realizada normalmente pelo próprio operador, de forma periódica, visando não ocorrerem danos à máquina é denominada de:
Provas
Nos tratores agrícolas dos tipos 4x2 e 4x2 TDA, os freios podem ser acionados:
Provas
A figura abaixo ilustra um medidor presente no painel de instrumentos de um trator:

Este medidor é denominado:
Provas
Em tratores agrícolas, é possível encontrar um eixo acionador, bastante útil para realizar movimentos de rotação, especialmente em pulverizadores, enxadas rotativas e roçadoras. Este eixo é conhecido pela sigla:
Provas
O sistema de rodado e tem a função de garantir a estabilidade, direcionamento e tração de um trator. O sistema de rodado do tipo 4x2 (TDA) é caracterizado por ter:
Provas
Observe atentamente a figura abaixo, que ilustra os componentes de um motor agrícola:

Fonte: “Tratores agrícolas, coleção SENAR”
Os elementos indicados pelos números 2 e 3 são chamados respectivamente de:
Provas
O princípio básico do funcionamento dos motores dos tratores é:
Provas
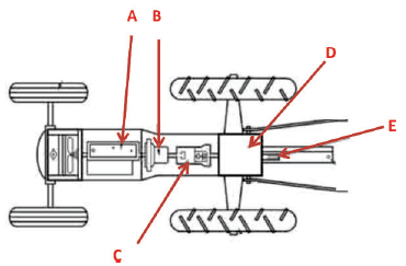
A figura abaixo mostra a vista de cima de um trator agrícola:

Fonte: “Tratores agrícolas, coleção SENAR”
A localização do diferencial e redutores finais está sinalizada pela seta com a letra:
Provas
Caderno Container