Foram encontradas 80 questões.
Uma fonte sonora está situada no ponto de coordenadas x = 0 m e y = 0 m e outra no ponto de coordenadas x = 0 m e y = 4 m. As ondas produzidas pelas duas fontes têm a mesma frequência e estão em fase. Um observador situado no ponto de coordenadas x = 3 m e y = 0 m nota que a intensidade do som diminui quando ele se move paralelamente ao eixo y no sentido positivo ou no sentido negativo. Se a velocidade do som no local é 340 m/s, a menor frequência das fontes, em Hz, que pode explicar essa observação é
Provas

A figura acima, cujas cotas estão em metros, exibe uma estrutura em equilíbrio formada por três barras rotuladas AB, BC e CD. Nos pontos B e C existem cargas concentradas verticais. A maior força de tração que ocorre em uma barra, em kN, e a altura h, em metros, da estrutura são
Consideração:
• as barras são rígidas, homogêneas, inextensíveis e de pesos desprezíveis.
Provas

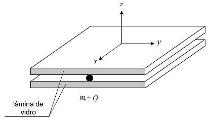
Uma partícula de massa m e carga + Q encontra-se confinada no plano XY entre duas lâminas infinitas de vidro, movimentando-se sem atrito com vetor velocidade (v,0,0) no instante t = 0, quando um dispositivo externo passa a gerar um campo magnético dependente do tempo, cujo vetor é (f(t),f(t),B), onde B é uma constante. Pode-se afirmar que a força normal exercida sobre as lâminas é nula quando t é
Consideração:
• desconsidere o efeito gravitacional.
Provas

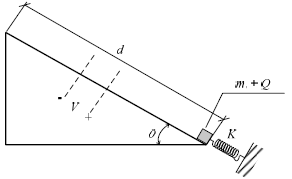
Um corpo de carga positiva, inicialmente em repouso sobre uma rampa plana isolante com atrito, está apoiado em uma mola, comprimindo-a. Após ser liberado, o corpo entra em movimento e atravessa uma região do espaço com diferença de potencial V, sendo acelerado. Para que o corpo chegue ao final da rampa com velocidade nula, a distância d indicada na figura é
Dados:
• deformação inicial da mola comprimida: x;
• massa do corpo: m;
• carga do corpo: + Q;
• aceleração da gravidade: g;
• coeficiente de atrito dinâmico entre o corpo e a rampa: !$ \mu !$;
• ângulo de inclinação da rampa: !$ θ !$;
• constante elástica da mola: K.
Considerações:
• despreze os efeitos de borda;
• a carga do corpo permanece constante ao longo da trajetória.
Provas
Sejam dois quadrados de lado a situados em planos distintos que são paralelos entre si e situados a uma distância d, um do outro. A reta que liga os centros dos quadrados é perpendicular a esses planos. Cada diagonal de um quadrado é paralela a dois lados do outro quadrado. Liga-se cada vértice de cada quadrado aos dois vértices mais próximos do outro quadrado. Obtêm-se, assim, triângulos que, conjuntamente com os quadrados, formam um sólido S. Qual a distância entre estes planos distintos em função de a, de modo que os triângulos descritos acima sejam equiláteros?
Provas
Em um triângulo !$ ABC !$, o ponto !$ D !$ é o pé da bissetriz relativa ao ângulo !$ \hat{A} !$. Sabe-se que !$ \overline{AC}=\overline{AD} !$, !$ r={\large{\overline{AB} \over \overline{AC}}} !$ e que !$ \hat{C}= \alpha !$
Portanto o valor de !$ \sin^2 \alpha !$ é
Provas
Considere quatro pontos distintos coplanares. Das distâncias entre esses pontos, quatro delas valem a e duas delas valem b. O valor máximo da relação !$ \left({\large{b \over a}}\right)^2 !$ é
Provas
O lugar geométrico dos pontos em !$ \mathbb{R}^2 !$ equidistantes às retas de equações !$ 4x+3y-2=0 !$ e !$ 12x-16y+5=0 !$ é
Provas
Seja a equação !$ {\large{\sin (2x) \over \tan x}}={\large{1 \over 2}} !$. As soluções dessa equação para !$ x \epsilon \left[ -{\large{\pi \over 2}}, \pi \right] !$ formam um polígono no círculo trigonométrico de área
Provas
Quantos inteiros k satisfazem à desigualdade !$ 2 \sqrt{\log_{10}k-1}+10 \log_{10-1}k^{1/4}+3>0 !$?
Provas
Caderno Container