Magna Concursos

Foram encontradas 80 questões.

1143926 Ano: 2018
Disciplina: Matemática
Banca: IME
Orgão: IME
Em um tetraedro !$ ABCD !$, os ângulos !$ A\hat{B}C !$ e !$ A\hat{C}B !$ são idênticos e a aresta !$ AD !$ é ortogonal à !$ BC !$. A área do !$ Δ ABC !$ é igual à área do !$ Δ ACD !$, e o ângulo !$ M\hat{A}D !$ é igual ao ângulo !$ M\hat{D}A !$, onde !$ M !$ é ponto médio de !$ BC !$. Calcule a área total do tetraedro !$ ABCD !$, em !$ cm^2 !$, sabendo que !$ BC=2cm !$, e que o ângulo !$ B\hat{A}C !$ é igual a 30º.
 

Provas

Questão presente nas seguintes provas
1143890 Ano: 2018
Disciplina: Inglês (Língua Inglesa)
Banca: IME
Orgão: IME
PARA A QUESTÃO, ESCOLHA A ALTERNATIVA QUE COMPLETA O TEXTO 1 CORRETAMENTE.
Texto 1
FROM FILM STAR TO FREQUENCY-HOPPING INVENTOR
I’m guessing that some younger readers may not know who Hedy Lamarr was. Old-timers remember her as a popular Hollywood star of the mid-20th century. Characterized by MGM studio mogul Louis B. Mayer as “the most beautiful girl in the world,” a title said to originally have been bestowed by stage director Max Reinhardt, she appeared in some 25 Hollywood films between 1938 and 1958.
Unknown to her fans and many of her Hollywood colleagues was her creative side. They were unaware that when the cameras were not rolling, Ms. Lamarr might be at home at her drawing board, diligently working at some concept that might lead to a commercial product or a patentable invention.
Despite an admirer of Hedy Lamarr the movie star (I particularly remember her in “Ziegfeld Girl,” costarring James Stewart, Judy Garland, Lana Turner, and Tony Martin, and “H. M. Pulham, Esq.,” with Robert Young and Van Heflen), I too was unaware of her innovative proclivities until 1984, when historian of cryptology David Kahn authored an article in IEEE Spectrum. It revealed to the uninitiated the existence of a 1941 patent ________ to Lamarr and her co-inventor, George Antheil, based on frequency-hopping and titled “Secret Communication System.” World War II had been raging in Europe, and Hedy, a native Austrian, left her munitions magnate husband Friedrich Mandl and relocated to the United States in 1937. As Hitler moved relentlessly in his attempt to conquer most of northern Europe, she was appalled by the German U-boat sinking of the SS City of Benarus. (…). She considered quitting the movie business and offering her services to the newly organized National Inventors Council (NIC), chartered to evaluate technology that could be useful in wartime, and chaired by inventor Charles Kettering. She did neither, however. In Hollywood, Hedy had met George Antheil, not an engineer but a composer with “a fair grasp of electronics,” as historian Kahn expressed it. Antheil joined her in her attempt to devise a jamproof guidance system for Allied torpedoes. A year before Pearl Harbor, she told Antheil she knew “a good deal about new munitions and various secret weapons,” presumably knowledge acquired while she was privy to discussions between Mandl and his munitions agents.
While not on the movie set, Lamarr would work with Antheil in her apartment to move her idea from concept to a practical system. In her early working documents a reference is made to the 116RX, the 1939 Philco radio console that featured the first wireless remote control (termed the Mystery Control and offering the listener options to select up to eight stations, a volume control, and an off switch). This could have been just one among several inputs that inspired her to come up with the idea she called “hopping of frequencies” (...)
CHRISTIANSEN, D. Adaptado de From Film Star to Frequency-Hopping Inventor. In: Institute of Electrical and Electronics Engineers. Disponível em: <http://te.ieeeusa.org/2012/Apr/backscatter.asp>. Acesso em: 15/06/2018.
 

Provas

Questão presente nas seguintes provas
1143815 Ano: 2018
Disciplina: Português
Banca: IME
Orgão: IME
APÓS A LEITURA ATENTA DOS TEXTOS A SEGUIR APRESENTADOS, RESPONDA A QUESTÃO.
Texto 1
BECOS DE GOIÁS
Beco da minha terra...
Amo tua paisagem triste ausente e suja.
Teu ar sombrio. Tua velha umidade andrajosa.
Teu lodo negro, esverdeado, escorregadio.
E a réstia de sol que ao meio-dia desce, fugidia,
e semeia polmes dourados no teu lixo pobre,
calçando de ouro a sandália velha
jogada no teu monturo.
Amo a prantina silenciosa do teu fio de água
descendo de quintais escusos
sem pressa,
e se sumindo depressa na brecha de um velho cano
Amo a avenca delicada que renasce
na frincha de teus muros empenados,
e a plantinha desvalida, de caule mole
que se defende, viceja e floresce
no agasalho de tua sombra úmida e calada.
Amo esses burros-de-lenha
que passam pelos becos antigos. Burrinhos dos morros,
secos, lanzudos, malzelados, cansados, pisados.
Arrochados na sua carga, sabidos, procurando a sombra
no range-range das cangalhas.
E aquele menino, lenheiro ele, salvo seja.
Sem infância, sem idade.
Franzino, maltrapilho,
pequeno para ser homem,
forte para ser criança
Ser indefeso, indefinido, que só se vê na minha cidade.
Amo e canto com ternura
todo o errado da minha terra.
Becos da minha terra,
discriminados e humildes,
lembrando passadas eras...
Beco do Cisco.
Beco do Cotovelo.
Beco do Antônio Gomes.
Beco das Taquaras.
Beco do Seminário.
Bequinho da Escola.
Beco do Ouro Fino.
Beco da Cachoeira Grande.
Beco da Calabrote.
Beco do Mingu.
Beco da Vila Rica...
Conto a estória dos becos,
dos becos da minha terra,
suspeitos... mal afamados
onde família de conceito não passava
“Lugar de gentinha” - diziam, virando a cara.
De gente do pote d’água.
De gente de pé no chão.
Becos de mulher perdida.
Becos de mulheres da vida.
Renegadas, confinadas
na sombra triste do beco.
Quarto de porta e janela.
Prostituta anemiada,
solitária, hética, engalicada,
tossindo, escarrando sangue
na umidade suja do beco.
Becos mal assombrados.
Becos de assombração...
Altas horas, mortas horas...
Capitão-mor - alma penada,
terror dos soldados, castigado nas armas.
Capitão-mor, alma penada
num cavalo ferrado,
chispando fogo,
descendo e subindo o beco,
comandando o quadrado - feixe de varas...
Arrastando espada, tinindo esporas...
Mulher-dama. Mulheres da vida,
perdidas,
começavam em boas casas, depois,
baixavam pra o beco.
Queriam alegria. Faziam bailaricos.
- Baile Sifilítico- era ele assim chamado.
O delegado-chefe de Polícia - brabeza -
dava em cima...
Mandava sem dó, na peia.
No dia seguinte, coitadas,
cabeça raspada a navalha,
obrigadas a capinar o Largo do Chafariz,
na frente da Cadeia.
Becos da minha terra...
Becos de assombração.
Românticos, pecaminosos...
Têm poesia e têm drama.
O drama da mulher da vida, antiga,
humilhada, malsinada.
Meretriz venérea,
desprezada, mesentérica, exangue.
Cabeça raspada a navalha,
castigada a palmatória,
capinando o largo,
chorando. Golfando sangue.
(ÚLTIMO ATO)
Um irmão vicentinocomparece.
Traz uma entrada grátis do São Pedro de Alcântara.
Uma passagem de terceira no grande coletivo de São Vicente.
Uma estação permanente de repouso - no aprazível São Miguel.
Cai o pano.
CORALINA, Cora. Poemas dos Becos de Goiás e Estórias Mais. 21ª ed. - São Paulo: Global Editora, 2006.
Texto 2
O ELEFANTE
Fabrico um elefante
de meus poucos recursos.
Um tanto de madeira
tirado a velhos móveis
talvez lhe dê apoio.
E o encho de algodão,
de paina, de doçura.
A cola vai fixar
suas orelhas pensas.
A tromba se enovela,
é a parte mais feliz
de sua arquitetura.
Mas há também as presas,
dessa matéria pura
que não sei figurar.
Tão alva essa riqueza
a espojar-se nos circos
sem perda ou corrupção.
E há por fim os olhos,
onde se deposita
a parte do elefante
mais fluida e permanente,
alheia a toda fraude.
Eis o meu pobre elefante
pronto para sair
à procura de amigos
num mundo enfastiado
que já não crê em bichos
e duvida das coisas.
Ei-lo, massa imponente
e frágil, que se abana
e move lentamente
a pele costurada
onde há flores de pano
e nuvens, alusões
a um mundo mais poético
onde o amor reagrupa
as formas naturais.
Vai o meu elefante
pela rua povoada,
mas não o querem ver
nem mesmo para rir
da cauda que ameaça
deixá-lo ir sozinho.
É todo graça, embora
as pernas não ajudem
e seu ventre balofo
se arrisque a desabar
ao mais leve empurrão.
Mostra com elegância
sua mínima vida,
e não há cidade
alma que se disponha
a recolher em si
desse corpo sensível
a fugitiva imagem,
o passo desastrado
mas faminto e tocante.
Mas faminto de seres
e situações patéticas,
de encontros ao luar
no mais profundo oceano,
sob a raiz das árvores
ou no seio das conchas,
de luzes que não cegam
e brilham através
dos troncos mais espessos.
Esse passo que vai
sem esmagar as plantas
no campo de batalha,
à procura de sítios,
segredos, episódios
não contados em livro,
de que apenas o vento,
as folhas, a formiga
reconhecem o talhe,
mas que os homens ignoram,
pois só ousam mostrar-se
sob a paz das cortinas
à pálpebra cerrada.
E já tarde da noite
volta meu elefante,
mas volta fatigado,
as patas vacilantes
se desmancham no pó.
Ele não encontrou
o de que carecia,
o de que carecemos,
eu e meu elefante,
em que amo disfarçar-me.
Exausto de pesquisa,
caiu-lhe o vasto engenho
como simples papel.
A cola se dissolve
e todo o seu conteúdo
de perdão, de carícia,
de pluma, de algodão,
jorra sobre o tapete,
qual mito desmontado.
Amanhã recomeço.
ANDRADE, Carlos Drummond de. O Elefante. 9ª ed. - São Paulo: Editora Record, 1983.
Considere os versos 19 a 23 do texto 2, transcritos abaixo:
“E há por fim os olhos,
onde se deposita
a parte do elefante
mais fluida e permanente,
alheia a toda fraude.”
Abaixo, você encontrará alguns ditados populares elencados. Qual destes ditados mais se aproxima da ideia veiculada no verso 23, “alheia a toda fraude”?
 

Provas

Questão presente nas seguintes provas
1143713 Ano: 2018
Disciplina: Inglês (Língua Inglesa)
Banca: IME
Orgão: IME
PARA A QUESTÃO , RESPONDA DE ACORDO COM O TEXTO 4 A SEGUIR.
Texto 4
FRANK WHITTLE AND THE INVENTION OF THE JET ENGINE:
SIX PLACES TO TRACE HIS GENIUS
It was, in many ways, a very British sort of achievement. When the turbine began to spin on the “WU” – the prototype jet engine developed by the Coventry-born engineer Frank Whittle – it was a moment which changed the world. Had you been passing through the byways of Rugby, in Warwickshire, more than 80 years ago, you might even have heard it. A thrum of mechanics in sync, building and building, growing in intensity to become a roar; a giddy howl which would permanently alter the way we journey around our planet.
And yet it might so easily not have happened. Whittle’s triumph – on April 12, 1937 – was garnered in the face of official indifference and scientific doubt, and was only pulled off by a merest financial hair’s breadth, with the Second World War crowding in on all sides.
( . . . )
Here was a visionary who began fomenting his design for a jet engine as early as 1927, and patented it in 1930, yet had to swim against the current after seeing his idea pooh-poohed by the UK's Air Ministry – which, upon seeing the blueprint in 1929, deemed it “impracticable.”
Undeterred, Whittle took his own path. In January 1936, he founded a private company, Power Jets Ltd, with aeronautical engineer Rolf Dudley Williams and retired RAF officer James Collingwood Tinling. With £2,000 of funding from O.T. Falk & Partners – an investment bank which was known for taking risks – the trio began converting what had been decried as fantasy into reality.
That first blur of blades as the WU (Whittle Unit) screamed into life was followed by a series of leaps forward. The Air Ministry placed its first order for Whittle’s brainwave in January 1940. The first jet-powered British plane took off from RAF Cranwell, Lincolnshire, on May 15, 1941. The rest is so much history.
None of this occurred in isolation. The story of the jet engine can never be told without mentions of Maxime Guillaume, who secured a French patent for a jet engine with a gas turbine in 1921 (no prototype was ever produced as it was beyond the scope of existing technology), and of Hans Von Ohain, who beat Whittle to the punch by building the first fully operational jet engine in 1939 as Germany chased advantages in the global conflict.
( . . . )
RAF = Royal Air Force
LEADBEATER, C. Adaptado de Frank Whittle and the invention of the jet engine: Six places to trace his genius. In: The Telegraph. Disponível em: <https://www.telegraph.co.uk/travel/destinations/europe/unitedkingdom/ england/articles/frank-whittle-and-the-birth-of-the-jet-engine/>. Acesso em: 08/06/2018.
Choose the correct option.
The sentence: “That first blur of blades as the WU (Whittle Unit) screamed into life was followed by a series of leaps forward” means that
 

Provas

Questão presente nas seguintes provas
1142649 Ano: 2018
Disciplina: Física
Banca: IME
Orgão: IME
Um manômetro de reservatório é composto por dois tubos verticais comunicantes pelas respectivas bases e abertos em suas extremidades. Esse conjunto é preenchido parcialmente por um fluido e, como o dispositivo encontra-se no ar à pressão atmosférica padrão, o nível de fluido nos dois tubos é o mesmo. Em um dado momento, no tubo à esquerda, é adicionada uma pressão manométrica equivalente a 12 mm de coluna de água. Considerando que não haja vazamento no manômetro, a ascensão de fluido no tubo à direita, em mm, é igual a:
Dados:
• diâmetro do tubo à esquerda: 20 mm;
• diâmetro do tubo à direita: 10 mm; e
• densidade do fluido: 1,2.
 

Provas

Questão presente nas seguintes provas
1141280 Ano: 2018
Disciplina: Inglês (Língua Inglesa)
Banca: IME
Orgão: IME
PARA A QUESTÃO, RESPONDA DE ACORDO COM O TEXTO 2 A SEGUIR.
Texto 2
CORPORATE CONTROL AND GLOBAL GOVERNANCE OF MARINE GENETIC RESOURCES
INTRODUCTION
The prospect of the ocean generating a new era of “blue growth” is increasingly finding its way into national and international policy documents around the world and has spurred a rush to claim ocean space and resources. If economic activities in coastal and offshore areas are to expand in an equitable and sustainable manner, in line with the Sustainable Development Goals (SDGs), progress is needed toward addressing multiple and potentially conflicting uses of ocean space within national jurisdictions, in addition to developing a consistent and transparent legal framework for the vast areas beyond national jurisdiction (ABNJ). These areas cover 64% of the world’s ocean and 47% of the Earth’s surface yet remain poorly understood or described.
Marine organisms have evolved to thrive in the extremes of pressure, temperature, chemistry, and darkness found in the ocean, resulting in unique adaptations that make them the object of commercial interest, particularly for biomedical and industrial applications. By 2025, the global market for marine biotechnology is projected to reach $6.4 billion, spanning a broad range of commercial purposes for the pharmaceutical, biofuel, and chemical industries. One way to ensure exclusive access to these potential economic benefits is through patents associated with “marine genetic resources” (MGRs). Although the term MGRs has never been formally described, it suggests a subset of “genetic resources”, which have been defined under the Convention on Biological Diversity (CBD) as “genetic material of actual or potential value”._______________________ The adoption of the Nagoya Protocol in 2010 represented an important step within the international policy arena to define obligations associated with monetary and nonmonetary benefit sharing of genetic resources and their products sourced from within national jurisdictions. No such mechanism currently exists for ABNJ.
( . . . )
BLASIAK, R.; JOUFFRAY, JB.; WABNITZ, C.; SUNDSTROM, E. e OSTERBLOM, H. Adaptado de Corporate control and global governance of marine genetic resources. In: Science Advances. Disponível em <http://advances.sciencemag.org/ content/4/6/eaar5237.full>. Acesso em: 07/08/2018.
Choose the appropriate continuation for “Although the term MGRs has never been formally described, it suggests a subset of ‘genetic resources,’ which have been defined under the Convention on Biological Diversity (CBD) as ‘genetic material of actual or potential value’.”
 

Provas

Questão presente nas seguintes provas
1140719 Ano: 2018
Disciplina: Inglês (Língua Inglesa)
Banca: IME
Orgão: IME
PARA A QUESTÃO, RESPONDA DE ACORDO COM O TEXTO 2 A SEGUIR.
Texto 2
CORPORATE CONTROL AND GLOBAL GOVERNANCE OF MARINE GENETIC RESOURCES
INTRODUCTION
The prospect of the ocean generating a new era of “blue growth” is increasingly finding its way into national and international policy documents around the world and has spurred a rush to claim ocean space and resources. If economic activities in coastal and offshore areas are to expand in an equitable and sustainable manner, in line with the Sustainable Development Goals (SDGs), progress is needed toward addressing multiple and potentially conflicting uses of ocean space within national jurisdictions, in addition to developing a consistent and transparent legal framework for the vast areas beyond national jurisdiction (ABNJ). These areas cover 64% of the world’s ocean and 47% of the Earth’s surface yet remain poorly understood or described.
Marine organisms have evolved to thrive in the extremes of pressure, temperature, chemistry, and darkness found in the ocean, resulting in unique adaptations that make them the object of commercial interest, particularly for biomedical and industrial applications. By 2025, the global market for marine biotechnology is projected to reach $6.4 billion, spanning a broad range of commercial purposes for the pharmaceutical, biofuel, and chemical industries. One way to ensure exclusive access to these potential economic benefits is through patents associated with “marine genetic resources” (MGRs). Although the term MGRs has never been formally described, it suggests a subset of “genetic resources”, which have been defined under the Convention on Biological Diversity (CBD) as “genetic material of actual or potential value”.This facilitates the acquisition or collection of samples, for example, chartering vessels for a week-long sampling cruise of deep-water corals estimated in 2013 at $455,000. The adoption of the Nagoya Protocol in 2010 represented an important step within the international policy arena to define obligations associated with monetary and nonmonetary benefit sharing of genetic resources and their products sourced from within national jurisdictions. No such mechanism currently exists for ABNJ.
( . . . )
BLASIAK, R.; JOUFFRAY, JB.; WABNITZ, C.; SUNDSTROM, E. e OSTERBLOM, H. Adaptado de Corporate control and global governance of marine genetic resources. In: Science Advances. Disponível em <http://advances.sciencemag.org/ content/4/6/eaar5237.full>. Acesso em: 07/08/2018.
Choose the correct option.
 

Provas

Questão presente nas seguintes provas
1140537 Ano: 2018
Disciplina: Química
Banca: IME
Orgão: IME
Escolha a alternativa que apresenta as substâncias relacionadas em ordem crescente de solubilidade em água, a 25 ºC e 1 atm:
 

Provas

Questão presente nas seguintes provas
1139008 Ano: 2018
Disciplina: Física
Banca: IME
Orgão: IME
Enunciado 1139008-1
A figura mostra uma haste de massa desprezível com um apoio articulado em uma extremidade. A outra extremidade possui um recipiente apoiado em uma mola e amarrado ao solo por um fio. A haste é mantida na posição horizontal e a mola comprimida. Uma bola é colocada nesse recipiente e, após o corte do fio, o sistema é liberado com distensão instantânea da mola.
A constante elástica da mola, em !$ N/m !$, para que, quando a prancha estiver perpendicular ao solo, a bola seja lançada e acerte o cesto é:
Dados:
• comprimento da prancha: 1 !$ m !$;
• distância do apoio ao cesto: 5 !$ m !$;
• massa da bola: 200 !$ g !$;
• deformação inicial da mola: 10 !$ cm !$; e
• aceleração da gravidade: 10 !$ m/s^2 !$.
Observação:
• despreze as dimensões da bola.
 

Provas

Questão presente nas seguintes provas
1138003 Ano: 2018
Disciplina: Física
Banca: IME
Orgão: IME
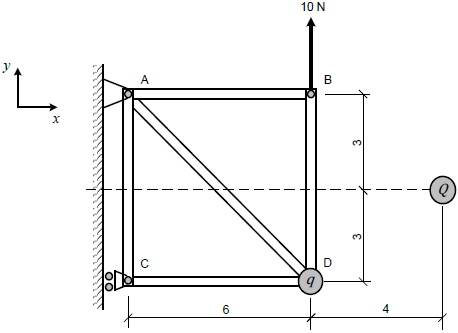
Enunciado 1138003-1
A figura mostra uma estrutura composta pelas barras AB, AC, AD e CD e BD articuladas em suas extremidades. O apoio no ponto A impede os deslocamentos nas direções !$ x !$ e !$ y !$, enquanto o apoio no ponto C impede o deslocamento apenas na direção !$ x !$. No ponto D dessa estrutura encontra-se uma partícula elétrica de carga positiva !$ q !$. Uma partícula elétrica de carga positiva !$ Q !$ encontra-se posicionada no ponto indicado na figura. Uma força de 10 N é aplicada no ponto B, conforme indicada na figura. Para que a força de reação no ponto C seja zero, o produto !$ q.Q !$ deve ser igual a:
Observação:
• as barras e partículas possuem massa desprezível; e
• as distâncias nos desenhos estão representadas em metros.
Dado:
• constante eletrostática do meio: !$ k !$.
 

Provas

Questão presente nas seguintes provas