Foram encontradas 50 questões.
1433175
Ano: 2007
Disciplina: Engenharia Ambiental e Sanitária
Banca: CESGRANRIO
Orgão: INEA-RJ
Disciplina: Engenharia Ambiental e Sanitária
Banca: CESGRANRIO
Orgão: INEA-RJ
Provas:
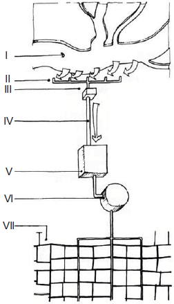
Nos últimos tempos, cresceram as discussões sobre esgotamento dos recursos naturais, e a escassez de água já se apresenta como grande preocupação. O diagrama abaixo representa um sistema de abastecimento de água alternativo, com reciclagem.

Avaliando esse tipo de sistema, conclui-se que
Provas
Questão presente nas seguintes provas
1432921
Ano: 2007
Disciplina: Engenharia Ambiental e Sanitária
Banca: CESGRANRIO
Orgão: INEA-RJ
Disciplina: Engenharia Ambiental e Sanitária
Banca: CESGRANRIO
Orgão: INEA-RJ
Provas:

MASCARO, Juan L. e YOSHINAGA, Mário. Infra-Estrutura Urbana. Porto Alegre: Editora +4. 2005.
A imagem acima representa o esquema de uma rede de abastecimento de água e as diferentes etapas e/ou elementos que garantem o funcionamento do sistema.
Estes elementos do sistema correspondem a:
Provas
Questão presente nas seguintes provas
1432755
Ano: 2007
Disciplina: Engenharia Ambiental e Sanitária
Banca: CESGRANRIO
Orgão: INEA-RJ
Disciplina: Engenharia Ambiental e Sanitária
Banca: CESGRANRIO
Orgão: INEA-RJ
Provas:
Nas soluções não convencionais de drenagem urbana, os procedimentos utilizados com mais freqüência são:
Provas
Questão presente nas seguintes provas
1432713
Ano: 2007
Disciplina: Engenharia Ambiental e Sanitária
Banca: CESGRANRIO
Orgão: INEA-RJ
Disciplina: Engenharia Ambiental e Sanitária
Banca: CESGRANRIO
Orgão: INEA-RJ
Provas:
Os meios de transporte têm um importante papel no planejamento urbano sustentável. Questões como emissão de poluentes, abrangência territorial e matriz energética estão envolvidas na escolha dos meios de transporte que devem ser estimulados na ótica da sustentabilidade. Analisando as relações entre qualidade ambiental e tipologia de transportes, verifica-se que há correspondência entre:
Provas
Questão presente nas seguintes provas
1432654
Ano: 2007
Disciplina: Engenharia Ambiental e Sanitária
Banca: CESGRANRIO
Orgão: INEA-RJ
Disciplina: Engenharia Ambiental e Sanitária
Banca: CESGRANRIO
Orgão: INEA-RJ
Provas:
A respeito de utilização de fossas sépticas, é INCORRETO afirmar que elas devem
Provas
Questão presente nas seguintes provas
1432205
Ano: 2007
Disciplina: Engenharia Ambiental e Sanitária
Banca: CESGRANRIO
Orgão: INEA-RJ
Disciplina: Engenharia Ambiental e Sanitária
Banca: CESGRANRIO
Orgão: INEA-RJ
Provas:
As Lagoas de Estabilização são parte integrante do repertório de soluções alternativas de saneamento ambiental.
Seu bom funcionamento deve-se
Provas
Questão presente nas seguintes provas
No trato das questões ambientais, a Conferência do Rio de Janeiro sobre Meio Ambiente e Desenvolvimento (UNCED), de 1992, trilhou caminhos distintos daqueles da Conferência de Estocolmo, realizada em 1972, por
Provas
Questão presente nas seguintes provas
A oferta de habitação para famílias de baixa renda apresenta um deficit secular no Brasil. Entretanto, durante o período do Estado Novo, uma série de medidas se acumularam, desenhando o esboço de uma política habitacional que buscou enfrentar o problema, de modo contínuo e articulado. Na história das políticas públicas, o período marca uma inflexão pela
Provas
Questão presente nas seguintes provas
Nas últimas décadas, o conceito de meio ambiente passou a ser discutido em diversos fóruns e ganhou maior precisão. Atualmente, nos textos regulatórios produzidos por especialistas, autoridades e agências competentes, é consenso definir o meio ambiente como
Provas
Questão presente nas seguintes provas
Para construção de uma edificação em um terreno urbano, de área igual a 400m2, são previstos os seguintes dados: índice de aproveitamento de área (I.A.A.) igual a 2,5; taxa de ocupação de 60%; taxa de permeabilidade de 20%; e gabarito máximo igual a 8 pavimentos.
Suponha que o proprietário queira edificar até o máximo de número de pavimentos e, ainda, utilizar o máximo de área total edificada (A.T.E.). Nesse caso, os resultados a que ele chegaria quanto à área máxima da projeção da edificação e à área disponível para construção de passeios e estacionamentos impermeáveis ao redor da edificação, respectivamente, são:
Provas
Questão presente nas seguintes provas
Cadernos
Caderno Container