Foram encontradas 70 questões.
Considere a função f(x) = ax3/8 + 1/4, -2 \( \le \) x \( \le \) 2.
Para quais valores de a essa função é uma densidade de probabilidade?
Provas
| X | Y | W | Z | F | X | Y | W | Z | F |
| 0 | 0 | 0 | 0 | 1 | 1 | 0 | 0 | 0 | 1 |
| 0 | 0 | 0 | 1 | 0 | 1 | 0 | 0 | 1 | 0 |
| 0 | 0 | 1 | 0 | 1 | 1 | 0 | 1 | 0 | 1 |
| 0 | 0 | 1 | 1 | 0 | 1 | 0 | 1 | 1 | 1 |
| 0 | 1 | 0 | 0 | 0 | 1 | 1 | 0 | 0 | 0 |
| 0 | 1 | 0 | 1 | 0 | 1 | 1 | 0 | 1 | 0 |
| 0 | 1 | 1 | 0 | 0 | 1 | 1 | 1 | 0 | 1 |
| 0 | 1 | 1 | 1 | 0 | 1 | 1 | 1 | 1 | 1 |
A função booleana F = f(X,Y,W,Z) é dependente das variáveis lógicas X,Y, W e Z, segundo a tabela verdade mostrada acima.
A expressão mínima de F é
Provas
A NBR 5410:2004, da ABNT, estabelece condições para a coordenação entre os condutores vivos da instalação elétrica e o dispositivo que os protege.
Em uma instalação elétrica de baixa tensão, considere Iz a capacidade de condução de corrente dos condutores utilizados no circuito, In a corrente nominal do disjuntor de proteção e Ip a corrente de projeto do circuito, todas em ampères e nas condições previstas para sua instalação.
Para a correta coordenação entre os condutores utilizados no circuito e o disjuntor de proteção dessa instalação, qual relação, entre as correntes supracitadas, deve ser atendida?
Provas
Consta no grupo Ilustrações da guia Inserir dos aplicativos Microsoft Excel, Microsoft Word e Microsoft PowerPoint, em suas configurações padrões, o seguinte comando:
Provas
Provas
Para um ângulo de disparo dos tiristores de 30º , o valor médio, em volts, da tensão de saída é

Provas
A ordem do harmônico de tensão de mais baixa frequência, depois da fundamental, é
Provas

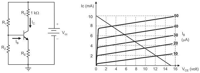
O circuito eletrônico mostrado na Figura acima está polarizado com todos os componentes calculados para funcionar de acordo com a reta de carga traçada sobre a curva característica do transistor bipolar NPN.
Considerando I c = 6 mA e com base no circuito e no Gráfico da reta de carga, o valor, em Ω, do resistor RE é
Provas

A Figura acima ilustra um rotor com 0,25 metro de raio que possui um enrolamento de apenas uma espira. Esse rotor é feito de material não magnético e possui comprimento de 2,0 metros, sendo, dessa forma, o comprimento longitudinal da espira, e está situado em um campo magnético uniforme com densidade de fluxo magnético igual a 0,5 Tesla. Uma corrente de 100 ampères circula pela espira. Os sentidos do campo magnético e da corrente em cada condutor estão mostrados na Figura. Considere o ângulo a de 30º entre o eixo referencial e o eixo que atravessa o centro do rotor alinhado com os condutores da espira. O eixo referencial é ortogonal ao eixo alinhado com o sentido do campo magnético.
Qual o torque, em Newton . metro, aplicado no rotor para essa situação?
Provas

A Figura acima ilustra duas máquinas síncronas acopladas pelos seus eixos de rotação, sendo um motor síncrono conectado ao sistema elétrico A (Motor Síncrono A) e um gerador síncrono que alimenta o sistema elétrico B (Gerador Síncrono B). O sistema elétrico A tem frequência de 50 Hz, e o sistema elétrico B tem frequência de 60 Hz.
Se o Motor Síncrono A tem 20 polos, quantos polos deve ter o Gerador Síncrono B para que alimente o sistema elétrico B com frequência de 60 Hz?
Provas
Caderno Container