Foram encontradas 894 questões.
Disciplina: Engenharia Ambiental e Sanitária
Banca: CESPE / CEBRASPE
Orgão: INPE
Comunidades outrora extrativistas de Cairu, Nilo Peçanha, Igrapiuna e Ituberá, na Costa do Dendê, na região Sul da Bahia, abandonaram a atividade pesqueira tradicional e passaram a produzir a tilápia estuarina, conhecida nos supermercados como filé de Saint Pierre, que tem garantido a renda e a permanência deles na região. Eles se tornaram aquicultores e parte de sua produção já é exportada para a França. Na cooperativa, as tilápias passam por um processo da aclimatação (salinização) à água salobra e por tanques-berçários antes de serem distribuídas aos cooperados para engorda em tanques-rede. Praticamente todos os peixes produzidos pela cooperativa são machos revertidos sexualmente à base de ração com testosterona. Dessa forma, além de estes se alimentarem melhor, isso elimina o problema da reprodução caso os peixes confinados atinjam o meio ambiente. Além disso, quando acontece alguma fuga, os peixes procuram a água doce, o que facilita a recaptura.
Gazeta Mercantil – SP, 24/11/2005 (com adaptações).
Considerando a situação descrita no texto acima, julgue o item subsequente.
A comunidade poderia manter sua atividade tradicional mesmo que sua área de ocupação fosse transformada em unidade de conservação de uso sustentável do tipo reserva extrativista.
Provas
Acerca do SQL Server, julgue o item subsequente.
O comando Transact-SQL chamado CREATE VIEW cria uma tabela virtual que possibilita o acesso a dados em uma ou mais tabelas. Já o comando SELECT define uma visão que pode acessar apenas uma única tabela ou visão. Gatilhos INSTEAD OF podem ser criados para tornar uma visão atualizável.
Provas

Um especialista foi contratado para elaborar parecer acerca da confiabilidade dos sistemas A e B, cujos esquemas estão ilustrados na figura acima. Conforme a figura, o sistema A é composto por três cópias idênticas, A1, A2 e A3, de um mesmo componente em paralelo, de igual confiabilidade RA. De forma análoga, duas cópias idênticas B1 e B2, de igual confiabilidade RB, compõem o sistema B. Com relação à ocorrência de falhas nos componentes A1, A2, A3, B1 e B2, é válido considerar os intervalos entre falhas independentes e identicamente distribuídos exponencialmente, com tempo médio entre falhas de 60 horas no caso dos componentes A1, A2 e A3.
Considerando que os eventos envolvidos nos cálculos de probabilidades sejam estatisticamente independentes, em relação às confiabilidades de A e de B, julgue o próximo item.
Se o tempo médio entre falhas de B1 e B2 for maior que 55 horas, então o tempo médio entre falhas do sistema B, na condição de redundância em espera da cópia B2, será maior que o tempo médio entre falhas do sistema A, na condição de redundância ativa para as cópias A2 e A3.
Provas
Com relação ao Excel 2003, julgue o item subsequente.
Considerando-se que as células A1, A2 e A3 de uma planilha em elaboração não contenham informação, é possível mesclá-las em uma única célula por meio da seguinte sequência de ações: selecionar o grupo formado por essas três células; clicar
.
Provas
Com relação à Segunda Lei da Termodinâmica e à propriedade termodinâmica derivada dessa lei (entropia), julgue o item subsequente.
É possível estabelecer uma escala absoluta de temperatura para uma dada substância por meio de linhas isotérmicas e adiabáticas. Nesse caso, em um gráfico cuja ordenada representa as isotérmicas e a abscissa representa uma propriedade termodinâmica apropriada, linhas adiabáticas consecutivas podem ser desenhadas de forma que correspondam à adição de quantidades iguais de calor. Esse método tem como base o estabelecimento de áreas iguais definidas por duas isotérmicas e duas adiabáticas consecutivas.
Provas
Disciplina: Engenharia de Telecomunicações
Banca: CESPE / CEBRASPE
Orgão: INPE
Considerando que um satélite seja formado por vários sistemas, julgue o item a seguir acerca desses grupos de componentes.
Quando o satélite é lançado e posto na órbita devido somente aos efeitos gravitacionais da Terra, torna-se necessário ajustar, de tempos em tempos, a sua altitude e trajetória. Nesse caso, o sistema de propulsão é utilizado para mantê-lo na trajetória correta e em funcionamento.
Provas
Texto para o item
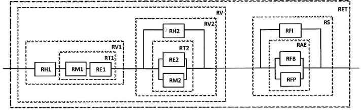
Um especialista em confiabilidade analisa a ocorrência de colisão entre dois veículos, 1 e 2, em um cruzamento controlado por um semáforo, decorrente apenas de falha em um dos veículos ou no semáforo. Como item de segurança, o semáforo tem duas fontes de alimentação elétrica: concessionária de energia elétrica (fonte principal) e bateria (fonte secundária), projetada para entrar em funcionamento sempre que faltar energia da concessionária (condição de redundância em espera). Como ferramenta de análise dessa colisão, denominada evento de topo (ET), com probabilidade de ocorrência P(ET), o especialista preparou a árvore de falhas mostrada abaixo, com a seguinte notação para as probabilidades de ocorrência dos eventos associados às falhas primárias, contidos em círculos: H1 → P(H1); M1 → P(M1); E1 → P(E1); H2 → P(H2); M2 → P(M2); E2 → P(E2); FP → P(FP); FB → P(FB); FI → P(FI). As probabilidades de ocorrência dos eventos intermediários na árvore, contidos nos retângulos, são denotadas por: T1 → P(T1); V1 → P(V1); T2 → P(T2); V2 → P(V2); V → P(V); AE → P(AE); S → P(S).

A partir da situação descrita no texto, considere que, buscando um bom entendimento da situação, o especialista tenha elaborado o diagrama de blocos de confiabilidade mostrado abaixo, com a seguinte notação para os respectivos blocos de confiabilidade: H1 → RH1; M1 → RM1; E1 → RE1; T1 → RT1; V1 → RV1; H2 → RH2; M2 → RM2; E2 → RE2; T2 → RT2; V2 → RV2; V → RV; FP → RFP; FB → RFB; AE → RAE; FI → RFI; S → RS; ET → RET.

Com relação à situação apresentada, julgue o item a seguir.
A confiabilidade do semáforo quanto à alimentação elétrica é igual a !$ 1-[P(FP)+P(FB)-P(FP) \times P(FB)] !$.
Provas
Antigamente, as pessoas acreditavam que no reino das estrelas e dos planetas as leis eram diferentes das leis na Terra. Diziam que a gravidade terrestre só atuava na Terra e a gravidade celeste só atuava no céu, e que as forças que agiam na Terra e no céu não se relacionavam umas com a outras, ou seja, não havia qualquer relação entre um planeta em órbita em torno do Sol e um objeto caindo de uma certa altura aqui na Terra. Newton descobriu que esses dois fenômenos são análogos. Hoje, um grande número de observações pode ser explicado por meio de suas leis.
Tendo o texto acima como referência inicial, julgue o item que se segue.
Mesmo que a massa de um corpo seja a mesma na Terra e na Lua, seu peso será diferente nos dois lugares, já que a aceleração causada pela gravidade na Terra é diferente daquela causada pela gravidade na Lua.
Provas
Julgue o item seguinte quanto à resistência térmica de contato.
Uma junta ou interface térmica é um substrato de material condutor depositado entre duas superfícies para promover o aumento da condutância térmica de contato entre elas em virtude do aumento da área efetiva de troca de calor. O desempenho da junta depende da dureza e da condutância do material que a constitui. Em uma situação ideal, o material da junta deve apresentar menor dureza e maior condutividade em comparação com os materiais das superfícies. A resistência de contato da junta consiste em duas resistências de contato — entre o material do substrato e o das superfícies — associadas em série.
Provas
Com base nas experiências, modelos numéricos podem ser desenvolvidos e até adotados na substituição experimental mas para isso a comprovação laboratorial é muito importante. A respeito das análises e testes exprimentais, julgue o item que segue.
Entre os ensaios de embutimento encontra-se o ensaio de Erichsen que consiste na deformação de uma tira metálica (blank — corpo de prova) presa a uma matriz com um punção de cabeça esférica deformando a tira metálica. É verdade dizer que neste ensaio se mede a máxima tensão que o punção exerce para a qual não ocorre a plastificação da tira.
Provas
Caderno Container