Foram encontradas 100 questões.
Qual dos gráficos abaixo melhor representa a taxa P de calor emitido por um corpo aquecido, em função de sua temperatura absoluta T?
Provas

A figura 1 mostra o experimento típico de Young, de duas fendas, com luz monocromática, em que m indica a posição do máximo central. A seguir, esse experimento é modificado, inserindo uma pequena peça de vidro de faces paralelas em frente à fenda do lado direito, e inserindo um filtro sobre a fenda do lado esquerdo, como mostra a figura 2. Suponha que o único efeito da peça de vidro é alterar a fase da onda emitida pela fenda, e o único efeito do filtro é reduzir a intensidade da luz emitida pela respectiva fenda. Após essas modificações, a nova figura da variação da intensidade luminosa em função da posição das franjas de interferência é melhor representada por
Provas
Experimentos de absorção de radiação mostram que a relação entre a energia E e a quantidade de movimento p de um fóton é E = p c. Considere um sistema isolado formado por dois blocos de massas !$ m_1 !$ e !$ m_2 !$, respectivamente, colocados no vácuo, e separados entre si de uma distância L. No instante t = 0, o bloco de massa !$ m_1 !$ emite um fóton que é posteriormente absorvido inteiramente por !$ m_2 !$, não havendo qualquer outro tipo de interação entre os blocos.
Suponha que !$ m_1 !$ se torne !$ m_1’ !$ em razão da emissão do fóton e, analogamente, !$ m_2 !$ se torne !$ m_2’ !$ devido à absorção desse fóton. Lembrando que esta questão também pode ser resolvida com recursos da Mecânica Clássica, assinale a opção que apresenta a relação correta entre a energia do fóton e as massas dos blocos.

Provas
Um balão contendo gás hélio é fixado, por meio de um fio leve, ao piso de um vagão completamente fechado. O fio permanece na vertical enquanto o vagão se movimenta com velocidade constante, como mostra a figura. Se o vagão é acelerado para frente, pode-se afirmar que, em relação a ele, o balão

Provas
Quando em repouso, uma corneta elétrica emite um som de freqüência 512 Hz. Numa experiência acústica, um estudante deixa cair a corneta do alto de um edifício. Qual a distância percorrida pela corneta, durante a queda, até o instante em que o estudante detecta o som na freqüência de 485 Hz? (Despreze a resistência do ar).
Provas
Utilizando o modelo de Bohr para o átomo, calcule o número aproximado de revoluções efetuadas por um elétron no primeiro estado excitado do átomo de hidrogênio, se o tempo de vida do elétron, nesse estado excitado, é de !$ 10^{–8} !$ s. São dados: o raio da órbita do estado fundamental é de !$ 5,3 × 1 0^{–11}m !$ e a velocidade do elétron nesta órbita é de !$ 2,2 × 10^6 \, m/s !$ .
Provas
Sobre um plano liso e horizontal repousa um sistema constituído de duas partículas, I e II, de massas M e m, respectivamente. A partícula II é conectada a uma articulação O sobre o plano por meio de uma haste que inicialmente é disposta na posição indicada na figura. Considere a haste rígida de comprimento L, inextensível e de massa desprezível. A seguir, a partícula I desloca-se na direção de II com velocidade uniforme !$ \overrightarrow{V_B} !$, que forma um ângulo !$ θ !$ com a haste. Desprezando qualquer tipo de resistência ou atrito, pode-se afirmar que, imediatamente após a colisão (elástica) das partículas.

Provas
Num oftalmologista, constata-se que um certo paciente tem uma distância máxima e uma distância mínima de visão distinta de 5,0m e 8,0cm, respectivamente. Sua visão deve ser corrigida pelo uso de uma lente que lhe permita ver com clareza objetos no “infinito”. Qual das afirmações é verdadeira?
Provas
A figura mostra um sistema óptico constituído de uma lente divergente, com distância focal !$ f_1 = –20cm !$, distante 14cm de uma lente convergente com distância focal !$ f_2 = 20cm !$ . Se um objeto linear é posicionado a 80cm à esquerda da lente divergente, pode-se afirmar que a imagem definitiva formada pelo sistema

Provas
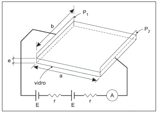
No Laboratório de Plasmas Frios do ITA é possível obter filmes metálicos finos, vaporizando o metal e depositando-o por condensação sobre uma placa de vidro. Com o auxílio do dispositivo mostrado na figura, é possível medir a espessura e de cada filme. Na figura, os dois geradores são idênticos, de f.e.m. E = 1,0 V e resistência r = 1,0 !$ Ω !$, estando ligados a dois eletrodos retangulares e paralelos, !$ P_1 !$ e !$ P_2 !$, de largura b = 1,0 cm e separados por uma distância a = 3,0 cm. Um amperímetro ideal A é inserido no circuito, como indicado. Supondo que após certo tempo de deposição é formada sobre o vidro uma camada uniforme de alumínio entre os eletrodos, e que o amperímetro acusa uma corrente i = 0,10 A , qual deve ser a espessura e do filme? (resistividade do alumínio !$ ρ= 2,6 . 10^{–8} Ω.m !$ ).

Provas
Caderno Container