Foram encontradas 50 questões.
Observe o circuito a seguir.

Assinale a opção que apresenta o valor da resistência equivalente Rt, entre os pontos a e d, do circuito acima.
Provas
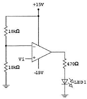
Analise o circuito a seguir, considerando componentes ideais.

Em relação ao circuito acima, é correto afirmar que o LED
Provas
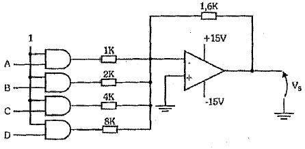
Observe o circuito a seguir.

Considerando que as portas lógicas do circuito conversor D/A da figura acima pertencem à família TTL (nível lógico 0= 0 V e nível lógico 1 = 5 V), assinale a opção que apresenta o valor da tensão analógica Vs quando as entradas forem: A 1, B = 0, C = 1 e D= 0.
Provas
Considerando o contido no livro "Eletricidade Básica" (GUSSOW, 1997), em relação à teoria sobre circuitos elétricos, analise as afirmativas abaixo:
I - Um ramo aberto (para um circuito de ramos paralelos) faz com que a corrente que passa por aquele ramo seja nula. Contudo, os outros ramos continuam apresentando um valor de corrente.
II - A resistência equivalente RT de ramos paralelos é menor do que a menor resistência dos ramos, uma vez que todos os ramos reunidos devem retirar mais corrente da fonte do que qualquer ramo isolado.
III- Quando dois resistores estão ligados em paralelo, a tensão através de cada um dos resistores é a mesma.
IV - Um curto circuito possui resistência excessiva, resultando numa corrente nula.
Assinale a opção correta.
Provas
Observe a figura a seguir

Assinale a opção que apresenta o valor da corrente instantânea quando \( θ \) = 30º e \( θ \) = 270º, respectivamente.
Provas
Qual das opções abaixo apresenta o valor da potência elétrica total consumida por um ferro elétrico de 4,5 A, um ventilador de 0,9 A e um motor de geladeira de 2,4 A, todos ligados em paralelo a uma fonte de alimentação de 120 Vdc?
Provas
Quais são as duas características que um receptor de rádio super-heteródino deve apresentar?
Provas
Observe o circuito a seguir.

Qual será a tensão Vce do transistor do circuito acima, Considerando \( \beta=100 \)?
Provas
Analise o mapa Veitch-Karnaugh a seguir.

Marque a opção que apresenta a expressão simplificada representada no mapa acima.
Provas
Observe o diagrama de blocos de um transmissor SSB por filtragem.

"Justamente pela necessidade do uso de filtros especiais para a eliminação da faixa lateral indesejada, torna-se imperativo o emprego deste estágio. Acontece que os filtros de faixa lateral são fabricados em algumas poucas frequências, e a necessidade da obtenção de inúmeros canais de RF obriga a se dispor de um estágio deste para obtê-los". (Nascimento, 1992)
O texto acima se refere a que estágio do transmissor SSB por filtragem?
Provas
Caderno Container