Foram encontradas 50 questões.
Em relação às características das bobinas, assinale a opção correta.
Provas
Assinale a opção correta em relação às características dos amplificadores.
Provas
O funcionamento do CLP (Controlador Lógico Programável) é baseado num sistema microprocessado em que há uma estrutura de software que realiza continuamente ciclos de leitura, chamados de scan. Assinale a opção abaixo que apresenta os três processos que constituem o scan.
Provas
Analise o circuito a seguir.

O circuito acima ilustra uma tentativa de implementar um somador completo (full adder). Assinale a opção que apresenta o elemento que falta para que este circuito seja realmente um somador completo.
Provas
Os amplificadores podem operar segundo as classes A, B, AB e C, conforme mostra a figura a seguir, segundo o contido no livro "Telecomunicações" (Nascimento, 1992).

Em relação à figura apresentada, sabe-se que o dispositivo amplificador é polarizado exatamente no ponto de corte, ou seja, no limite entre a região de corte e a de condução. Na ausência de sinal, o consumo de corrente é nulo, sendo, de uma maneira geral, não empregada em amplificadores lineares. Sendo assim, é correto afirmar que o amplificador acima refere-se
Provas
Em relação à utilização de CLPs, assinale a opção INCORRETA.
Provas
Considere uma transmissão paralela de 4 bits de dados (D0, D1, D2 e D3) e 1 bit de paridade (P).
Assinale a opção que apresenta a equação que define a lógica para o bit de paridade P sabendo que: P=1 se for transmitido um número par de bits iguais a 1; e P=0 se for transmitido um número ímpar de bits iguais a 1.
Provas
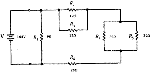
Analise o circuito a seguir.

Qual é a resistência total RT, em Ohms, do circuito acima?
Provas
A Corveta Júlio de Noronha se encontra navegando no litoral do Estado do Espírito Santo, juntamente com a Corveta Barroso. O oficial que manobra a Corveta Júlio de Noronha avista a Corveta Barroso navegando na linha do horizonte. O Comandante da Corveta Júlio de Noronha deseja entrar em contato com a Corveta Barroso pelo rádio VHF do navio. Ao efetuar uma chamada via rádio, o Comandante percebe que o sinal está fraco, sofrendo forte interferência. Este chama o Oficial Encarregado pelas Comunicações do navio e explica a situação, dizendo que deseja entrar em contato com a Corveta Barroso. O Encarregado de comunicações começa a estudar a possível razão do problema. Após várias alternativas, resolve verificar o posicionamento da antena de VHF e resolve reinstalá-la em um ponto mais alto, no mastro do navio. Após a instalação, realiza um teste de fonia com a Corveta Barroso e constata que a comunicação melhorou sensivelmente. Daí pode-se concluir que o motivo mais plausível para a melhora das comunicações foi a instalação da antena em um ponto
Provas
Em um anel de ferro de circunferência igual a 40 cm e uma área de secção reta igual a 1 cm2 enrola-se uniformemente em torno dele um fio formando 500 espiras. Medições feitas com uma bobina de prova em torno do anel indicam que a corrente no enrolamento é de 0,06 A e o fluxo no anel é de 6 x 10-6 Wb. Assinale a opção que apresenta, respectivamente, o valor da densidade de fluxo B e a intensidade de campo H no circuito descrito acima.
Provas
Caderno Container