Foram encontradas 50 questões.
Em relação à ciencia da medição e seus conceitos básicos, às metodologias aplicadas, aos registros, unidades e aos padrões envolvidos na quantificação de grandezas físicas, pode-se afirmar que as técnicas de observação, medição e registros fazem parte da:
Provas
Uma barcaça retangular de comprimento 50m e boca 10m encontra-se flutuando na sua condição leve, em água salgada, sendo, então, carregada com 500.000 litros de óleo diesel até a marca correspondente ao calado carregado de 1,0m. Considerando o Ya.salgada como sendo 1,025 t/m3 e o y óleo diesel 0,85 t/m3, pode-se afirmar que o peso leve da embarcação é de:
Provas
Em relação ao processo de soldagem TIG, assinale a opção correta.
Provas
O conjunto de vistas utilizadas na definição das formas do casco de uma embarcação é representado pelo plano
Provas
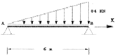
Analise a figura a seguir.

Uma viga biapoiada com 6 metros de comprimento está submetida a um carregamento que varia linearmente de 0 a 84 KN, conforme a figura acima. Desprezando o peso da própria viga, quais são os valores, em KN, das reações nos apoios A e B, respectivamente?
Provas
Em relação às Sociedades Classificadoras (SC), assinale a opção correta.
Provas
Coloque V (verdadeiro) ou F (falso) nas afirmativas abaixo em relação à segurança no trabalho, e a seguir, assinale a opção que apresenta a sequência correta.
( ) É obrigação do empregado procurar se instruir quanto às precauções a serem tomadas no sentido de evitar acidentes do trabalho ou doenças profissionais.
( ) A empresa é obrigada a fornecer EPI adequado ao risco para atender situação de emergência.
( ) Cabe ao empregador fornecer ao empregado somente EPI's aprovados pelo órgão nacional competente em matéria de segurança e saúde no trabalho.
( ) Com o advento do novo texto da norma regulamentadora Nº 10 "Segurança em Instalações e Serviços em Eletricidade", a vestimenta passou também a ser considerada um dispositivo de proteção complementar para empregados, incluindo a proibição de adornos, exceto se esses forem metálicos.
( ) Cabe ao empregado se responsabilizar pela higienização e manutenção periódica de seu EPI.
Provas
Analise a figura a seguir.

A viga navio de uma embarcação está flexionada na situação de alquebramento, conforme a ilustração acima. Nessa condição, os pontos da seção mestra, localizados na quilha, no eixo da linha neutra e no convés de borda livre, estão submetidos, respectivamente, a tensões normais de flexão:
Provas
Dos equipamentos de proteção individual - EPI - listados abaixo, qual não é usado por um empregado que trabalhe executando soldas em oficina de construção naval?
Provas
O desgaste prematuro do fio de corte pode causar erro de: 22)
Provas
Caderno Container