Foram encontradas 850 questões.
Assinale a opção que apresenta um ensaio de dureza por risco.
Provas
Assinale a opção que completa corretamente as lacunas da sentença abaixo.
O módulo de é a medida da rigidez do material. Quanto o módulo, menor será a deformação resultante da aplicação de uma tensão e mais rígido será o metal.
Provas
Calcule a potência de uma bomba d'água de circulação (BAC) de uma torre de arrefecimento pertencente a um sistema de ar condicionado central, e assinale a opção correta.
Dados: Vazão (Q) : 60 m3 /h
Altura manométrica (Hm) : 20 m
Rendimento do conjunto motor- bomba ( !$ \eta !$) 50%
Provas
Em relação à resistência, à tenacidade e aos esforços puros, assinale a opção correta.
Provas
Analise a figura a seguir.

No desenho acima encontra-se uma simbologia típica de soldagem. Assinale a opção que corresponde a correta especificação da referida solda.
Provas
Coloque F (falso) e V (verdadeiro) nas afirmativas abaixo, relativas a tratamentos térmicos, assinalando a seguir a opção que apresenta a sequência correta.
( ) O recozimento piora a ductilidade.
( ) A tempera aumenta a resistência a tração.
( ) Endurecimento por precipitação é o tratamento aplicado em ligas não ferrosas.
( ) Tratamentos isotérmicos incluem a austêmpera e a martêmpera e são baseados nas curvas TTT
( ) Revenido é o tratamento aplicado antes da têmpera.
Provas
Em relação transmissão, aos elementos de fixação assinale a opção INCORRETA. e elementos de
Provas
Em uma inspeção de recebimento, foram medidos por um inspetor o comprimento e o diâmetro de um pino, cujos valores encontrados foram 99 mm e 20,20 mm. Sabendo-se que, no desenho do pino para as referidas medidas, estão especificadas as cotas !$ 100_{-1}^{+1}mm !$, para o comprimento, e !$ 20_{+0,18}^{+0,28} !$ mm, para o diâmetro, pode-se afirmar que esse inspetor deverá:
Provas
Observe a figura a seguir.

A figura acima representa, esquematicamente, modalidades de furação. Assinale a opção que apresenta a modalidade de furação escalonada.
Provas
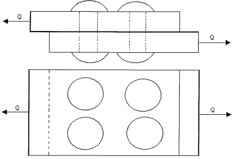
Analise a figura a seguir.

Desprezando o efeito de esmagamento, isto é, considerando, somente, o efeito de cisalhamento, determine o diâmetro dos rebites para que a junta rebitada da figura acima, que possui 04 (quatro) rebites, suporte uma carga Q= 10,5 . !$ \pi !$ KN aplicada sobre ela, e assinale a opção correta.
Dado: !$ \pi = 3,15 !$
!$ \mathfrak{I} = 105MPPa !$
Provas
Caderno Container