Foram encontradas 50 questões.
Em um experimento, considere que o ar a T\( _{∞} \)= 800°C (mantida invariável) transmite, em regime permanente, um fluxo de 2 calor q1" = 70kW/m a um pequeno bloco vazado. Para manter a temperatura superficial do bloco Ts,1 = 700ºC, a quantidade de calor transferida pelo ar a esse bloco é removida pela vazão de uma substância refrigerante que escoa em um canal interno ao bloco. Admita que o coeficiente convectivo médio local h (do ar) permanece constante. Sendo a temperatura superficial do bloco reduzida para Ts,2 = 600ºC (em função do aumento de vazão do refrigerante), determine o novo fluxo térmico q2" (em kW/m2 ) transmitido pelo ar ao bloco e assinale a opção correta.
Provas
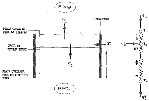
Observe as figuras a seguir.

O sistema acima é formado por duas placas quadradas, uma de silício e uma de aluminio, este com coeficiente de condutividade térmica K e espessura L. Entre essas placas existe uma junta de resina epóxi. A superficie de cada placa é refrigerada a ar (com temperatura constante T00 e coeficiente convecti vo h) . Admita que Rt'' é a resistência térmica da interface de silício/alumínio, contendo o epóxi entre esses dois materiais. Despreze os efeitos radiativos e a resistência térmica da placa de silício (placa isotérmica) .
Determine a expressão para a temperatura Ts da placa de silício que absorve um fluxo de calor unidimensional qs " (em regime permanente) e, a seguir, assinale a opção correta.
Provas
Observe as figuras a seguir.

No ciclo ideal Rankine acima representado, o vapor d'água deixa a caldeira e entra na turbina como vapor superaquecido a 5MPa e 500ºC. A pressão no condensador é de 25kPa. Admita que os processos desse ciclo ocorram em regime permanente e com variações desprezíveis de energias cinética e potencial. Nessas condições e utilizando o critério de arredondamento na primeira casa decimal, calcule o rendimento do ciclo e assinale a opção correta.
Provas
Considere um equipamento condicionador de ar operando segundo um ciclo de Carnot para manter um ambiente a 27ºC. A carga térmica a ser removida desse ambiente interno é de 6000W. Sabendo que o ambiente externo está a 37ºC, determine a potência mínima (em W) necessaria para acionar esse equipamento, e assinale a opção correta.
Dado:
\( T(k) = T(^oC)+273 \)
Provas
Um motor térmico desenvolve uma potência (taxa de realização de trabalho) de 480kW. A taxa de transferência de calor do reservatório de alta temperatura para o motor é de l,20MW. Determine, respectivamente, a eficiência desse motor e a taxa de transferência de calor para o ambiente (em kW), e assinale a opção correta.
Provas
Um bloco de 20kg se desloca horizontalmente a 15m/s. Um freio é acionado e imobiliza totalmente esse bloco num movimento horizontal que apresenta desaceleração constante. A energia da frenagem é integralmente transferida para 0,25kg de água que está inicialmente a 25ºC e à pressão constante de 101,3kPa (ao nível do mar). Considere que todos os processos ocorrem à pressão constante, admita que a temperatura do bloco não varie ao longo do processo e adote Cp 4,18kJ/(kg.K) como sendo o calor específico da água a 25ºC e à pressão constante. Nessas condições e utilizando o critério de arredondamento na segunda casa decimal, calcule, respectivamente, a energia dissipada devido à frenagem (em kJ) e o aumento na temperatura da água (em ºC), e assinale a opção correta.
Provas
Um pequeno fogão industrial está fechado e aceso. Dentro dele estão sendo transferidos 1800W para aquecer uniformemente um conjunto formado por 20kg de ferro fundido, 6kg de madeira de pinho e 2kg de ar. Inicialmente, esse conjunto está em equilíbrio térmico a 25ºC. A pressão local no interior do fogão é de lOOkPa e é mantida invariável. Considere constante a taxa de aumento de temperatura do referido conjunto em função do tempo e despreze os vazamentos de ar, as mudanças na massa da madeira e as perdas de calor para o ambiente. Calcule o valor aproximado do intervalo de tempo \( \Delta \)t necessário (em minutos) para o conjunto atingir 85ºC, e assinale a opção correta.
Dados: \( C_{ferro} = 420j(Kg^. K) \\ C_{madeira} = 1380j (Kg^. K) \\ C_{\pi}=717J(Kg^.K ) \)
Calores específicos (C)
Provas
Sobre mancais os tópicos às seguir, a opção de deslizamento e lubrificação, correlacione suas respectivas descrições, assinalando, a correta.
|
TÓPICOS |
DESCRIÇÕES |
| I - Grafite (lubrificante de filme sólido). | ( )Quanto menos ____________, maior será a temperatura e muito baixa será a espessura mínima de filme lubrificante. |
| II - Vazamento lateral de óleo lubrificante. |
( ) ________ é proveniente da parte inferior de um mancal (em que a pressão interna está acima da pressão atmosférica), formando um filete na junção externa munhão-bucha. |
| III- Folga radical de um mancal. |
( ) Nas situações em que mancais devem ser operados a temperaturas extremas,· para os quais os óleos minerais não são satisfatórios, deve se utilizar ________. |
|
IV - Razão comprimento- diâmetro (I/d) de um mancal. |
( ) ____ é importante para um mancal, pois todos os mancais devem ser capazes de operar, em parte do tempo, com lubrificação de filme fino. |
| V- Coeficiente de fricção (atrito) de um mancal. | ( ) _____ depende da expectativa que se tem de operar sob condições de lubrificante de filme fino ou não |
Assinale a opção que representa a sequência correta.
Provas
Com dos relação diversos às características principaís e às aplicações tipos de chavetas, analise as afirmativas abaixo.
I - A chaveta do tipo geral, especialmente se posicione contra o compartimento desse usinado adentrando a do ressalto. cabeça de quilha é de utilidade quando se deseja que uma roda um ressalto de eixo, visto que tipo de chaveta não necessita ser região de concentração de tensão do ressalto.
II - Todas as chavetas são úteis quando o carregamento principal é de cisalhamento e quando o objetivo é transmitir carga axial e torque do eixo ao elemento suportado pelo eixo. Todos os tipos de chavetas são usados para posicionamento axial, o que dispensa a necessidade de uso em conjunto com parafusos de fixação para segurar o cubo axialmente e minimizar o jogo rotacional quando o eixo gira em ambos os sentidos.
III- O uso da chaveta do tipo Woodruff (meia-lua) apresenta relativamente melhor concentricidade após a montagem da roda e do eixo. Isso é especialmente importante em altas velocidades, como ocorre com uma roda de turbina e o eixo. Esse tipo de chaveta é particularmente útil em eixos menores, cujas penetrações mais profundas contribuem para prevenir o rolamento dess~ tipo de chaveta.
Assinale a opção correta.
Provas
Com relação às contato rolante correta. características principais dos mancais de (mancais de rolamento), assinale a opção correta.
Provas
Caderno Container