Foram encontradas 50 questões.
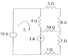
Observe a figura a seguir.

Tendo em vista o circuito representado na figura acima, calcule o valor da corrente I1 e assinale a opção correta.
Provas
Observe a figura a seguir.

Analise o circuito da figura acima e assinale a opção que apresenta o valor da resistência de TGévenin, entre os pontos A e B desse circuito.
Provas
Observe o circuito a seguir.

Tendo em vista o circuito representado na figura acima, assinale a opção que apresenta o valor da corrente IR.
Provas
Assinale a opção que apresenta a conversão do número ( 2ED) 16 para binário.
Provas
A criptografia permite transformar uma mensagem, conhecida como texto simples, por meio de uma função que é parametrizada por uma chave. A saída do processo é conhecida como texto cifrado. A ciência de ocultar uma mensagem dentro de outra, cuja denominação tem origem grega e significa "escrita cifrada'', chama-se:
Provas
É um padrão utilizado pelos provedores de telefonia fixa no qual, por meio do par metálico, é possível transmitir sinais de voz e dados, simultaneamente. Ao chegar ao local do cliente, separa-se o sinal de voz do sinal de dados por meio de um dispositivo de interface de rede. Um sinal vai para o telefone fixo e o outro para o modem de dados. Essa descrição se refere a que padrão?
Provas
São classificadas como rede, EXCETO:
Provas
Observe a equação a seguir.
\( A \ N_2H_4 + BN_2O_4 \longrightarrow CN_2 + DH_2O \)
Assinale a opção que apresenta os valores dos coeficientes que deixarão a equação acima balanceada.
Provas
A fermentação da glicose (C6H12O6) produz álcool etílico (C2H5OH), que no Brasil é utilizado como combustivel.A equação abaixo representa esse processo.
\( C_6H_{12}O_6 \xrightarrow{ fermentação} 2 C_2H_5OH + 2CO_2 \)
Assinale a opção que apresenta a quantidade de gramas de álcool etílico que é produzida a partir da fermentação de 18 Kg de glicose.
Provas
O tricloreto de fósforo (PCl3 ) pode ser preparado a partir da reação do fósforo branco (P4 ) com o cloro gasoso (Cl2 ), de acordo com a equação a seguir
\( P_4 + 6Cl_2 \longrightarrow 4PCl_3 \)
Assinale a opção que apresenta a quantidade de gramas de cloro gasoso que é necessária para reagir com 310 gramas de fósforo branco.
Provas
Caderno Container