Foram encontradas 900 questões.
Com relação ao método de fabricação dos plásticos reforçados com fibra de vidro (PRFV), denominado laminação por centrifugação, assinale a opção correta.
Provas
Assinale a opção que apresenta a denominação dada para as chapas colocadas verticalmente no fundo do navio, em cada caverna, aumentando a altura dessas cavernas na parte que se estende da quilha ao bojo.
Provas
Com relação à Norma Regulamentadora do Ministério do Trabalho e Emprego NR 26 - Sinalização de Segurança, assinale a opção correta.
Provas
Observe o gráfico "Deformação (!$ ∈ !$) x Tensão (!$ σ !$)" abaixo e assinale a opção correta.

Provas
Assinale a opção que apresenta o valor do volume de um prisma reto triangular, cujas bases paralelas iguais são formadas por triângulos equiláteros que têm as dimensões de seus lados iguais a 8 cm e altura do prisma igual a 18 cm.
Provas
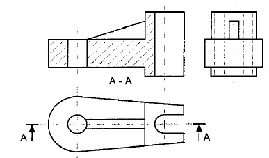
Observe as figuras a seguir.

Com base nas figuras acima, assinale a opção que apresenta a nomenclatura do corte A - A
Provas
Logo abaixo do painel, na popa, existe uma parte curva do costado do navio, que forma com ele um ângulo obtuso ou uma curvatura e que se denomina:
Provas
Para subdividir o espaço interno do casco em cada pavimento são alocadas separações verticais, que se denominam:
Provas
Assinale a opção que apresenta a denominação dada para a parte das obras vivas compreendida entre a flutuação carregada e a flutuação leve e assinalada na carena dos navios de guerra pela pintura da linha d'água.
Provas
Considere uma barra circular de aço de tensão de ruptura igual a 150 MPa, sujeita à forças axiais de 50 kN em suas duas extremidades. Com base nesses dados, calcule o valor da área de seção transversal da barra, em cm2 , supondo um coeficiente de segurança igual a 3,0, e assinale a opção correta.
Provas
Caderno Container