Foram encontradas 100 questões.
Considere que um elemento estrutural comprido e esbelto encontra-se sujeito a uma carga de compressão axial, sendo a magnitude dessa força de compressão axial grande o suficiente para provocar uma deflexão lateral do elemento estrutural. A deflexão lateral que ocorre nessa situação é denominada:·
Provas
O ensaio por líquidos penetrantes consiste em aplicar um líquido penetrante sobre a superfície de uma peça a ser ensaiada, com a finalidade de detectar descontinuidades abertas na superfície. O líquido penetrante é formado pela mistura de vários líquidos e deve apresentar uma série de características indispensáveis ao bom resultado do ensaio. Com relação ao líquido penetrante, são características que colaboram com o bom resultado do ensaio, EXCETO:
Provas
As bombas podem ser classificadas pela sua aplicação ou pela forma com que a energia é cedida ao fluido. Assinale a opção que apresenta um exemplo de uma turbobomba.
Provas
Em relação ao processo de fundição de precisão, assinale a opção correta.
Provas
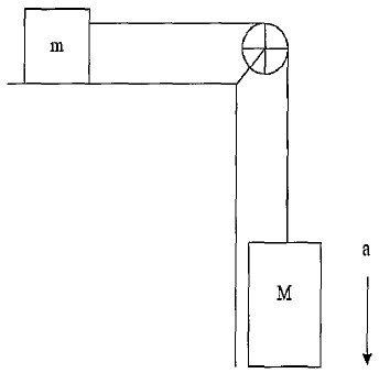
Um bloco com massa M desliza sem atrito, com uma aceleração "a". Tal bloco encontra-se conectado a outro bloco com massa m, conforme figura abaixo. Sabendo que não existe atrito no sistema e que a polia e cabo apresentam massa desprezível, assinale a opção que apresenta o valor da aceleração a.
Dado: aceleração da gravidade= g.

Provas
Um exemplo de erro de medição no paquímetro é quando a graduação do nônio não está no mesmo plano da graduação da escala principal, podendo ocorrer erros na determinação da coincidência dos traços. Para não se cometer tal erro, recomenda-se que se faça a leitura situando o paquímetro em uma posição perpendicular aos olhos. O erro de leitura supracitado trata-se do:
Provas
Observe a figura abaixo:

Considerando que as cotas estão em milímetros, determine quantos furos tem a peça e qual é o diâmetro de cada furo, respectivamente, e assinale a opção correta.
Provas
Dentre os diversos tipos de elementos de transmissão empregados em máquinas, assinale a opção que apresenta o tipo que é capaz de transmitir os maiores valores de potência.
Provas
Na soldagem oxiacetilênica, o maçarico pode fornecer diferentes tipos de chama, em função da quantidade de acetileno e de oxigênio, que são aplicáveis à soldagem de diferentes tipos de metais. A respeito dos tipos de chama, analise as afirmativas abaixo e assinale a opção correta.
I- Chama redutora é obtida pela mistura de oxigênio e menor quantidade de acetileno. Esse tipo de chama é caracterizado pela cor amarela clara e luminosa e pela zona carburante presente no dardo da chama. É usada para a soldagem de ferro fundido, alumínio, chumbo e ligas de zinco.
II- Chama neutra é formada a partir da regulagem da chama redutora, é obtida pela mistura de uma parte de gás, uma de oxigênio do maçarico e 1,5 parte de oxigênio do ar, e se caracteriza por apresentar um dardo brilhante. Ela é usada para a soldagem de cobre e todos os tipos de aços.
III- Chama oxidante é obtida a partir da chama neutra, aumentando a quantidade de acetileno e diminuindo a quantidade de oxigênio. É usada para a soldagem de aços galvanizados, latão e bronze. ·
Provas
Considerando uma função f do 2° grau, em que f(0) = 4, f(1) = 9 e f(-1) = 7, calcule f(2) e assinale a opção correta.
Provas
Caderno Container