Foram encontradas 50 questões.
Duas barras cilíndricas estão acopladas por meio do pino A, que também é cilíndrico. O acoplamento está submetido a uma carga de tração de 5 kN. As duas barras possuem diâmetro de 30 mm e o pino A possui diâmetro de 25 mm, conforme ilustra a imagem a seguir:

Qual é, aproximadamente, o valor da tensão de cisalhamento média no pino A? Considere ,!$ \pi = 3,14 !$.
Provas
Qual é a propriedade que indica o nível de deformação plástica do material até a fratura?
Provas
A figura a seguir apresenta a curva característica de uma bomba centrífuga de potência nominal de 0,5 HP, que será utilizada para circulação da água de condensação para um sistema de refrigeração. A instalação necessita de uma vazão total de 0,7 m ih de água, que deve ser elevada a uma altura de 25 m por meio de uma tubulação com perda de carga estimada em 5 m. Estão disponíveis para essa instalação duas bombas do mesmo tipo, e eras podem ser arranjadas em série, em paralelo ou usadas individualmente.

Assinale a opção que descreve a melhor instalação para as duas bombas.
Provas
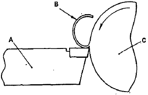
Observe a figura a seguir.

Assinale a opção que identifica corretamente A, B e C, da figura acima, respectivamente.
Provas
Com relação às ligas não ferrosas, assinale a opção que completa corretamente as lacunas da sentença abaixo. Os latões são ligas de que possuem como elemento de liga predominante.
Provas
O emprego de fluidos de corte permite uma usinagem mais eficiente, rápida e de melhor acabamento. É possível realizar corte a seco, em virtude de suas propriedades mecânicas, em qual dos materiais abaixo?
Provas
Com relação às linhas utilizadas em desenho técnico, correlacione os tipos, apresentados na figura abaixo, com seus respectivos empregos, assinalando a seguir a opção que apresenta a sequência correta.

Emprego:
( ) - Arestas e contornos invisíveis.
( ) - Seções rebatidas, peças colocadas diante do objeto representado, peças contíguas para pô-las em relação, posições variáveis ou extremas no deslocamento, excesso para usinagem.
( ) - Linhas de ruptura.
( ) - Arestas e contornos visíveis, circunferências de cabeça das engrenagens, cabeça de filetes de rosca.
( ) - Fundo de filetes de roscas, circunferência de pé das engrenagens.
( ) - Hachuras.
( ) - Linhas de chamada, cotas, hachura.
Provas

O tipo de rolamento representado na figura é:
Provas
A figura abaixo ilustra uma viga de comprimento L. A viga está engastada no ponto A e carregada com uma força P aplicada no ponto B.

Com relação a figura acima, assinale a opção correta.
Provas
Analise as afirmativas abaixo. Nos sistemas de refrigeração, o purgador tem a finalidade de:
I- remover qualquer quantidade de óleo arrastado pelo refrigerante acumulados nos separadores de óleo e dos resfriadores.
lI- remover ar e gases não condensáveis geralmente acumulados no condensador.
IlI- reduzir a temperatura do gás refrigerante entre as fases de compressão.
Assinale a opção correta.
Provas
Caderno Container