Foram encontradas 906 questões.
Certa embalagem de tinta, vendida em galões de 3,6 litros, indica que o produto deve ser diluído com solvente em 14% na primeira demão. Para um serviço de pintura feito em uma demão foi dimensionado o uso de dois galões de tinta. O volume de solvente, em litros, necessário para a execução do serviço é igual a
Provas
O meio de corrosão de metais que ocorre com maior incidência é a
Provas
Dentre outros, são EPIs − equipamentos de proteção individual − utilizados pelo pintor industrial no desenvolvimento de suas atividades:
Provas
Segundo a função desempenhada, quando aplicadas em substratos, as tintas industriais são classificadas em:
Provas
A figura abaixo representa o jato de tinta num revólver de pintura.

Num trabalho em que a aplicação de tinta foi feita com revólver de pintura observou-se que o leque resultou muito carregado e, em alguns instantes, gotejando. As prováveis causas dessa patologia são:
Provas
Peças em aço galvanizado são concebidas para proporcionar maior resistência e durabilidade. Em algumas situações a pintura aparece como opção. O uso de pintura em substrato de chapa galvanizada tem o objetivo de
Provas
Quando se executa pequenos reparos em peças de fibra de vidro, geralmente, deve-se
Provas
Nas instalações industriais, deve-se pintar os tubos para que se conheça, com facilidade, o tipo de produto que o tubo encerra em seu interior. Assim, para tubulações de ar pressurizado, água potável, esgoto e óleo, deve-se pintar os tubos, respectivamente, com as cores
Provas
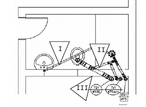
Considere o projeto abaixo.

Os diâmetros, em mm, indicados por I, II e III, devem ser, respectivamente, de
Provas
Com relação ao projeto de instalações hidráulicas, no tocante à pressão, os tubos e as conexões são denominados, respectivamente, de
Provas
Caderno Container