Foram encontradas 906 questões.
Uma carga P deve ser elevada com o auxílio de uma alavanca, conforme mostra a figura abaixo.

Se o comprimento total da alavanca é de 3l, a força F para manter o equilíbrio deve ser
Provas
Uma das técnicas para obter uma enorme redução de rotação entre dois eixos através de engrenagens é adotar o tipo
Provas
A figura abaixo representa a simbologia de um atuador com amortecimento no retorno.

A seta indica
Provas
A figura abaixo mostra uma das simbologias utilizadas em hidráulica.

Ela representa
Provas
Analise a simbologia em destaque no desenho da peça.

Tal simbologia é adotada pela norma técnica de
Provas
Parte de uma legenda encontra-se reproduzida abaixo.

Para interpretação da especificação do material da mola, o operador deverá consultar a norma técnica
Provas
A figura abaixo representa um parafuso de grampo.

Para a sua execução, após a operação de torneamento cilíndrico no diâmetro de 11 mm seguido de recartilhamento, deve-se realizar o
Provas
Peças cujas seções têm a forma de polígonos regulares são obtidas em fresadoras empregando-se o dispositivo denominado
Provas
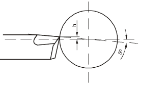
A figura abaixo mostra a posição de ataque de uma ferramenta para o torneamento de uma peça.

A altura da ferramenta de corte em relação ao eixo geométrico do torno é recomendada no processo de
Provas
Uma das práticas elementares de um mecânico consiste na identificação do tipo de material a partir da observação do aspecto da fagulha liberada por ele (material), quando desbastado pela ação de um esmeril. As figuras I e II representam o aspecto da faísca liberada pelo material quando da usinagem do centro e da periferia, respectivamente.

Analisando as figuras, é possível concluir tratar-se de uma peça
Provas
Caderno Container