Foram encontradas 906 questões.
Em uma ECDR - engrenagem cilíndrica de dentes retos, perfil envolvente, o parâmetro definido no sistema métrico como módulo é dado pela relação entre
Provas
Na afiação de uma ferramenta de aço rápido, o rebolo a ser utilizado deverá apresentar
Provas
Em uma guia de requisição de materiais, no item rebolo, foi especificado pelo técnico o código A36K6V. Neste código, a dureza do aglomerante é dada por
Provas
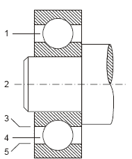
A figura abaixo representa um rolamento rígido de esferas lubrificado em banho de óleo.

Nesse caso, com o rolamento parado, a altura do óleo deve estar no nível
Provas
Um aço de fácil usinagem, caracterizado pelo alto teor de enxofre e 0,4% de carbono em sua composição química, pela norma ABNT é designado pelo número
Provas
O meio de resfriamento recomendado num processo de têmpera de uma ferramenta de aço rápido é o banho em
Provas
Em mecanismos oscilantes, com carga variável, tendo como agravante um limitado espaço radial para a montagem de apoios, deve-se optar por rolamentos
Provas
Para a usinagem de um furo em uma peça de aço macio (40 kgf/mm2), o ângulo de ponta da broca apropriado é de
Provas
O diâmetro interno do rolamento de esferas dado pela especificação 6021, em mm, é
Provas
O furo roscado mostrado em corte deverá alojar um parafuso de 10 mm de diâmetro para fixar uma placa.

Na especificação do parafuso e na linha de cota serão escritos, respectivamente,
Provas
Caderno Container