Foram encontradas 906 questões.
Muitas peças metálicas que já são fornecidas com proteção galvânica acabam sendo pintadas por cima da galvanização. Nesse contexto, considere:
I. A estética da peça é um dos principais motivos para pintura em peça galvanizada.
II. Existem ambientes muito agressivos aos metais que exigem uma camada de pintura sobre a galvanização.
III. A pintura de sinalização é outro motivo importante para que sejam aplicadas tintas por cima da camada de galvanização.
É correto o que consta em
Provas
Sobre as tintas de fundo ou primers, analise:
I. São tintas que possuem a finalidade de promover a aderência do sistema de pintura ao substrato, porém, com baixa propriedade inibidora de corrosão.
II. Os primers devem ter contato direto com a superfície metálica, possibilitando perfeita aderência ao substrato.
III. Estas tintas não foram desenvolvidas para resistirem sozinha ao meio ambiente, fazendo parte de um sistema maior de pintura.
É correto o que consta APENAS em
Provas
Sobre o uso e aplicação das tintas em pó, é INCORRETO afirmar:
Provas
Os moldes usados para moldar poliésteres reforçados com fibras de vidro podem ser feitos com diferentes materiais e técnicas de construção, dependendo das exigências dos processos e de aspectos econômicos. Neste contexto, é correto afirmar que os moldes para processos a frio podem ser feitos de
Provas
Certa parede de alvenaria de 5 m de comprimento com pé-direito de 2,7 m foi executada com pequenos defeitos de alinhamento, prumo e distorção, a partir de 1,5 m de altura. O maior defeito de prumo chega a 3 cm e o embarrigamento gerou um acréscimo de 1 cm de desvio. A estabilidade não foi comprometida. Nesse contexto, considere:
I. O emboço deverá cobrir tais defeitos, pois, como são em pequeno número, podem ser corrigidos pela massa de emboço.
II. Deve-se desmontar a parede à partir da fiada comprometida, mesmo que isso demande atraso no serviço.
III. O emboço que será executado a mais, de um lado da parede, será compensado a menos do outro lado, não trazendo prejuízos.
É correto o que consta APENAS em
Provas
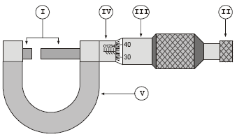
Os números I, II, III, IV e V, indicam, respectivamente,

Provas
Em relação aos procedimentos normalizados de escavação, considere:
I. Os taludes instáveis das escavações com profundidade superior a 1,25 m devem ter sua estabilidade garantida por meio de estruturas dimensionadas para este fim.
II. As escavações com mais de 1,25 m de profundidade devem dispor de escadas ou rampas.
III. Os taludes com altura superior a 1,75 m devem ter estabilidade garantida.
É correto o que consta em
Provas
Com relação às normas de segurança voltadas aos serviços de demolição, é INCORRETO afirmar:
Provas
Considere:
I. água fria, água quente, sprinklers;
II. pluviais, ventilação, esgoto;
III. hidrantes, GLP, hidropneumáticas.
Tratam-se de itens EXCLUSIVAMENTE relativos a instalações hidráulicas os dispostos APENAS em
Provas
Um aquecedor solar consiste em
Provas
Caderno Container