Foram encontradas 906 questões.
Para fazer a colagem de laminado plástico e ficarem menos visíveis os topos do laminado, deve-se fazer a colagem na seguinte seqüência:
Provas
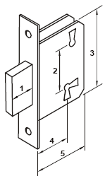
A fechadura de embutir abaixo representada mede 25mm. Essa medida está representada no desenho pelo número

Provas
Indica o acabamento de superfície com maior resistência à abrasão:
Provas
São características do laminado plástico postforming:
Provas
O parafuso mais indicado para a fixação de peças de MDF ou aglomerado é:
Provas
Na construção de estruturas de madeira utilizam-se vários tipos de junções, dentre as quais destacam-se as ligações por entalhes ou encaixes. Tais ligações sofrem o esforço de
Provas
A serra circular é uma máquina motorizada, normalmente de estrutura metálica e compõe-se basicamente de uma mesa plana, disco de serra, encostos, eixo porta serra e sistema de regulagem de altura e inclinação da serra. As principais operações executadas nessa máquina são: serrar
Provas
Um transformador ideal possui 3600 espiras no primário, 200 espiras no secundário e tensão de 110 V no primário. Então, a tensão no secundário vale, aproximadamente,
Provas
São seções nominais de condutores comerciais usados em instalações elétricas:
Provas
Para medir a corrente elétrica que passa por um fio da rede elétrica sem interrompê-lo é indicado o uso do
Provas
Caderno Container