Foram encontradas 1.540 questões.
- Espécies TributáriasImpostosImpostos Municipais/DFImposto sobre Serviços de Qualquer Natureza - ISSQN
As características (A) competência municipal, (B) cálculo baseado no faturamento e
(C) alíquota variável de acordo com o regime tributário podem ser, respectivamente,
associadas aos seguintes impostos:
Provas
Questão presente nas seguintes provas
Ao ser encarregado da construção da curva ABC de insumos de uma obra qualquer, um
orçamentista tomou como base as afirmativas abaixo. Identifique a afirmativa CORRETA.
Provas
Questão presente nas seguintes provas
A retração no concreto (A) está diretamente relacionada à relação água/cimento (B) e
ao consumo de cimento por metro cúbico de concreto (C).
Sobre a forma como A, B e C se relacionam, é possível afirmar que
Sobre a forma como A, B e C se relacionam, é possível afirmar que
Provas
Questão presente nas seguintes provas
Analise as seguintes afirmativas referentes às funções do equipamento de controle e
indicação e os requisitos que esse equipamento deve obedecer e assinale a opção
INCORRETA.
Provas
Questão presente nas seguintes provas
Considerando os requisitos mínimos de um detector de chama, analise as seguintes
afirmativas e assinale com V as verdadeiras e com F as falsas.
( ) Ter sistema óptico imune à sujeira.
( ) Ter sistema de calibração a temperatura ambiente.
( ) Ter indicação do fabricante, tipo e temperatura impressos em seu corpo.
( ) Ser resistente a impacto direto.
Assinale a alternativa que apresenta a sequência de letras CORRETA.
( ) Ter sistema óptico imune à sujeira.
( ) Ter sistema de calibração a temperatura ambiente.
( ) Ter indicação do fabricante, tipo e temperatura impressos em seu corpo.
( ) Ser resistente a impacto direto.
Assinale a alternativa que apresenta a sequência de letras CORRETA.
Provas
Questão presente nas seguintes provas
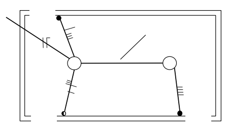
Observe esta figura. 
A figura acima representa o esquema de ligação paralela de duas lâmpadas incandescentes acionadas por dois interruptores paralelos (three-way) e um intermediário (four-way) e alimentadas por um circuito monofásico de iluminação, não aterrado.
Assinale a alternativa que fornece a função dos condutores presentes no interior do eletroduto indicado pela seta e que completam o circuito.

A figura acima representa o esquema de ligação paralela de duas lâmpadas incandescentes acionadas por dois interruptores paralelos (three-way) e um intermediário (four-way) e alimentadas por um circuito monofásico de iluminação, não aterrado.
Assinale a alternativa que fornece a função dos condutores presentes no interior do eletroduto indicado pela seta e que completam o circuito.
Provas
Questão presente nas seguintes provas
O número mínimo de tomadas de uso geral recomendado para uma cozinha de
dimensões retangulares (3x4m2
) e o somatório de suas potências são, respectivamente,
Provas
Questão presente nas seguintes provas
Os símbolos abaixo são utilizados na representação de tipos de linhas de eletricidade.
Assinale alternativa que representa cabo multipolar embutido em espaço de construção.
Assinale alternativa que representa cabo multipolar embutido em espaço de construção.
Provas
Questão presente nas seguintes provas
O projeto de um SPDA está diretamente relacionado ao nível de proteção estabelecido
para a edificação que se deseja proteger.
Os níveis de proteção atribuídos a hospitais, prédios de apartamentos, silos de armazenamento de grãos e postos de gasolina são, respectivamente,
Os níveis de proteção atribuídos a hospitais, prédios de apartamentos, silos de armazenamento de grãos e postos de gasolina são, respectivamente,
Provas
Questão presente nas seguintes provas
Observe a figura abaixo.

A figura apresenta duas situações de solicitação de um elemento estrutural.
Suponha que se deva escolher entre utilizar:
(1) uma barra, cuja seção transversal tem raio R, ou
(2) um tubo cuja seção transversal tem raio externo também igual a R e raio interno r.
Sobre as máximas tensões normais e cisalhantes desenvolvidas no elemento, é CORRETO afirmar que
Provas
Questão presente nas seguintes provas
Cadernos
Caderno Container